Купить оригинальные запчасти на подвесной двигатель Сузуки модель 1988 года - Fuel pump
вконтакте

Контактный телефон: +7 (981) 121-46-93, +7 (800) 200-90-76 , Email: parts-katalog@yandex.ru, где купить

 
 

  Логин:

Пароль:

Регистрация

www.partskatalog.ru Все каталоги Запчасти Mercury Запчасти Suzuki Запчасти Tohatsu Запчасти Honda Контакты



УВАЖАЕМЫЕ КЛИЕНТЫ!
C 19 ДЕКАБРЯ 2025 ПО 02 МАРТА 2026 ГОДА ОТДЕЛ ЗАПЧАСТЕЙ И СЕРВИС РАБОТАТЬ НЕ БУДУТ
ПРОДАЖА ЛОДОЧНЫХ МОТОРОВ В ШТАТНОМ РЕЖИМЕ
ОБ ИЗМЕНЕНИЯХ В ГРАФИКЕ РАБОТЫ ЧИТАЙТЕ НА САЙТА



назад Раздел:   вперёд

Вернуться к выбору узлов мотора


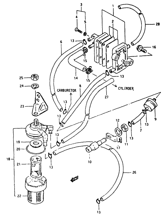
ДЕТАЛИРОВКА ДЛЯ МОДЕЛИ: SUZUKI DT5J(G/J/VZ) J

Топливный насос


Год выпуска двигателя: 1988

Регион: Япония

Цвет: Francois Whte №2,Arctic Silver

Номер на
рисунке
АртикулНаименованиеQTYКол-во
на складе
Цена
115100-98100-000

Топливный насос, в сборе - Pump Assy, Fuel (Pump Assy, Fuel)

под заказ0 руб.
115100-98110-000

   (актуальный код замены) Запчасть снята с производства - The Spare Part Is Laid Off

под заказ0 руб.
115100-98110-000

Топливный насос, в сборе - Pump Assy, Fuel (Pump Assy, Fuel)

под заказ0 руб.
215170-98810-000

Диафрагма Set, Топливный насос - Diaphragm Set, Fuel Pump (Model g/j) (Diaphragm Set, Fuel Pump)

под заказ5140 руб.
215170-98110-000

   (актуальный код замены) Диафрагма Set, Топливный насос - Diaphragm Set, Fuel Pump

2 шт5140 руб.
2SC-CR366

   (не оригинальный аналог) Ремкомплект топливного насоса Suzuki SC-CR366

под заказ670 руб.
215170-98110-000

Диафрагма Set, Топливный насос - Diaphragm Set, Fuel Pump (Diaphragm set, fuel pump ) (Diaphragm Set, Fuel Pump)

2 шт5140 руб.
2SK15170-98110

   (не оригинальный аналог) Ремкомплект топливного насоса Skipper для Suzuki DT4-8

0 шт371 руб.
215170-98100-000

Диафрагма Set, Топливный насос - Diaphragm Set, Fuel Pump (Model vz) (Diaphragm Set, Fuel Pump)

под заказ5140 руб.
215170-98110-000

   (актуальный код замены) Диафрагма Set, Топливный насос - Diaphragm Set, Fuel Pump

2 шт5140 руб.
215170-98110-000

Диафрагма Set, Топливный насос - Diaphragm Set, Fuel Pump (Diaphragm set, fuel pump ) (Diaphragm Set, Fuel Pump)

2 шт5140 руб.
2SK15170-98110

   (не оригинальный аналог) Ремкомплект топливного насоса Skipper для Suzuki DT4-8

0 шт371 руб.
315251-98101-000

Винт, Топливный насос - Screw, Fuel Pump (Screw, Fuel Pump)

под заказ0 руб.
415251-98100-000

Винт, Топливный насос - Screw, Fuel Pump (To 15251-98101) (Screw, Fuel Pump)

под заказ0 руб.
415251-98101-000

   (актуальный код замены) Запчасть снята с производства - The Spare Part Is Laid Off

под заказ0 руб.
415251-98101-000

Винт, Топливный насос - Screw, Fuel Pump (Screw, Fuel Pump)

под заказ0 руб.
515252-98100-000

Запчасть снята с производства - The Spare Part Is Laid Off (To 15251-98101) (The Spare Part Is Laid Off)

под заказ0 руб.
915410-98500-000

Топливный фильтр - Filter, Fuel (Filter assy, fuel # Filter, fuel; Ref.no.18->dt8 e9, e13 ) (Filter, Fuel)

40 шт1600 руб.
915410-98500

   (не оригинальный аналог) Топливный фильтр Suzuki 15410-98500

под заказ590 руб.
1065720-98501-000

Разъем топливного коннектора - Plug, Fuel Connector (To 65720-98502, model g) (Plug, Fuel Connector)

под заказ3170 руб.
1065720-985L1-000

   (актуальный код замены) Разъем топливного коннектора - Plug, Fuel Connector

5 шт3950 руб.
10SF80210-1

   (не оригинальный аналог) Адаптер топливный SUNFINE тип Suzuki, 7.5мм, 6720-98521

под заказ1270 руб.
1065720-985L1-000

Разъем топливного коннектора - Plug, Fuel Connector (Plug, Fuel Connector)

5 шт3950 руб.
1065720-98502-000

Разъем топливного коннектора - Plug, Fuel Connector (To 65720-98520) (Plug, Fuel Connector)

под заказ3170 руб.
1065720-985L1-000

   (актуальный код замены) Разъем топливного коннектора - Plug, Fuel Connector

5 шт3950 руб.
1065720-985L1-000

Разъем топливного коннектора - Plug, Fuel Connector (Plug, Fuel Connector)

5 шт3950 руб.
1065720-98520-000

Разъем топливного коннектора - Plug, Fuel Connector (Plug, fuel connector; (sus)) (Plug, Fuel Connector)

под заказ3170 руб.
1065720-985L1-000

   (актуальный код замены) Разъем топливного коннектора - Plug, Fuel Connector

5 шт3950 руб.
10SK65720-98520

   (не оригинальный аналог) Коннектор топливный Skipper для Suzuki DT2-65, DF9.9-15 "папа", 6 мм

0 шт836 руб.
1065720-985L1-000

Разъем топливного коннектора - Plug, Fuel Connector (Plug, Fuel Connector)

5 шт3950 руб.
1108310-22108-000

Гайка - Nut (Nut)

под заказ170 руб.
1108310-00107-000

   (актуальный код замены) Гайка - Nut

под заказ170 руб.
1108310-00107-000

Гайка - Nut (Nut)

под заказ170 руб.
1208321-21108-000

Шайба с блокировкой - Washer, Lock (Dt5g, dt8 (model g, j, vz)) (Washer, Lock)

под заказ140 руб.
1208321-01107-000

   (актуальный код замены) Шайба с блокировкой - Washer, Lock

9 шт140 руб.
1208321-01107-000

Шайба с блокировкой - Washer, Lock (Lock washer ) (Washer, Lock)

9 шт140 руб.
1309401-09402-000

Зажим - Clip (Clip)

под заказ130 руб.
1309401-08410-000

   (актуальный код замены) Зажим - Clip

под заказ130 руб.
1309401-08410-000

Зажим - Clip (Clip)

под заказ130 руб.
1415311-98100-000

Запчасть снята с производства - The Spare Part Is Laid Off (The Spare Part Is Laid Off)

под заказ0 руб.
1601517-06208-000

Болт - Bolt (Bolt)

под заказ180 руб.
1601550-06207-000

   (актуальный код замены) Болт - Bolt

17 шт220 руб.
1601550-06207-000

Болт - Bolt (Bolt)

17 шт220 руб.
1713635-98500-000

Запчасть снята с производства - The Spare Part Is Laid Off (The Spare Part Is Laid Off)

под заказ0 руб.
1713635-98502-000

   (актуальный код замены) Запчасть снята с производства - The Spare Part Is Laid Off

под заказ0 руб.
1815410-93400-000

Топливный фильтр в сборе - Filter Assy, Fuel (E9, e13, e40) (Filter Assy, Fuel)

под заказ2280 руб.
1815410-94401-000

   (актуальный код замены) Топливный фильтр в сборе - Filter Assy, Fuel

32 шт2280 руб.
1815410-94400-000

Топливный фильтр в сборе - Filter Assy, Fuel (Filter Assy, Fuel)

3 шт2280 руб.
1815410-94401-000

   (актуальный код замены) Топливный фильтр в сборе - Filter Assy, Fuel

32 шт2280 руб.
1915416-93400-000

Запчасть снята с производства - The Spare Part Is Laid Off (E9, e13, e40) (The Spare Part Is Laid Off)

под заказ0 руб.
2015415-93400-000

Уплотнительное кольцо - O Ring (O ring # E9, e13, e40 ) (O Ring)

под заказ290 руб.
2115412-93400-000

Фильтр Set - Filter Set (E9, e13, e40) (Filter Set)

под заказ1360 руб.
2115430-93412-000

   (актуальный код замены) Фильтр Set - Filter Set

под заказ1360 руб.
2115430-93410-000

Фильтр Set - Filter Set (Strainer set ) (Filter Set)

под заказ1360 руб.
2115430-93412-000

   (актуальный код замены) Фильтр Set - Filter Set

под заказ1360 руб.
2215413-93400-000

Cвыше - Cup (Cup # E9, e13, e40 ) (Cup)

под заказ0 руб.
2315421-98100-000

Кронштейн топливного фильтра - Bracket, Fuel Filter (E9, e13, e40) (Bracket, Fuel Filter)

под заказ350 руб.
2315421-98101-000

   (актуальный код замены) Кронштейн топливного фильтра - Bracket, Fuel Filter

под заказ350 руб.
2315421-98101-000

Кронштейн топливного фильтра - Bracket, Fuel Filter (Bracket, Fuel Filter)

под заказ350 руб.
2408321-21088-000

Шайба с блокировкой - Washer, Lock (E9, e13, e40) (Washer, Lock)

под заказ140 руб.
2408321-01087-000

   (актуальный код замены) Шайба с блокировкой - Washer, Lock

под заказ140 руб.
2408321-01087-000

Шайба с блокировкой - Washer, Lock (Washer, lock ) (Washer, Lock)

под заказ140 руб.
2508310-22088-000

Гайка - Nut (E9, e13, e40) (Nut)

под заказ140 руб.
2508310-00087-000

   (актуальный код замены) Гайка - Nut

под заказ140 руб.
2508310-00087-000

Гайка - Nut (Nut)

под заказ140 руб.


Время выполнения запроса 2.1521039009094 сек.

 
 

данный сайт носит информационный характер и не является публичной офертой

склад запчастей для водомоторной техники