| |
 |
|
 |
Вернуться к выбору узлов мотора
ДЕТАЛИРОВКА ДЛЯ МОДЕЛИ: SUZUKI DT5SK(G-Y) K
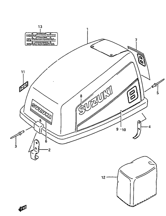
Крышка двигателя (капот)
Год выпуска двигателя: 1989
Регион: General Export No.1 ,Код региона: P01
Цвет: Francois Whte №2,Arctic Silver
Номер на рисунке | Артикул | Наименование | QTY | Кол-во на складе | Цена |
| 1 | 61410-98104-0ED | Запчасть снята с производства - The Spare Part Is Laid Off (The Spare Part Is Laid Off) | | под заказ | 0 руб. |
| 2 | 61412-94300-000 | Крючок капота двигателя - Hook, Engine Cover (Hook, engine cover ) (Hook, Engine Cover) | | под заказ | 0 руб. |
| 3 | 09229-04018-000 | Запчасть снята с производства - The Spare Part Is Laid Off (The Spare Part Is Laid Off) | | под заказ | 180 руб. |
| 4 | 61611-93000-000 | Защелка, Крышка - Fastener, Cover (Fastener, Cover) | | под заказ | 0 руб. |
| 5 | 09229-04007-000 | Заклёпка - Rivet (Rivet) | | под заказ | 0 руб. |
| 6 | 61422-93960-70G | Запчасть снята с производства - The Spare Part Is Laid Off (Mark, emblem front;) (The Spare Part Is Laid Off) | | под заказ | 0 руб. |
| 7 | 61435-98140-70G | Запчасть снята с производства - The Spare Part Is Laid Off (-model:88) (The Spare Part Is Laid Off) | | под заказ | 0 руб. |
| 7 | 61435-99150-70G | Запчасть снята с производства - The Spare Part Is Laid Off (Model:89-93) (The Spare Part Is Laid Off) | | под заказ | 0 руб. |
| 8 | 68111-47C00-019 | Эмблема - Emblem (Emblem, suzuki; -model:88) (Emblem) | | под заказ | 1560 руб. |
| 8 | 68111-47C10-019 | (актуальный код замены) Эмблема - Emblem | | под заказ | 1560 руб. |
| 8 | 68111-47C10-019 | Эмблема - Emblem (Emblem) | | под заказ | 1560 руб. |
| 8 | 61441-98620-000 | Запчасть снята с производства - The Spare Part Is Laid Off (Model:89-93) (The Spare Part Is Laid Off) | | под заказ | 0 руб. |
| 9 | 61443-99180-70G | Запчасть снята с производства - The Spare Part Is Laid Off (The Spare Part Is Laid Off) | | под заказ | 0 руб. |
| 10 | 61453-99180-70G | Запчасть снята с производства - The Spare Part Is Laid Off (The Spare Part Is Laid Off) | | под заказ | 0 руб. |
| 11 | 21131-96003-000 | Маркировка переключателя сцепления - Mark, Clutch Shift (Mark, Clutch Shift) | | под заказ | 160 руб. |
| 11 | 21131-91J00-YAY | (актуальный код замены) Маркировка переключателя сцепления - Mark, Clutch Shift | | 2 шт | 160 руб. |
| 11 | 21131-96010-000 | Маркировка переключателя сцепления - Mark, Clutch Shift (Mark, shift ) (Mark, Clutch Shift) | | под заказ | 160 руб. |
| 11 | 21131-91J00-YAY | (актуальный код замены) Маркировка переключателя сцепления - Mark, Clutch Shift | | 2 шт | 160 руб. |
| 12 | 68110-96110-000 | Крышка двигателя (капот) - Engine Cover (Opt ) (Engine Cover) | | под заказ | 0 руб. |
| 13 | 61582-98100-000 | Маркировка, Warning - Mark, Warning (Mark, warning; ) (Mark, Warning) | | под заказ | 0 руб. |
Время выполнения запроса 1.8761110305786 сек. |
|