| |
 |
|
 |
Вернуться к выбору узлов мотора
ДЕТАЛИРОВКА ДЛЯ МОДЕЛИ: SUZUKI DT5SM(G-Y) M
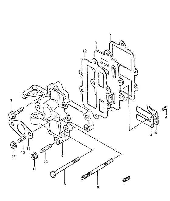
Язычковый клапан
Год выпуска двигателя: 1991
Регион: General Export No.1 ,Код региона: P01
Цвет: California Gray Metallic
Номер на рисунке | Артикул | Наименование | QTY | Кол-во на складе | Цена |
| 1 | 13150-98501-000 | Запчасть снята с производства - The Spare Part Is Laid Off (The Spare Part Is Laid Off) | | под заказ | 0 руб. |
| 2 | 13152-19010-000 | Стопор язычкового клапана - Stopper, Reed Valve (Stopper, reed valve ) (Stopper, Reed Valve) | | под заказ | 690 руб. |
| 3 | 13153-19012-000 | Язычковый клапан - Valve, Reed (Valve, reed ) (Valve, Reed) | | под заказ | 970 руб. |
| 4 | 02112-33063-000 | Винт - Screw (Screw) | | под заказ | 140 руб. |
| 4 | 02112-3306A-000 | (актуальный код замены) Винт - Screw | | под заказ | 140 руб. |
| 4 | 02112-3306A-000 | Винт - Screw (Screw) | | под заказ | 140 руб. |
| 5 | 13122-98510-000 | Прокладка седла клапана - Gasket, Valve Seat (Gasket, valve seat # Gasket, valve seat; ) (Gasket, Valve Seat) | | под заказ | 0 руб. |
| 6 | 13111-98501-0ED | Запчасть снята с производства - The Spare Part Is Laid Off (Case (gray);) (The Spare Part Is Laid Off) | | под заказ | 0 руб. |
| 7 | 01550-06257-000 | Болт - Bolt (Bolt) | | под заказ | 180 руб. |
| 8 | 01550-06607-000 | Болт - Bolt (E7, e13, e38, e40 ) (Bolt) | | под заказ | 260 руб. |
| 9 | 01411-06552-000 | Болт под шпильку - Bolt, Stud (Bolt, Stud) | | под заказ | 150 руб. |
| 9 | 01411-0655C-000 | (актуальный код замены) Болт под шпильку - Bolt, Stud | | под заказ | 150 руб. |
| 9 | 01411-0655C-000 | Болт под шпильку - Bolt, Stud (Bolt, Stud) | | под заказ | 150 руб. |
| 11 | 08316-10067-000 | Гайка - Nut (Nut) | | под заказ | 170 руб. |
| 12 | 13121-98510-000 | Прокладка, вход Case - Gasket, Inlet Case (Gasket, inlet case ) (Gasket, Inlet Case) | | под заказ | 0 руб. |
| 13 | 01411-06252-000 | Болт под шпильку - Bolt, Stud (Bolt, Stud) | | под заказ | 130 руб. |
| 13 | 01411-0625C-000 | (актуальный код замены) Болт под шпильку - Bolt, Stud | | под заказ | 130 руб. |
| 14 | 13125-98310-000 | Прокладка карбюратора - Gasket, Carburetor (Gasket, carburetor ) (Gasket, Carburetor) | | 1 шт | 400 руб. |
| 15 | 01421-06162-000 | Болт под шпильку - Bolt, Stud (Bolt, Stud) | | под заказ | 150 руб. |
| 15 | 01421-0616C-000 | (актуальный код замены) Болт под шпильку - Bolt, Stud | | под заказ | 150 руб. |
| 15 | 01421-0616C-000 | Болт под шпильку - Bolt, Stud (Bolt, Stud) | | под заказ | 150 руб. |
| 16 | 08316-10067-000 | Гайка - Nut (Nut) | | под заказ | 170 руб. |
Время выполнения запроса 1.3011479377747 сек. |
|