| |
 |
|
 |
Вернуться к выбору узлов мотора
ДЕТАЛИРОВКА ДЛЯ МОДЕЛИ: SUZUKI DT5SP(G-Y) P
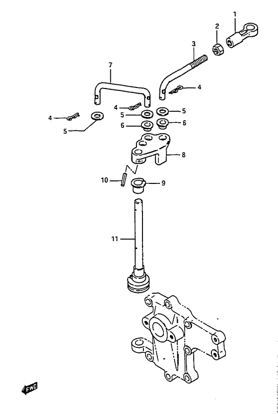
Управление дросселем
Год выпуска двигателя: 1993
Регион: General Export No.1 ,Код региона: P01
Цвет: California Gray Metallic
Номер на рисунке | Артикул | Наименование | QTY | Кол-во на складе | Цена |
| 1 | 67463-95200-000 | Коннектор тяги управления дросселем - Connector, Throttle Control (Connector, throttle rod ) (Connector, Throttle Control) | | под заказ | 340 руб. |
| 2 | 09140-05005-000 | Гайка - Nut (Nut) | | 10 шт | 270 руб. |
| 3 | 19171-98101-000 | Соединитель, Стартер - Link, Starter (Link, Starter) | | под заказ | 0 руб. |
| 4 | 09385-05004-000 | Штифт, Защелка - Pin, Snap (Pin, Snap) | | под заказ | 100 руб. |
| 5 | 09160-05029-000 | Шайба (5.5x12x0.8) - Washer (55x12x08) (Washer (5.5x12x0.8)) | | 14 шт | 130 руб. |
| 6 | 09306-05002-000 | Запчасть снята с производства - The Spare Part Is Laid Off (The Spare Part Is Laid Off) | | под заказ | 0 руб. |
| 7 | 19111-98501-000 | Тяга дросселя - Link, Throttle (Dt5 -model:94 ) (Link, Throttle) | | под заказ | 900 руб. |
| 7 | 19111-98110-000 | Тяга дросселя - Link, Throttle (Dt5 model:95-98 ) (Link, Throttle) | | под заказ | 0 руб. |
| 7 | 19111-98103-000 | Тяга дросселя - Link, Throttle (Dt8 ) (Link, Throttle) | | под заказ | 0 руб. |
| 8 | 19181-98120-000 | Рычаг дросселя - Lever, Throttle (Lever, Throttle) | | под заказ | 830 руб. |
| 9 | 63225-93200-000 | Втулка тяги румпеля - Bush, Handle Rod (Bush, handle rod # Bushing; ) (Bush, Handle Rod) | | 14 шт | 480 руб. |
| 10 | 63227-93200-000 | Штифт, Handle Тяга - Pin, Handle Rod (Pin, handle rod ) (Pin, Handle Rod) | | под заказ | 220 руб. |
| 11 | 19110-98500-000 | Запчасть снята с производства - The Spare Part Is Laid Off (Dt5 -model:94) (The Spare Part Is Laid Off) | | под заказ | 0 руб. |
| 11 | 19110-98100-000 | Рычаг дросселя Вал - Lever, Throttle Shaft (Shaft, throttle lever # Shaft, throttle lever; Dt6/dt8, dt5 model:95-98 ) (Lever, Throttle Shaft) | | под заказ | 0 руб. |
Время выполнения запроса 0.99358797073364 сек. |
|