| |
 |
|
 |
Вернуться к выбору узлов мотора
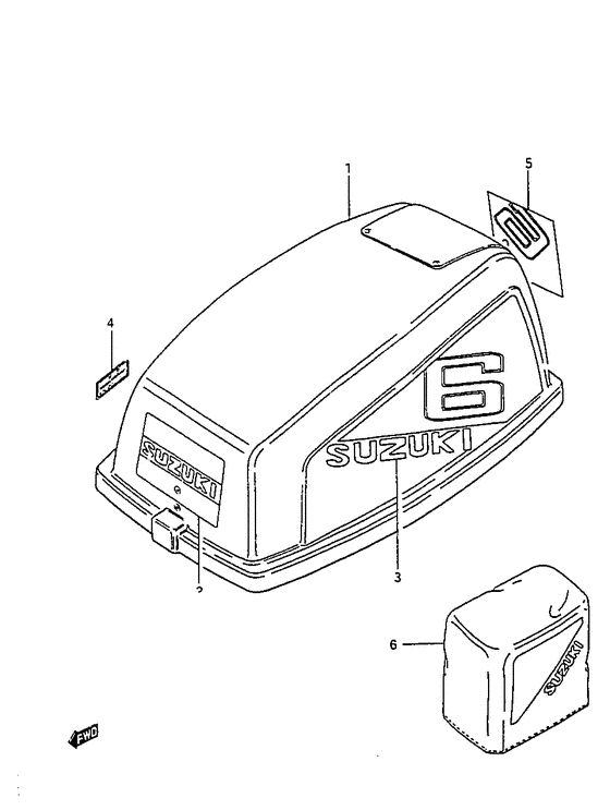
ДЕТАЛИРОВКА ДЛЯ МОДЕЛИ: SUZUKI DT5S(G-Y) S
Крышка двигателя (капот)
Год выпуска двигателя: 1995
Регион: General Export No.1 ,Код региона: P01
Цвет: California Gray Metallic
Номер на рисунке | Артикул | Наименование | QTY | Кол-во на складе | Цена |
| 1 | 61410-98104-0ED | Запчасть снята с производства - The Spare Part Is Laid Off (Cover set, engine;) (The Spare Part Is Laid Off) | | под заказ | 0 руб. |
| 2 | 61422-98571-000 | Запчасть снята с производства - The Spare Part Is Laid Off (The Spare Part Is Laid Off) | | под заказ | 0 руб. |
| 3 | 68111-47C00-019 | Эмблема - Emblem (Emblem, side;) (Emblem) | | под заказ | 1560 руб. |
| 3 | 68111-47C10-019 | (актуальный код замены) Эмблема - Emblem | | под заказ | 1560 руб. |
| 3 | 68111-47C10-019 | Эмблема - Emblem (Emblem) | | под заказ | 1560 руб. |
| 4 | 21131-96003-000 | Маркировка переключателя сцепления - Mark, Clutch Shift (Mark, Clutch Shift) | | под заказ | 160 руб. |
| 4 | 21131-91J00-YAY | (актуальный код замены) Маркировка переключателя сцепления - Mark, Clutch Shift | | 2 шт | 160 руб. |
| 4 | 21131-96010-000 | Маркировка переключателя сцепления - Mark, Clutch Shift (Mark, shift ) (Mark, Clutch Shift) | | под заказ | 160 руб. |
| 4 | 21131-91J00-YAY | (актуальный код замены) Маркировка переключателя сцепления - Mark, Clutch Shift | | 2 шт | 160 руб. |
| 5 | 61435-98180-000 | Запчасть снята с производства - The Spare Part Is Laid Off (The Spare Part Is Laid Off) | | под заказ | 0 руб. |
| 6 | 68110-96110-000 | Крышка двигателя (капот) - Engine Cover (Opt ) (Engine Cover) | | под заказ | 0 руб. |
Время выполнения запроса 0.56898212432861 сек. |
|