| |
 |
|
 |
Вернуться к выбору узлов мотора
ДЕТАЛИРОВКА ДЛЯ МОДЕЛИ: SUZUKI DT5S T
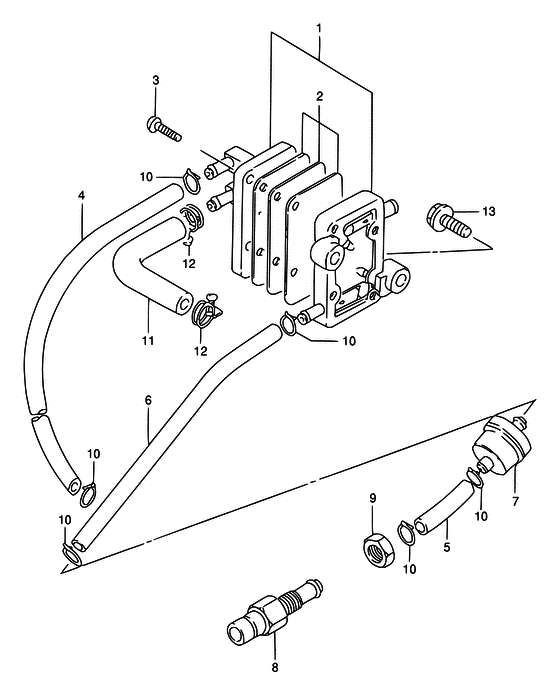
Топливный насос
Год выпуска двигателя: 1996
Регион: General Export No.1 ,Код региона: P01
Цвет: California Gray Metallic
Номер на рисунке | Артикул | Наименование | QTY | Кол-во на складе | Цена |
| 1 | 15100-98110-000 | Топливный насос, в сборе - Pump Assy, Fuel (<-5100-98100 ) (Pump Assy, Fuel) | | под заказ | 0 руб. |
| 2 | 15170-98110-000 | Диафрагма Set, Топливный насос - Diaphragm Set, Fuel Pump (Diaphragm set, fuel pump # <-5170-98100 ) (Diaphragm Set, Fuel Pump) | | 2 шт | 5140 руб. |
| 2 | SK15170-98110 | (не оригинальный аналог) Ремкомплект топливного насоса Skipper для Suzuki DT4-8 | | 0 шт | 371 руб. |
| 2 | SC-CR366 | (не оригинальный аналог) Ремкомплект топливного насоса Suzuki SC-CR366 | | под заказ | 670 руб. |
| 3 | 15251-98101-000 | Винт, Топливный насос - Screw, Fuel Pump (Screw, Fuel Pump) | | под заказ | 0 руб. |
| 4 | 09352-50903-600 | Шланг (5x9x600) - Hose (5x9x600) (L:600->40 <-9343-05277 ) (Hose (5x9x600)) | | под заказ | 570 руб. |
| 4 | 09352-50006-600 | (актуальный код замены) Шланг (5x9x600) - Hose (5x9x600) | | 1 шт | 570 руб. |
| 5 | 09352-50903-600 | Шланг (5x9x600) - Hose (5x9x600) (L:600->5 <-9343-05277 ) (Hose (5x9x600)) | | под заказ | 570 руб. |
| 5 | 09352-50006-600 | (актуальный код замены) Шланг (5x9x600) - Hose (5x9x600) | | 1 шт | 570 руб. |
| 6 | 09352-50903-600 | Шланг (5x9x600) - Hose (5x9x600) (MODEL:86, 87 L:600->95 <-9343-05277 ) (Hose (5x9x600)) | | под заказ | 570 руб. |
| 6 | 09352-50006-600 | (актуальный код замены) Шланг (5x9x600) - Hose (5x9x600) | | 1 шт | 570 руб. |
| 7 | 15410-98500-000 | Топливный фильтр - Filter, Fuel (Filter assy, fuel ) (Filter, Fuel) | | 40 шт | 1600 руб. |
| 7 | 15410-98500 | (не оригинальный аналог) Топливный фильтр Suzuki 15410-98500 | | под заказ | 590 руб. |
| 8 | 65720-98520-000 | Разъем топливного коннектора - Plug, Fuel Connector (MODEL:86, 87) (Plug, Fuel Connector) | | под заказ | 3170 руб. |
| 8 | 65720-985L1-000 | (актуальный код замены) Разъем топливного коннектора - Plug, Fuel Connector | | 5 шт | 3950 руб. |
| 8 | SK65720-98520 | (не оригинальный аналог) Коннектор топливный Skipper для Suzuki DT2-65, DF9.9-15 "папа", 6 мм | | 0 шт | 836 руб. |
| 8 | SF80210-1 | (не оригинальный аналог) Адаптер топливный SUNFINE тип Suzuki, 7.5мм, 6720-98521 | | под заказ | 1270 руб. |
| 8 | 65720-985L1-000 | Разъем топливного коннектора - Plug, Fuel Connector (Plug, Fuel Connector) | | 5 шт | 3950 руб. |
| 9 | 08310-00107-000 | Гайка - Nut (Nut) | | под заказ | 170 руб. |
| 10 | 09401-08410-000 | Зажим - Clip (Clip) | | под заказ | 130 руб. |
| 11 | 15311-98100-000 | Запчасть снята с производства - The Spare Part Is Laid Off (The Spare Part Is Laid Off) | | под заказ | 0 руб. |
| 12 | 09400-13302-000 | Струбцина - Clamp (Clamp, vacuum hose (13phi) ) (Clamp) | | под заказ | 0 руб. |
| 13 | 01550-06207-000 | Болт - Bolt (Bolt) | | 17 шт | 220 руб. |
Время выполнения запроса 0.62980699539185 сек. |
|