Найти запчасти на подвесной двигатель Suzuki модель 1997 года - Starter
вконтакте

Контактный телефон: +7 (981) 121-46-93, +7 (800) 200-90-76 , Email: parts-katalog@yandex.ru, где купить

 
 

  Логин:

Пароль:

Регистрация

www.partskatalog.ru Все каталоги Запчасти Mercury Запчасти Suzuki Запчасти Tohatsu Запчасти Honda Контакты



УВАЖАЕМЫЕ КЛИЕНТЫ!
C 19 ДЕКАБРЯ 2025 ПО 02 МАРТА 2026 ГОДА ОТДЕЛ ЗАПЧАСТЕЙ И СЕРВИС РАБОТАТЬ НЕ БУДУТ
ПРОДАЖА ЛОДОЧНЫХ МОТОРОВ В ШТАТНОМ РЕЖИМЕ
ОБ ИЗМЕНЕНИЯХ В ГРАФИКЕ РАБОТЫ ЧИТАЙТЕ НА САЙТА



назад Раздел:   вперёд

Вернуться к выбору узлов мотора


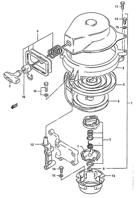
ДЕТАЛИРОВКА ДЛЯ МОДЕЛИ: SUZUKI DT5SV(G-Y) V

Стартер


Год выпуска двигателя: 1997

Номер на
рисунке
АртикулНаименованиеQTYКол-во
на складе
Цена
118100-98120-291

Запчасть снята с производства - The Spare Part Is Laid Off (The Spare Part Is Laid Off)

под заказ0 руб.
218210-93500-000

Рукоятка - Grip (Grip assy; ) (Grip)

под заказ0 руб.
318130-98120-000

Запчасть снята с производства - The Spare Part Is Laid Off (The Spare Part Is Laid Off)

под заказ0 руб.
418190-98120-000

Направляющая Set - Guide Set (Guide Set)

под заказ4320 руб.
518142-98310-000

Барабанная пружина - Spring, Recoil (Spring, Recoil)

под заказ0 руб.
618121-98310-000

Барабан - Reel (Reel)

под заказ3630 руб.
718151-98320-000

Пластина трения - Plate, Friction (Plate, Friction)

под заказ380 руб.
818178-98310-000

Стопорное кольцо - Circlip (Circlip ) (Circlip)

под заказ100 руб.
914312-98100-0ED

Запчасть снята с производства - The Spare Part Is Laid Off (The Spare Part Is Laid Off)

под заказ0 руб.
1001550-06357-000

Болт - Bolt (Bolt, throttle lever no.2 # Bolt (6x35); ) (Bolt)

9 шт210 руб.
1109117-06046-000

Запчасть снята с производства - The Spare Part Is Laid Off (Bolt (6x20);) (The Spare Part Is Laid Off)

под заказ0 руб.
1218711-98500-0ED

Запчасть снята с производства - The Spare Part Is Laid Off (Dt5) (The Spare Part Is Laid Off)

под заказ0 руб.
1218711-98100-0ED

Brace, Барабанный стартер - Brace, Recoil Starter (Brace, recoil starter # Dt6/8 ) (Brace, Recoil Starter)

под заказ2120 руб.
1318411-98100-000

Запчасть снята с производства - The Spare Part Is Laid Off (The Spare Part Is Laid Off)

под заказ0 руб.
1401570-06127-000

Болт - Bolt (Bolt, remocon cable stopper ) (Bolt)

под заказ190 руб.
1508321-01067-000

Шайба с блокировкой - Washer, Lock (Washer, Lock)

под заказ140 руб.
1699000-81158-50M

Шнур стартера 5 ммdia, 50m Role - Starter Rope 5mmdia, 50m Role (Opt, l:50000->1500 ) (Starter Rope 5mmdia, 50m Role)

1 шт23090 руб.


Время выполнения запроса 1.306324005127 сек.

 
 

данный сайт носит информационный характер и не является публичной офертой

склад запчастей для водомоторной техники