Подобрать оригинальные запчасти на лодочный мотор Suzuki - Коленвал
вконтакте

Контактный телефон: +7 (981) 121-46-93, +7 (800) 200-90-76 , Email: parts-katalog@yandex.ru, где купить

 
 

  Логин:

Пароль:

Регистрация

www.partskatalog.ru Все каталоги Запчасти Mercury Запчасти Suzuki Запчасти Tohatsu Запчасти Honda Контакты



УВАЖАЕМЫЕ КЛИЕНТЫ!
C 19 ДЕКАБРЯ 2025 ПО 02 МАРТА 2026 ГОДА ОТДЕЛ ЗАПЧАСТЕЙ И СЕРВИС РАБОТАТЬ НЕ БУДУТ
ПРОДАЖА ЛОДОЧНЫХ МОТОРОВ В ШТАТНОМ РЕЖИМЕ
ОБ ИЗМЕНЕНИЯХ В ГРАФИКЕ РАБОТЫ ЧИТАЙТЕ НА САЙТА



назад Раздел:   вперёд

Вернуться к выбору узлов мотора


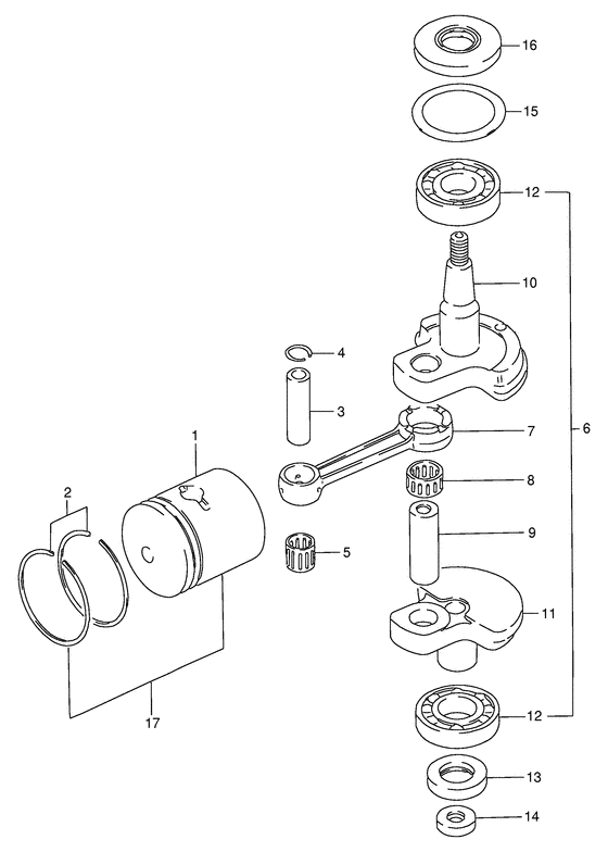
ДЕТАЛИРОВКА ДЛЯ МОДЕЛИ: SUZUKI DT5YX(E1) X

Коленвал


Год выпуска двигателя: 1999

Регион: General Export No.1 ,Код региона: P01

Цвет: California Gray Metallic

Номер на
рисунке
АртикулНаименованиеQTYКол-во
на складе
Цена
112110-986A0-000

Поршень - Piston (Piston)

под заказ16130 руб.
112110-986B0-000

   (актуальный код замены) Поршень - Piston

1 шт16130 руб.
112110-986B0-000

Поршень - Piston (Piston)

1 шт16130 руб.
212140-986A0-000

Поршневые кольца - Ring Set, Piston (Ring set, piston ) (Ring Set, Piston)

под заказ4590 руб.
312151-90600-000

Поршневой палец - Pin, Piston (Pin, Piston)

6 шт650 руб.
409381-12001-000

Пружинное кольцо - Ring, Snap (Circlip # Circlip, piston pin; ) (Ring, Snap)

6 шт120 руб.
509263-12023-000

Подшипник (12x16x16) - Bearing (12x16x16) (Bearing (12x16x15.8) # Bearing, piston pin; ) (Bearing (12x16x16))

5 шт1030 руб.
612200-986A0-000

Коленвал в сборе - Crankshaft Assy (Crankshaft Assy)

под заказ0 руб.
712161-98602-000

Шатун - Rod, Connecting (Rod, connecting ) (Rod, Connecting)

под заказ7640 руб.
809263-17022-000

Подшипник (17x23x14) - Bearing (17x23x14) (Bearing, crank pin # Bearing, crank pin; ) (Bearing (17x23x14))

под заказ2210 руб.
912211-96001-000

Штифт кривошипа - Pin, Crank (Pin, crank; ) (Pin, Crank)

3 шт2670 руб.
1012221-986A0-000

Коленвал, вышеr - Crankshaft, Upr (Crankshaft, upper ) (Crankshaft, Upr)

под заказ0 руб.
1112240-986A0-000

Коленвал, Under - Crankshaft, Under (Crankshaft, under ) (Crankshaft, Under)

под заказ0 руб.
1209262-20069-000

Подшипник (20x47x14) - Bearing (20x47x14) (Bearing (20x47x14))

3 шт2160 руб.
1262048HKOYO

   (подбор по маркировке) Подшипник NSK 6204(20*47*14 мм)

под заказ0
1309283-20018-000

Сальник (20x37x9) - Seal, Oil (20x37x9) (Oil seal (20x37x9); ) (Seal, Oil (20x37x9))

7 шт1110 руб.
1309283-20072-000

   (актуальный код замены) Сальник (20x37x9) - Seal, Oil (20x37x9)

2 шт1110 руб.
13SC-OL073

   (не оригинальный аналог) Сальник коленвала Suzuki SC-OL073

под заказ240 руб.
1409283-10003-000

Сальник (10x22x6) - Seal, Oil (10x22x6) (Oil seal, upper drive shaft # Oil seal, drive shaft upper; ) (Seal, Oil (10x22x6))

19 шт800 руб.
1509160-38001-000

Шайба (38x51x1) - Washer (38x51x1) (Thrust washer (38x51x1); ) (Washer (38x51x1))

под заказ0 руб.
1609283-20045-000

Сальник (20x47x8) - Seal, Oil (20x47x8) (Oil seal ) (Seal, Oil (20x47x8))

14 шт980 руб.
1712100-986A0-025

Комплект поршня (os: 0.25) - Piston Set (os:025) (Piston/ring set (os:0.25); Opt) (Piston Set (os:0.25))

под заказ0 руб.
1712100-986B0-025

   (актуальный код замены) Запчасть снята с производства - The Spare Part Is Laid Off

под заказ0 руб.
1712100-986B0-025

Комплект поршня (os: 0.25) - Piston Set (os:025) (Piston Set (os:0.25))

под заказ0 руб.
1712100-986A0-050

Комплект поршня (os: 0.5) - Piston Set (os:05) (Piston/ring set (os:0.50); Opt) (Piston Set (os:0.5))

под заказ0 руб.
1712100-986B0-050

   (актуальный код замены) Запчасть снята с производства - The Spare Part Is Laid Off

под заказ0 руб.
1712100-986B0-050

Комплект поршня (os: 0.5) - Piston Set (os:05) (Piston Set (os:0.5))

под заказ0 руб.


Время выполнения запроса 1.8883740901947 сек.

 
 

данный сайт носит информационный характер и не является публичной офертой

склад запчастей для водомоторной техники