| |
 |
|
 |
Вернуться к выбору узлов мотора
ДЕТАЛИРОВКА ДЛЯ МОДЕЛИ: SUZUKI DT5YX(E1) X
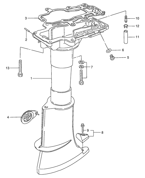
Корпус вала передачи
Год выпуска двигателя: 1999
Регион: General Export No.1 ,Код региона: P01
Цвет: California Gray Metallic
Номер на рисунке | Артикул | Наименование | QTY | Кол-во на складе | Цена |
| 1 | 52110-98670-0ED | Корпус вала передачи (s) - Housing, Drive Shaft (s) (Housing, drive shaft (s) # Housing, drive shaft (s); ) (Housing, Drive Shaft (s)) | | под заказ | 0 руб. |
| 1 | 52110-98660-0ED | Корпус вала передачи (l) - Housing, Drive Shaft (l) (Housing, drive shaft (l) # Housing, drive shaft (l); ) (Housing, Drive Shaft (l)) | | под заказ | 0 руб. |
| 2 | 09205-10006-000 | Стопор пружины (10.2x10) - Pin, Spring (102x10) (Pin, clutch notch spring ) (Pin, Spring (10.2x10)) | | под заказ | 390 руб. |
| 3 | 52113-98610-000 | Прокладка корпуса вала передачи - Gasket, Drive Shaft Housing (Gasket, drive shaft housing ) (Gasket, Drive Shaft Housing) | | 11 шт | 2550 руб. |
| 4 | 52115-98600-000 | Крышка, Сцепление Adj Hole - Cover, Clutch Adj Hole (Cover, Clutch Adj Hole) | | 5 шт | 820 руб. |
| 5 | 09248-10008-000 | Заглушка (10x7.5) - Plug (10x75) (Plug, flushing; ) (Plug (10x7.5)) | | 120 шт | 500 руб. |
| 6 | 09168-10022-000 | Прокладка (10x17x1.5) - Gasket (10x17x15) (Gasket, flushing plug; ) (Gasket (10x17x1.5)) | | 2205 шт | 150 руб. |
| 7 | 09118-08116-000 | Болт (8x40) - Bolt (8x40) (Bolt (8x40) # Bolt (8x40); ) (Bolt (8x40)) | | под заказ | 470 руб. |
| 8 | 55320-98600-000 | Zinc, Protection - Zinc, Protection (Zinc set, protection ) (Zinc, Protection) | | под заказ | 2130 руб. |
| 9 | 09116-06106-000 | Болт (6x20) - Bolt (6x20) (Bolt (6x20);) (Bolt (6x20)) | | под заказ | 290 руб. |
| 9 | 09116-06204-000 | (актуальный код замены) Болт (6x20) - Bolt (6x20) | | под заказ | 290 руб. |
| 9 | 09116-06204-000 | Болт (6x20) - Bolt (6x20) (Bolt (6x20)) | | под заказ | 290 руб. |
| 10 | 61155-94500-000 | Трубка контрольной струи - Tube, Water Inspection (Tube, water; ) (Tube, Water Inspection) | | 3 шт | 340 руб. |
| 11 | 09352-50903-600 | Шланг (5x9x600) - Hose (5x9x600) (L:600->5 ) (Hose (5x9x600)) | | под заказ | 570 руб. |
| 11 | 09352-50006-600 | (актуальный код замены) Шланг (5x9x600) - Hose (5x9x600) | | 1 шт | 570 руб. |
| 12 | 09401-08410-000 | Зажим - Clip (Dt4, ~model:93 ) (Clip) | | под заказ | 130 руб. |
| 13 | 09118-08125-000 | Болт (8x55) - Bolt (8x55) (Bolt (8x55) # Bolt (8x55); ) (Bolt (8x55)) | | под заказ | 560 руб. |
Время выполнения запроса 1.5231928825378 сек. |
|