| |
 |
|
 |
Вернуться к выбору узлов мотора
ДЕТАЛИРОВКА ДЛЯ МОДЕЛИ: SUZUKI DT5YX(E1) X
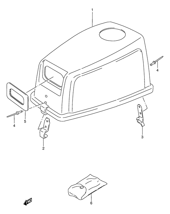
Крышка двигателя (капот)
Год выпуска двигателя: 1999
Регион: General Export No.1 ,Код региона: P01
Цвет: California Gray Metallic
Номер на рисунке | Артикул | Наименование | QTY | Кол-во на складе | Цена |
| 1 | 61410-98620-0EM | Запчасть снята с производства - The Spare Part Is Laid Off (Cover, engine upper;) (The Spare Part Is Laid Off) | | под заказ | 0 руб. |
| 2 | 61412-98601-000 | Запчасть снята с производства - The Spare Part Is Laid Off (Hook, upper cover;) (The Spare Part Is Laid Off) | | под заказ | 0 руб. |
| 3 | 61611-98610-000 | Защелка, вышеr Крышка - Fastener, Upr Cover (Fastener, upper cover # Fastener, upper cover; ) (Fastener, Upr Cover) | | под заказ | 0 руб. |
| 4 | 09229-04020-000 | Заклёпка - Rivet (Rivet) | | под заказ | 190 руб. |
| 5 | 61622-98600-000 | Сальник барабанного стартера - Seal, Recoil Starter (Seal, recoil starter ) (Seal, Recoil Starter) | | под заказ | 1160 руб. |
| 6 | 09800-01001-000 | Набор инструмента - Tool Assy (Tool set; ) (Tool Assy) | | под заказ | 3120 руб. |
| 6 | 09800-01016-000 | (актуальный код замены) Набор инструмента - Tool Assy | | под заказ | 3120 руб. |
Время выполнения запроса 0.96148014068604 сек. |
|