УВАЖАЕМЫЕ КЛИЕНТЫ! C 19 ДЕКАБРЯ 2025 ПО 02 МАРТА 2026 ГОДА ОТДЕЛ ЗАПЧАСТЕЙ И СЕРВИС РАБОТАТЬ НЕ БУДУТ ПРОДАЖА ЛОДОЧНЫХ МОТОРОВ В ШТАТНОМ РЕЖИМЕ ОБ ИЗМЕНЕНИЯХ В ГРАФИКЕ РАБОТЫ ЧИТАЙТЕ НА САЙТА
Раздел:
Catalog preface - Каталог
Catalog preface - Каталог
Catalog preface - Каталог
Catalog preface - Каталог
Cylinder - Цилиндр для Dt5 model: 94
Cylinder - Цилиндр для Dt6/dt8 model: 94
Cylinder - Цилиндр для Dt5/6/8 model: 95-00
Crankshaft - Коленвал для Dt5
Crankshaft - Коленвал для Dt6/dt8
Reed valve - Язычковый клапан для Dt5 -model: 94
Reed valve - Язычковый клапан для Dt5 model: 95-98
Reed valve - Язычковый клапан для Dt6
Reed valve - Язычковый клапан для Dt8
Carburetor - Карбюратор для Dt5/dt6
Carburetor - Карбюратор для Dt8
Fuel pump - Топливный насос для Dt5 -model: 94
Fuel pump - Топливный насос для Dt6 -model: 94
Fuel pump - Топливный насос для Dt8 -model: 94
Fuel pump - Топливный насос для Dt5/6/8 model: 95-00
Water pump - Водяной насос
Starter - Стартер для -model: 94
Starter - Стартер для E7
Starter - Стартер для Model: 95-00
Throttle control - Управление дросселем
Clutch lever - Рычаг сцепления
Transmission - Трансмиссия
Magneto - Магнето для Dt5 -model: 94
Magneto - Магнето для Dt6/dt8 -model: 94
Magneto - Магнето для Dt5/dt6/dt8 model: 95-00*
Electrical - Электрика для -model: 94
Electrical - Электрика для Model: 95-00
Clamp bracket - Кронштейн транца
Swivel bracket - Поворотный кронштейн
Driveshaft housing - Корпус вала передачи
Gear case - Картер коробки передач
Propeller - Гребной винт
Lower cover - Нижняя часть корпуса
Engine cover - Крышка двигателя (капот) для Dt5w
Engine cover - Крышка двигателя (капот) для Dt5/model: 86
Engine cover - Крышка двигателя (капот) для Dt5/model: 87-93
Engine cover - Крышка двигателя (капот) для Dt6/model: 86/e1
Engine cover - Крышка двигателя (капот) для Dt6/model: 87-93
Engine cover - Крышка двигателя (капот) для Dt6/model: 87-93/e13
Engine cover - Крышка двигателя (капот) для Dt8/model: 86
Engine cover - Крышка двигателя (капот) для Dt8/model: 87-93
Engine cover - Крышка двигателя (капот) для Dt8/model: 87-93/e13
Engine cover - Крышка двигателя (капот) для Dt5/6/8 model: 94-96*
Engine cover - Крышка двигателя (капот) для Dt5/6/8 model: 97*
Engine cover - Крышка двигателя (капот) для Dt5/6/8 model: 98-00
Tiller handle - Румпель
Tiller handle - Румпель для Model: 93-00
Fuel tank - Топливный бак для Dt5/model: 86/e7
Fuel tank - Топливный бак для Dt5
Fuel tank - Топливный бак для Dt8/model: 86
Fuel tank - Топливный бак для Dt5
Fuel tank - Топливный бак для Dt5: 231549-
Fuel tank - Топливный бак для Dt8/model: 88-00
Fuel tank - Топливный бак для Plastic: 12l
Fuel tank - Топливный бак для Plastic: 25l
Fuel tank - Топливный бак для Model: 88-92/e28
Electrical - Электрика для Optional;
Electrical - Электрика для Optional;
Remote control box - Дистанционное управление в сборе для Optional;
Remote control - Дистанционное управление для Optional;
Remote control - Дистанционное управление для Optional; model: 93-00
Optiona : gasket set - Опцииiona : Комплект прокладок для Dt5 -model: 94
Gasket set - Комплект прокладок для Optional; dt6/dt8 dt5 model: 95-99
Optional - Опции
Вернуться к выбору узлов мотора
ДЕТАЛИРОВКА ДЛЯ МОДЕЛИ: SUZUKI DT5X(G-Y) X
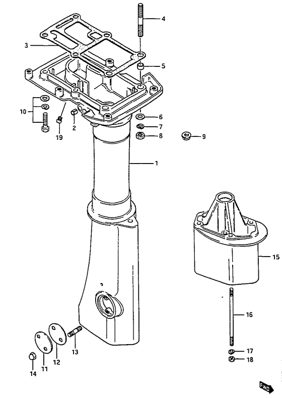
Корпус вала передачи
Год выпуска двигателя: 1999
Регион: General Export No.1 ,Код региона: P01
Цвет: California Gray Metallic
Номер на рисунке Артикул Наименование QTY Кол-во на складе Цена
1 52110-98515-02M (Model:86, -636762 )
под заказ нет сведений
1 52110-98561-0ED Корпус вала передачи (s) (gray) - Housing, Drive Shaft (s) (gray) (Housing, drive shaft (s) ) (Housing, Drive Shaft (s) (gray) )
под заказ 0 руб.
1 52117-94400-000 Трубка контрольной струи - Tube, Water Inspection (Tube, Water Inspection )
под заказ 330 руб.
1 52110-98561-0ED Корпус вала передачи (s) (gray) - Housing, Drive Shaft (s) (gray) (Housing, drive shaft (s) # Housing, drive shaft (s); Model:87-00, ) (Housing, Drive Shaft (s) (gray) )
под заказ 0 руб.
1 52110-98526-02M (Model:86, -636774 )
под заказ нет сведений
1 52110-98571-0ED Корпус вала передачи (l) (gray) - Housing, Drive Shaft (l) (gray) (Housing, drive shaft (l/ul) ) (Housing, Drive Shaft (l) (gray) )
под заказ 0 руб.
1 52117-94400-000 Трубка контрольной струи - Tube, Water Inspection (Tube, Water Inspection )
под заказ 330 руб.
1 52110-98571-0ED Корпус вала передачи (l) (gray) - Housing, Drive Shaft (l) (gray) (Housing, drive shaft (l/ul) # Housing, drive shaft (l/ul); Model:86-00, ) (Housing, Drive Shaft (l) (gray) )
под заказ 0 руб.
2 09205-10006-000 Стопор пружины (10.2x10) - Pin, Spring (102x10) (Pin, clutch notch spring # Pin, clutch lever; ) (Pin, Spring (10.2x10) )
под заказ 390 руб.
3 52113-98510-000 Прокладка корпуса вала передачи - Gasket, Drive Shaft Housing (Gasket, Drive Shaft Housing )
7 шт 2280 руб.
3 SMO-52113-98510-000 (не оригинальный аналог) Прокладка SMO-52113-98510-000 корпуса вала передачи (оригинал, давно лежит) - оригинал Suzuki
под заказ 1400 руб.
3 SMO-52113-98510-000 (аналог) Прокладка SMO-52113-98510-000 корпуса вала передачи (оригинал, давно лежит) - оригинал Suzuki - код 52113-98510-000
под заказ шт 1400 руб.
4 09108-08147-000 Болт под шпильку - Bolt, Stud (Stud bolt # Stud bolt; ) (Bolt, Stud )
под заказ 3840 руб.
5 09206-11006-000 Штифт (8.4x11x8) - Pin (84x11x8) (Pin, knock # Spacer; ) (Pin (8.4x11x8) )
под заказ 290 руб.
6 09160-08082-000 Шайба (8.5x16x1.2) - Washer (85x16x12) (Model:86-91 ) (Washer (8.5x16x1.2) )
13 шт 120 руб.
7 09162-08007-000 Шайба с блокировкой - Washer, Lock (Lock washer # Model:86-91 ) (Washer, Lock )
под заказ 160 руб.
8 09140-08016-000 Гайка - Nut (Model:86-91 ) (Nut )
под заказ 190 руб.
8 09140-08023-XC0 Гайка - Nut (Nut )
14 шт 190 руб.
9 09159-08104-000 Гайка - Nut (Model:92-00 ) (Nut )
под заказ 440 руб.
10 09118-08112-000 Болт (8x30) - Bolt (8x30) (Bolt (8x30); ) (Bolt (8x30) )
под заказ 520 руб.
10 09117-08047-000 (актуальный код замены) Болт (8x30) - Bolt (8x30)
10 шт 520 руб.
10 09117-08047-000 Болт (8x30) - Bolt (8x30) (Bolt (8x30) )
10 шт 520 руб.
11 52115-98501-0ED Крышка, Сцепление Adj Hole (gray) - Cover, Clutch Adj Hole (gray) (Cover, clutch adjusting hole # Cover, clutch adjusting hole; ) (Cover, Clutch Adj Hole (gray) )
под заказ 7160 руб.
12 52116-98510-000 Прокладка, Сцепление Adjust Hole - Gasket, Clutch Adjust Hole (Gasket, clutch adjust hole ) (Gasket, Clutch Adjust Hole )
под заказ 620 руб.
13 09108-05011-000 Запчасть снята с производства - The Spare Part Is Laid Off (The Spare Part Is Laid Off )
под заказ 0 руб.
14 09145-05001-000 Гайка - Nut (Nut )
под заказ 0 руб.
15 52131-98102-0ED Запчасть снята с производства - The Spare Part Is Laid Off (E13 -model:91 ) (The Spare Part Is Laid Off )
под заказ 0 руб.
16 09108-08148-000 Запчасть снята с производства - The Spare Part Is Laid Off (E13 -model:91 ) (The Spare Part Is Laid Off )
под заказ 0 руб.
17 09162-08007-000 Шайба с блокировкой - Washer, Lock (Lock washer # E13 -model:91 ) (Washer, Lock )
под заказ 160 руб.
18 09140-08016-000 Гайка - Nut (E13 -model:91 ) (Nut )
под заказ 190 руб.
18 09140-08023-XC0 Гайка - Nut (Nut )
14 шт 190 руб.
19 52117-94400-000 Трубка контрольной струи - Tube, Water Inspection (Tube, water insp; Model:88-99 ) (Tube, Water Inspection )
под заказ 330 руб.
Время выполнения запроса 2.0625619888306 сек.