Комплектующие на мотор Suzuki - Water pump - Водяной насос
вконтакте

Контактный телефон: +7 (981) 121-46-93, +7 (800) 200-90-76 , Email: parts-katalog@yandex.ru, где купить

 
 

  Логин:

Пароль:

Регистрация

www.partskatalog.ru Все каталоги Запчасти Mercury Запчасти Suzuki Запчасти Tohatsu Запчасти Honda Контакты



УВАЖАЕМЫЕ КЛИЕНТЫ!
C 19 ДЕКАБРЯ 2025 ПО 02 МАРТА 2026 ГОДА ОТДЕЛ ЗАПЧАСТЕЙ И СЕРВИС РАБОТАТЬ НЕ БУДУТ
ПРОДАЖА ЛОДОЧНЫХ МОТОРОВ В ШТАТНОМ РЕЖИМЕ
ОБ ИЗМЕНЕНИЯХ В ГРАФИКЕ РАБОТЫ ЧИТАЙТЕ НА САЙТА



назад Раздел:   вперёд

Вернуться к выбору узлов мотора


ДЕТАЛИРОВКА ДЛЯ МОДЕЛИ: SUZUKI DT5YX(W/X) X

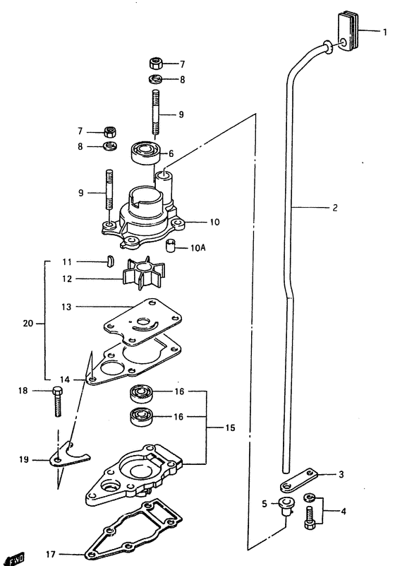
Водяной насос


Год выпуска двигателя: 1999

Регион: General Export No.1 ,Код региона: P01

Цвет: California Gray Metallic

Номер на
рисунке
АртикулНаименованиеQTYКол-во
на складе
Цена
117563-98500-000

Пыльник - Grommet (Grommet, water tube # Grommet, water tube; ) (Grommet)

12 шт290 руб.
217561-98611-000

Водяная трубка (s) - Tube, Water (s) (Tube, water (s) # Tube, water (s); ) (Tube, Water (s))

под заказ2060 руб.
217561-98601-000

Водяная трубка (l) - Tube, Water (l) (Tube, water (l) # Tube, water (l); ) (Tube, Water (l))

под заказ2600 руб.
317564-98600-000

Направляющая трубки водяного насоса - Guide, Water Tube (Guide, Water Tube)

6 шт370 руб.
409117-06038-000

Болт (6x16) - Bolt (6x16) (Bolt (6x16);) (Bolt (6x16))

под заказ220 руб.
409117-06030-000

   (актуальный код замены) Болт (6x16) - Bolt (6x16)

под заказ220 руб.
409117-06030-000

Болт (6x16) - Bolt (6x16) (Bolt (6x16) ) (Bolt (6x16))

под заказ220 руб.
517415-98501-000

Пыльник корпуса водяного насоса - Grommet, Water Pump Case (Grommet, water pump # Grommet, water pump; ) (Grommet, Water Pump Case)

27 шт260 руб.
609289-10002-000

Сальник (10x22x8) - Seal, Oil (10x22x8) (Seal, oil # Oil seal, pump case; ) (Seal, Oil (10x22x8))

9 шт1460 руб.
709140-06020-000

Гайка - Nut (Nut)

9 шт150 руб.
809162-06006-000

Шайба с блокировкой - Washer, Lock (Lock washer ) (Washer, Lock)

под заказ160 руб.
909108-06069-000

Болт под шпильку - Bolt, Stud (Bolt, stud # Stud bolt (l:40); ) (Bolt, Stud)

37 шт320 руб.
1017411-98610-000

Корпус водяного насоса - Case, Water Pump (Case, Water Pump)

под заказ10370 руб.
1017411-98611-000

   (актуальный код замены) Корпус водяного насоса - Case, Water Pump

2 шт11300 руб.
1017411-98611-000

Корпус водяного насоса - Case, Water Pump (Case, Water Pump)

2 шт11300 руб.
1017411-98611-000

Корпус водяного насоса - Case, Water Pump (Model:99 ) (Case, Water Pump)

2 шт11300 руб.
1009202-04008-000

Штифт (4x9) - Pin (4x9) (Pin, knock # Pin; Model:99 ) (Pin (4x9))

4 шт150 руб.
1109420-03002-000

Ключ - Key (Key)

22 шт290 руб.
11SK09420-03002

   (не оригинальный аналог) Шпонка помпы охлаждения Skipper для Suzuki DF4-6, DF4A-6A

0 шт99 руб.
1217461-98502-000

Крыльчатка водяного насоса - Impeller, Water Pump (Impeller, water pump;) (Impeller, Water Pump)

под заказ2030 руб.
1217461-985M0-000

   (актуальный код замены) Крыльчатка водяного насоса - Impeller, Water Pump

30 шт2220 руб.
12SC-WT093

   (не оригинальный аналог) Крыльчатка помпы охлаждения двигателя Suzuki SC-WT093

под заказ950 руб.
1217461-985M0-000

Крыльчатка водяного насоса - Impeller, Water Pump (Impeller, Water Pump)

30 шт2220 руб.
1317471-98600-000

Панель в нижней части корпуса помпы - Panel, Pump Case Under (Panel, Pump Case Under)

под заказ600 руб.
1317471-98601-000

   (актуальный код замены) Панель в нижней части корпуса помпы - Panel, Pump Case Under

4 шт600 руб.
1317471-98601-000

Панель в нижней части корпуса помпы - Panel, Pump Case Under (Panel, water pumpe ) (Panel, Pump Case Under)

4 шт600 руб.
13SK17471-98601

   (не оригинальный аналог) Пластина помпы Skipper для Suzuki DT4/5

0 шт224 руб.
1317471-98601-000

Панель в нижней части корпуса помпы - Panel, Pump Case Under (Panel, water pumpe # Model:99 ) (Panel, Pump Case Under)

4 шт600 руб.
13SK17471-98601

   (не оригинальный аналог) Пластина помпы Skipper для Suzuki DT4/5

0 шт224 руб.
1417472-98610-000

Прокладка панели корпуса помпы - Gasket, Pump Case Panel (Gasket, Pump Case Panel)

под заказ310 руб.
1417472-98611-000

   (актуальный код замены) Прокладка панели корпуса помпы - Gasket, Pump Case Panel

2 шт310 руб.
1417472-98611-000

Прокладка панели корпуса помпы - Gasket, Pump Case Panel (Gasket, pump panel ) (Gasket, Pump Case Panel)

2 шт310 руб.
1417472-98611-000

Прокладка панели корпуса помпы - Gasket, Pump Case Panel (Gasket, pump panel # Gasket, pump panel; Model:99 ) (Gasket, Pump Case Panel)

2 шт310 руб.
1556130-98601-000

Корпус подшипника приводного вала - Housing, Drive Shaft Brg (Housing, Drive Shaft Brg)

под заказ30480 руб.
1556130-98602-000

   (актуальный код замены) Корпус подшипника приводного вала - Housing, Drive Shaft Brg

под заказ30480 руб.
1556130-98602-000

Корпус подшипника приводного вала - Housing, Drive Shaft Brg (Housing, drive shaft bearing ) (Housing, Drive Shaft Brg)

под заказ30480 руб.
1556130-98602-000

Корпус подшипника приводного вала - Housing, Drive Shaft Brg (Housing, drive shaft bearing # Model:99 ) (Housing, Drive Shaft Brg)

под заказ30480 руб.
1609282-10008-000

Сальник (10x21x4.5) - Seal, Oil (10x21x45) (Seal, prop sft oil # Seal; ) (Seal, Oil (10x21x4.5))

722 шт430 руб.
16SC-OL038

   (не оригинальный аналог) Сальник редуктора Suzuki SC-OL038

под заказ220 руб.
1756132-98610-000

Прокладка корпуса вала передачи - Gasket, Drive Shaft Housing (Gasket, drive shaft housing ) (Gasket, Drive Shaft Housing)

3 шт910 руб.
1809117-06039-000

Болт (6x25) - Bolt (6x25) (Bolt (6x25);) (Bolt (6x25))

под заказ310 руб.
1809117-06049-000

   (актуальный код замены) Болт (6x25) - Bolt (6x25)

9 шт310 руб.
1809117-06049-000

Болт (6x25) - Bolt (6x25) (Bolt (6x25) ) (Bolt (6x25))

9 шт310 руб.
1925215-98601-000

Стопор переключателя направляющей тяги - Stopper, Shift Rod Guide (Stopper, Shift Rod Guide)

3 шт280 руб.
2017400-98650-000

Ремкомплект водяного насоса - Kit, Water Pump Repair (Opt) (Kit, Water Pump Repair)

под заказ3270 руб.
2017400-98652-000

   (актуальный код замены) Ремкомплект водяного насоса - Kit, Water Pump Repair

4 шт3010 руб.
2017400-98652-000

Ремкомплект водяного насоса - Kit, Water Pump Repair (Kit, Water Pump Repair)

4 шт3010 руб.


Время выполнения запроса 1.6994020938873 сек.

 
 

данный сайт носит информационный характер и не является публичной офертой

склад запчастей для водомоторной техники