Найти запчасти на лодочный подвесной мотор Сузуки модель 2001 года - Gear case
вконтакте

Контактный телефон: +7 (981) 121-46-93, +7 (800) 200-90-76 , Email: parts-katalog@yandex.ru, где купить

 
 

  Логин:

Пароль:

Регистрация

www.partskatalog.ru Все каталоги Запчасти Mercury Запчасти Suzuki Запчасти Tohatsu Запчасти Honda Контакты

назад Раздел:   вперёд

Вернуться к выбору узлов мотора


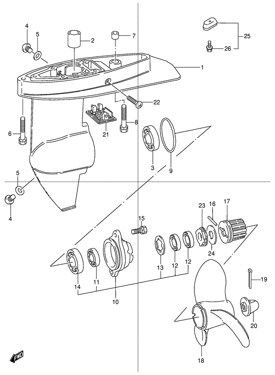
ДЕТАЛИРОВКА ДЛЯ МОДЕЛИ: SUZUKI DT5YK1(E1) K1

Картер коробки передач


Год выпуска двигателя: 2001

Регион: General Export No.1 ,Код региона: P01

Цвет: Shadow Black Metallic

Номер на
рисунке
АртикулНаименованиеQTYКол-во
на складе
Цена
155110-98630-0ED

Case Set, Шестерня - Case Set, Gear (Case Set, Gear)

под заказ0 руб.
155100-98840-0ED

   (актуальный код замены) Запчасть снята с производства - The Spare Part Is Laid Off

под заказ0 руб.
155100-98840-0ED

Case Set, Шестерня - Case Set, Gear (Case Set, Gear)

под заказ0 руб.
155110-98630-0EP

Case Set, Шестерня - Case Set, Gear (Model:02) (Case Set, Gear)

под заказ0 руб.
155100-98840-0EP

   (актуальный код замены) Запчасть снята с производства - The Spare Part Is Laid Off

под заказ0 руб.
155100-98840-0EP

Case Set, Шестерня - Case Set, Gear (Case Set, Gear)

под заказ0 руб.
209300-10007-000

Втулка шестерни - Bush, Pinion (Bush, Pinion)

6 шт1400 руб.
259311-91J00-000

   (актуальный код замены) Втулка шестерни - Bush, Pinion

6 шт1400 руб.
259311-91J00-000

Втулка шестерни - Bush, Pinion (Bush, Pinion)

6 шт1400 руб.
309262-20106-000

Подшипник (20x42x12) - Bearing (20x42x12) (Bearing # Bearing, gear; ) (Bearing (20x42x12))

6 шт2300 руб.
36004C3KOYO

   (подбор по маркировке) Подшипник KOYO 6004C3(20*42*12 мм)

3 шт190 руб.
409248-10008-000

Заглушка (10x7.5) - Plug (10x75) (Plug, drain; ) (Plug (10x7.5))

125 шт500 руб.
509168-10022-000

Прокладка (10x17x1.5) - Gasket (10x17x15) (Gasket, drain plug; ) (Gasket (10x17x1.5))

2229 шт150 руб.
609117-08038-000

Болт (8x45) - Bolt (8x45) (Bolt (8x45); ) (Bolt (8x45))

под заказ540 руб.
709206-11006-000

Штифт (8.4x11x8) - Pin (84x11x8) (Pin, knock ) (Pin (8.4x11x8))

под заказ290 руб.
809117-08056-000

Болт (8x40) - Bolt (8x40) (Bolt (8x40);) (Bolt (8x40))

под заказ2010 руб.
809117-08056-XC0

   (актуальный код замены) Болт (8x40) - Bolt (8x40)

под заказ2010 руб.
809117-08056-XC0

Болт (8x40) - Bolt (8x40) (Bolt (8x40))

под заказ2010 руб.
909280-49002-000

Уплотнительное кольцо (d: 2.6, Id: 48.7) - O Ring (d:26, Id:487) (O ring (d:2.6 id:48.7); ) (O Ring (d:2.6, Id:48.7))

40 шт220 руб.
1056120-98600-0ED

Корпус подшипника вала гребного винта - Housing, Propeller Sft Brg (Housing, prop shaft brg;) (Housing, Propeller Sft Brg)

под заказ29520 руб.
1056120-91J10-0ED

   (актуальный код замены) Корпус подшипника вала гребного винта - Housing, Propeller Sft Brg

под заказ29520 руб.
1056120-91J10-0ED

Корпус подшипника вала гребного винта - Housing, Propeller Sft Brg (Housing, Propeller Sft Brg)

под заказ29520 руб.
1056120-98600-0EP

Корпус подшипника вала гребного винта - Housing, Propeller Sft Brg (Model:02) (Housing, Propeller Sft Brg)

под заказ14980 руб.
1056120-91JM0-0EP

   (актуальный код замены) Корпус подшипника вала гребного винта - Housing, Propeller Sft Brg

3 шт15010 руб.
1056120-91JM0-0EP

Корпус подшипника вала гребного винта - Housing, Propeller Sft Brg (Housing, Propeller Sft Brg)

3 шт15010 руб.
1109262-12001-000

Подшипник (12x28x8) - Bearing (12x28x8) (Bearing, propeller shaft; ) (Bearing (12x28x8))

11 шт1880 руб.
116001KOYO

   (подбор по маркировке) Подшипник KOYO 6001(12*28*8 мм)

под заказ0
1209282-12008-000

Сальник (12x24x4.5) - Seal, Oil (12x24x45) (Seal, Oil (12x24x4.5))

125 шт830 руб.
12SK09282-12008

   (не оригинальный аналог) Сальник гребного вала Skipper для Suzuki Модели техники: DF4-DF6

2 шт139 руб.
12SC-OL039

   (не оригинальный аналог) Сальник редуктора Suzuki SC-OL039

под заказ230 руб.
1309167-23001-000

Шайба с блокировкой - Washer, Lock (Washer, Lock)

29 шт210 руб.
1409262-20106-000

Подшипник (20x42x12) - Bearing (20x42x12) (Bearing # Bearing, reverse gear; ) (Bearing (20x42x12))

6 шт2300 руб.
146004C3KOYO

   (подбор по маркировке) Подшипник KOYO 6004C3(20*42*12 мм)

3 шт190 руб.
1509117-06030-000

Болт (6x16) - Bolt (6x16) (Bolt (6x16) # Bolt (6x16); ) (Bolt (6x16))

под заказ220 руб.
1609202-04002-000

Штифт - Pin (Shear pin; ) (Pin)

397 шт220 руб.
16SK09202-04002

   (не оригинальный аналог) Шпонка гребного винта Skipper для Suzuki DF2.5-6/DT2-5

0 шт116 руб.
1758120-98600-000

Втулка гребного винта - Bush, Propeller (Bush, Propeller)

4 шт5360 руб.
1858111-98601-019

Гребной винт (3x7-1 / 2x6) - Propeller (3x7-1/2x6) (Propeller (3x7-1/2x6); C600) (Propeller (3x7-1/2x6))

под заказ12100 руб.
1858111-98602-019

   (актуальный код замены) Гребной винт (3x7-1 / 2x6) - Propeller (3x7-1/2x6)

под заказ12100 руб.
1858111-98602-019

Гребной винт (3x7-1 / 2x6) - Propeller (3x7-1/2x6) (Propeller (3x7-1/2x6))

под заказ12100 руб.
1858111-98612-019

Гребной винт (3x7-1 / 2x6-1 / 2) - Propeller (3x7-1/2x6-1/2) (Propeller (3x7-1/2x6-1/2); C610) (Propeller (3x7-1/2x6-1/2))

под заказ12100 руб.
1858111-98641-019

   (актуальный код замены) Гребной винт (3x7-1 / 2x6-1 / 2) - Propeller (3x7-1/2x6-1/2)

2 шт12100 руб.
1858111-98641-019

Гребной винт (3x7-1 / 2x6-1 / 2) - Propeller (3x7-1/2x6-1/2) (Propeller (3x7-1/2x6-1/2))

2 шт12100 руб.
1858111-98630-019

Гребной винт (3x7-1 / 2x7) - Propeller (3x7-1/2x7) (Propeller (3x7-1/2x7); C700) (Propeller (3x7-1/2x7))

под заказ12100 руб.
1858111-98651-019

   (актуальный код замены) Гребной винт (3x7-1 / 2x7) - Propeller (3x7-1/2x7)

2 шт12100 руб.
1858111-98651-019

Гребной винт (3x7-1 / 2x7) - Propeller (3x7-1/2x7) (Propeller (3x7-1/2x7))

2 шт12100 руб.
1909204-03003-000

Штифт - Pin (Pin)

376 шт220 руб.
2058130-98101-000

Гайка гребного винта - Nut, Propeller (Nut, Propeller)

под заказ1730 руб.
2058130-91JL0-000

   (актуальный код замены) Гайка гребного винта - Nut, Propeller

8 шт1530 руб.
2058130-91JL0-000

Гайка гребного винта - Nut, Propeller (Nut, Propeller)

8 шт1530 руб.
2117631-98600-000

Водяной фильтр - Filter, Water (Filter, water ) (Filter, Water)

под заказ520 руб.
2209132-05027-000

Винт (5x16) - Screw (5x16) (Screw (5x16); ) (Screw (5x16))

под заказ0 руб.
2356122-98601-000

Защитный сальник - Protector, Oil Seal (Protector, Oil Seal)

под заказ520 руб.
2356122-98602-000

   (актуальный код замены) Защитный сальник - Protector, Oil Seal

18 шт550 руб.
2456123-98600-000

Защитная шайба - Washer, Protector (Washer, protector ) (Washer, Protector)

4 шт1290 руб.
2555320-98400-000

Zinc, Protection - Zinc, Protection (Zinc set, protection; ) (Zinc, Protection)

под заказ0 руб.
2609116-06094-000

Болт (6x15) - Bolt (6x15) (Bolt (6x16); ) (Bolt (6x15))

20 шт270 руб.


Время выполнения запроса 4.4885709285736 сек.

 
 

данный сайт носит информационный характер и не является публичной офертой

склад запчастей для водомоторной техники