Найти запчасти на лодочный мотор Suzuki модель 2002 года - Clutch
вконтакте

Контактный телефон: +7 (981) 121-46-93, +7 (800) 200-90-76 , Email: parts-katalog@yandex.ru, где купить

 
 

  Логин:

Пароль:

Регистрация

www.partskatalog.ru Все каталоги Запчасти Mercury Запчасти Suzuki Запчасти Tohatsu Запчасти Honda Контакты



УВАЖАЕМЫЕ КЛИЕНТЫ!
C 19 ДЕКАБРЯ 2025 ПО 02 МАРТА 2026 ГОДА ОТДЕЛ ЗАПЧАСТЕЙ И СЕРВИС РАБОТАТЬ НЕ БУДУТ
ПРОДАЖА ЛОДОЧНЫХ МОТОРОВ В ШТАТНОМ РЕЖИМЕ
ОБ ИЗМЕНЕНИЯХ В ГРАФИКЕ РАБОТЫ ЧИТАЙТЕ НА САЙТА



назад Раздел:   вперёд

Вернуться к выбору узлов мотора


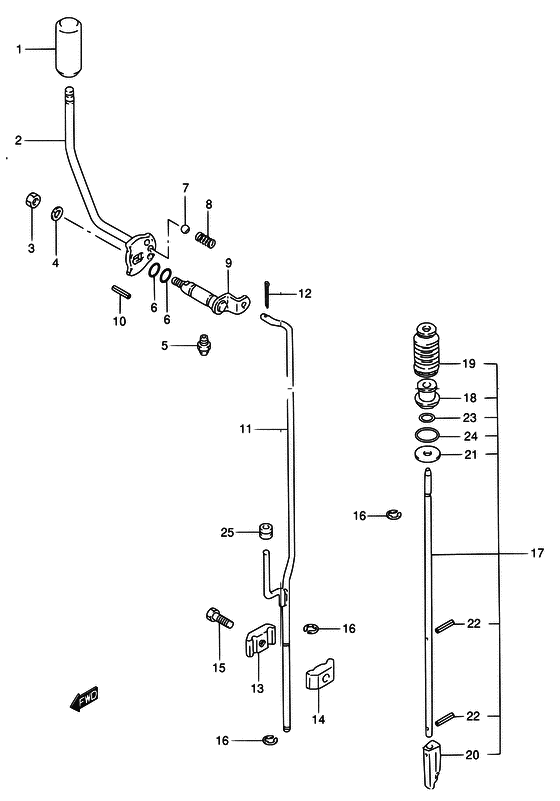
ДЕТАЛИРОВКА ДЛЯ МОДЕЛИ: SUZUKI DT5Y K2

Сцепление


Год выпуска двигателя: 2002

Цвет: Shadow Black Metallic

Номер на
рисунке
АртикулНаименованиеQTYКол-во
на складе
Цена
121141-98500-000

Рукоятка рычага сцепления - Knob, Clutch Lever (Knob, clutch lever ) (Knob, Clutch Lever)

под заказ520 руб.
221110-98503-000

Рычаг сцепления - Lever, Clutch (<-1110-98611 ) (Lever, Clutch)

под заказ3150 руб.
309140-08016-000

Гайка - Nut (<-9140-08003) (Nut)

под заказ190 руб.
309140-08023-XC0

Гайка - Nut (Nut)

14 шт190 руб.
409162-08007-000

Шайба с блокировкой - Washer, Lock (Lock washer ) (Washer, Lock)

под заказ160 руб.
522511-99010-000

Ниппель смазки - Nipple, Grease (Nipple, Grease)

под заказ340 руб.
522511-99011-000

   (актуальный код замены) Ниппель смазки - Nipple, Grease

9 шт400 руб.
522511-99011-000

Ниппель смазки - Nipple, Grease (Nipple, Grease)

9 шт400 руб.
609280-09005-000

Уплотнительное кольцо (d: 1.9, Id: 8.6) - O Ring (d:19, Id:86) (O Ring (d:1.9, Id:8.6))

9 шт390 руб.
709260-10005-000

Шарик - Ball (Steel ball ) (Ball)

4 шт210 руб.
809440-07021-000

Пружина - Spring (Spring, clutch notch ) (Spring)

под заказ160 руб.
921210-98601-000

Сцепление Вал Рычаг - Shaft, Clutch Lever (Shaft, clutch lever ) (Shaft, Clutch Lever)

под заказ0 руб.
1009205-05014-000

Стопор пружины (5x18) - Pin, Spring (5x18) (Pin, clutch lever (l:18) ) (Pin, Spring (5x18))

под заказ180 руб.
1123110-98601-000

Тяга сцепления (l) - Rod, Clutch (l) (Rod, clutch (l) ) (Rod, Clutch (l))

под заказ0 руб.
1123110-98611-000

Тяга сцепления (s) - Rod, Clutch (s) (Rod, clutch (s) ) (Rod, Clutch (s))

под заказ2270 руб.
1209204-01002-000

Штифт - Pin (Cotter pin ) (Pin)

24 шт140 руб.
1323311-99001-000

Коннектор тяги сцепления №1 - Connector, Clutch Rod No1 (Connector, clutch rod (1) ) (Connector, Clutch Rod No.1)

под заказ1460 руб.
1423321-99001-000

Коннектор тяги сцепления №2 - Connector, Clutch Rod No2 (Connector, clutch rod (2) ) (Connector, Clutch Rod No.2)

под заказ1560 руб.
1509138-06037-000

Болт (6x20) - Bolt (6x20) (Bolt (6x20) ) (Bolt (6x20))

под заказ360 руб.
1609383-04002-000

Уплотнительное кольцо - E Ring (E Ring)

18 шт80 руб.
1725100-98603-000

Запчасть снята с производства - The Spare Part Is Laid Off (MODEL:98) (The Spare Part Is Laid Off)

под заказ0 руб.
1725100-98606-000

Тяга в сборе, Переключатель - Rod Assy, Shift (Rod assy, shift # MODEL:99~02 ) (Rod Assy, Shift)

под заказ0 руб.
1725100-98607-000

   (актуальный код замены) Запчасть снята с производства - The Spare Part Is Laid Off

под заказ0 руб.
1825211-98601-000

Направляющая переключающей тяги - Guide, Shift Rod (Guide, Shift Rod)

3 шт390 руб.
1925222-93901-000

Башмак переключающей тяги - Boot, Shift Rod (Boot, Shift Rod)

1 шт930 руб.
1925222-93902-000

   (актуальный код замены) Башмак переключающей тяги - Boot, Shift Rod

23 шт930 руб.
19SK25222-93901

   (не оригинальный аналог) Гофра тяги переключения передач Skipper для Suzuki DT4-5/9.9-15/DF4-15

0 шт176 руб.
2025311-93910-000

Кулачок переключателя - Cam, Shift (MODEL:98 ) (Cam, Shift)

под заказ3000 руб.
2025311-93E20-000

Запчасть снята с производства - The Spare Part Is Laid Off (MODEL:99~02) (The Spare Part Is Laid Off)

под заказ0 руб.
2025311-91J00-000

   (актуальный код замены) Запчасть снята с производства - The Spare Part Is Laid Off

под заказ0 руб.
2109160-05501-000

Шайба (5.5x20x1.2) - Washer (55x20x12) (Washer (5.5x20x1.2) ) (Washer (5.5x20x1.2))

7 шт140 руб.
2209205-02006-000

Стопор пружины (2x12) - Pin, Spring (2x12) (Pin, spring ) (Pin, Spring (2x12))

10 шт140 руб.
2309280-05008-000

Уплотнительное кольцо (d: 2.9, Id: 4.8) - O Ring (d:29, Id:48) (O ring (d:2.9 id:4.8) ) (O Ring (d:2.9, Id:4.8))

32 шт210 руб.
2409280-15007-000

Уплотнительное кольцо (d: 2.4, Id: 15.8) - O Ring (d:24, Id:158) (O Ring (d:2.4, Id:15.8))

27 шт160 руб.
2509320-04010-000

Втулка - Bush (Bush)

6 шт190 руб.


Время выполнения запроса 0.93590712547302 сек.

 
 

данный сайт носит информационный характер и не является публичной офертой

склад запчастей для водомоторной техники