Купить оригинальные запчасти на подвесной двигатель Сузуки модель 1984 года - Carburetor - Карбюратор
вконтакте

Контактный телефон: +7 (981) 121-46-93, +7 (800) 200-90-76 , Email: parts-katalog@yandex.ru, где купить

 
 

  Логин:

Пароль:

Регистрация

www.partskatalog.ru Все каталоги Запчасти Mercury Запчасти Suzuki Запчасти Tohatsu Запчасти Honda Контакты



УВАЖАЕМЫЕ КЛИЕНТЫ!
C 19 ДЕКАБРЯ 2025 ПО 02 МАРТА 2026 ГОДА ОТДЕЛ ЗАПЧАСТЕЙ И СЕРВИС РАБОТАТЬ НЕ БУДУТ
ПРОДАЖА ЛОДОЧНЫХ МОТОРОВ В ШТАТНОМ РЕЖИМЕ
ОБ ИЗМЕНЕНИЯХ В ГРАФИКЕ РАБОТЫ ЧИТАЙТЕ НА САЙТА



назад Раздел:   вперёд

Вернуться к выбору узлов мотора


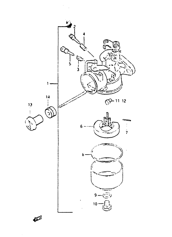
ДЕТАЛИРОВКА ДЛЯ МОДЕЛИ: SUZUKI DT6VE(VE/VF) E

Карбюратор


Год выпуска двигателя: 1984

Регион: General Export No.1 ,Код региона: P01

Цвет: Francois Whte №2Arctic Silver

Номер на
рисунке
АртикулНаименованиеQTYКол-во
на складе
Цена
113200-98120-000

Карбюратор в сборе - Carburetor Assy (~406818) (Carburetor Assy)

под заказ64800 руб.
113200-98122-000

   (актуальный код замены) Карбюратор в сборе - Carburetor Assy

под заказ64800 руб.
113200-98121-000

Карбюратор в сборе - Carburetor Assy (Carburetor assy (s) ) (Carburetor Assy)

под заказ64800 руб.
113200-98122-000

   (актуальный код замены) Карбюратор в сборе - Carburetor Assy

под заказ64800 руб.
113200-98130-000

Карбюратор в сборе - Carburetor Assy (~406818) (Carburetor Assy)

под заказ0 руб.
113200-98131-000

   (актуальный код замены) Запчасть снята с производства - The Spare Part Is Laid Off

под заказ0 руб.
113200-98131-000

Карбюратор в сборе - Carburetor Assy (Carburetor assy (l) ) (Carburetor Assy)

под заказ0 руб.
113200-98131-000

Карбюратор в сборе - Carburetor Assy (Carburetor assy (l) # Carburetor assy (l); 506819~ ) (Carburetor Assy)

под заказ0 руб.
213267-98300-000

Винт дросселя Stop - Screw, Throttle Stop (Screw, Throttle Stop)

под заказ470 руб.
213534-98900-000

   (актуальный код замены) Винт дросселя Stop - Screw, Throttle Stop

под заказ470 руб.
213534-98900-000

Винт дросселя Stop - Screw, Throttle Stop (Screw, Throttle Stop)

под заказ470 руб.
313268-96111-000

Пружина, Дроссель Винт - Spring, Throttle Screw (Spring, throttle screw ) (Spring, Throttle Screw)

под заказ350 руб.
413268-92910-000

Пружина - Spring (Spring ) (Spring)

под заказ310 руб.
513269-98300-000

Винт контроля воздуха - Screw, Pilot Air (Screw, pilot air ) (Screw, Pilot Air)

под заказ0 руб.
613250-98310-000

Поплавок - Float (Jloat; ) (Float)

под заказ2430 руб.
713254-98300-000

Стопор поплавка - Pin, Float (Pin, float # Pin, float; ) (Pin, Float)

под заказ240 руб.
813251-98300-000

Прокладка поплавковой камеры - Gasket, Float Cahmber (Gasket, float chamber ) (Gasket, Float Cahmber)

под заказ680 руб.
913343-98520-000

Прокладка, Drain - Gasket, Drain (Gasket, Drain)

под заказ290 руб.
1013613-98300-000

Болт, Drain - Bolt, Drain (Bolt, Drain)

под заказ440 руб.
1109491-27006-000

Главная форсунка (115) - Jet, Main (115) (S type) (Jet, Main (115))

под заказ970 руб.
1109491-23012-000

   (актуальный код замены) Главная форсунка (115) - Jet, Main (115)

под заказ970 руб.
1109491-23012-000

Главная форсунка (115) - Jet, Main (115) (Jet, main (#115) ) (Jet, Main (115))

под заказ970 руб.
1109491-24012-000

Главная форсунка (120) - Jet, Main (120) (L type) (Jet, Main (120))

под заказ1460 руб.
1109491-24026-000

   (актуальный код замены) Главная форсунка (120) - Jet, Main (120)

под заказ1460 руб.
1109491-24026-000

Главная форсунка (120) - Jet, Main (120) (Jet, Main (120))

под заказ1460 руб.
1209491-25002-000

Главная форсунка (125) - Jet, Main (125) (Opt) (Jet, Main (125))

под заказ1110 руб.
1209491-25014-000

   (актуальный код замены) Главная форсунка (125) - Jet, Main (125)

2 шт1110 руб.
1209491-25014-000

Главная форсунка (125) - Jet, Main (125) (Jet, main 125 ) (Jet, Main (125))

2 шт1110 руб.
1209491-22010-000

Главная форсунка (110) - Jet, Main (110) (Opt) (Jet, Main (110))

под заказ730 руб.
1209491-22013-000

   (актуальный код замены) Главная форсунка (110) - Jet, Main (110)

под заказ730 руб.
1209491-22013-000

Главная форсунка (110) - Jet, Main (110) (Jet, main (#110) ) (Jet, Main (110))

под заказ730 руб.
1209491-21012-000

Главная форсунка (105) - Jet, Main (105) (Opt) (Jet, Main (105))

под заказ810 руб.
1209491-21023-000

   (актуальный код замены) Главная форсунка (105) - Jet, Main (105)

под заказ810 руб.
1209491-21023-000

Главная форсунка (105) - Jet, Main (105) (Jet, main (#105) ) (Jet, Main (105))

под заказ810 руб.
1313631-93500-000

Рукоятка стартера - Knob, Starter (Knob, Starter)

под заказ460 руб.
1313631-93501-000

   (актуальный код замены) Рукоятка стартера - Knob, Starter

2 шт460 руб.
1313631-93501-000

Рукоятка стартера - Knob, Starter (Knob, Starter)

2 шт460 руб.
1409305-04005-000

Втулка - Bush (Bush)

под заказ160 руб.
1409320-04013-000

   (актуальный код замены) Подушка, Muf Cov - Cushion, Muf Cov

под заказ160 руб.
1409320-04009-000

Втулка - Bush (Bush)

под заказ160 руб.
1409320-04013-000

   (актуальный код замены) Подушка, Muf Cov - Cushion, Muf Cov

под заказ160 руб.


Время выполнения запроса 1.684632062912 сек.

 
 

данный сайт носит информационный характер и не является публичной офертой

склад запчастей для водомоторной техники