| |
 |
|
 |
Вернуться к выбору узлов мотора
ДЕТАЛИРОВКА ДЛЯ МОДЕЛИ: SUZUKI DT6VH(G-Y) H
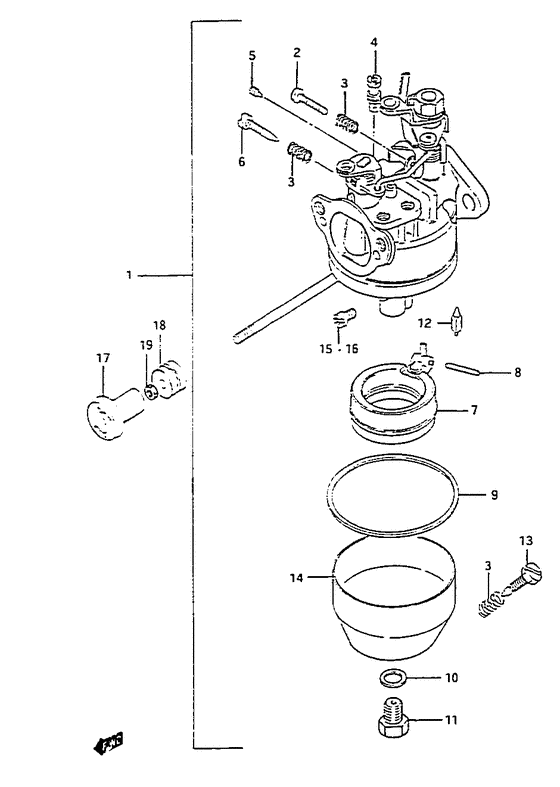
Карбюратор
Год выпуска двигателя: 1987
Номер на рисунке | Артикул | Наименование | QTY | Кол-во на складе | Цена |
| 1 | 13200-98115-000 | Карбюратор в сборе - Carburetor Assy (Carburetor assy (s) # Carburetor assy (s); ) (Carburetor Assy) | | под заказ | 0 руб. |
| 1 | 13200-98116-000 | (актуальный код замены) Запчасть снята с производства - The Spare Part Is Laid Off | | под заказ | 0 руб. |
| 1 | 13200-98105-000 | Карбюратор в сборе - Carburetor Assy (Carburetor assy (l/ul) # Carburetor assy (l/ul); ) (Carburetor Assy) | | под заказ | 61920 руб. |
| 1 | 13200-98106-000 | (актуальный код замены) Карбюратор в сборе - Carburetor Assy | | под заказ | 61920 руб. |
| 2 | 13267-93900-000 | Винт - Screw (Screw, throttle # Screw, throttle stop; ) (Screw) | | под заказ | 320 руб. |
| 3 | 13268-96110-000 | Пружина, Дроссель Винт - Spring, Throttle Screw (Spring, Throttle Screw) | | под заказ | 350 руб. |
| 3 | 13268-96111-000 | (актуальный код замены) Пружина, Дроссель Винт - Spring, Throttle Screw | | под заказ | 350 руб. |
| 3 | 13268-96111-000 | Пружина, Дроссель Винт - Spring, Throttle Screw (Spring, throttle screw ) (Spring, Throttle Screw) | | под заказ | 350 руб. |
| 4 | 09492-50008-000 | Контрольная форсунка (50) - Jet, Pilot (50) (Jet, pilot (#50) # Pilot jet (#50); ) (Jet, Pilot (50)) | | под заказ | 730 руб. |
| 5 | 09493-24007-000 | Воздушная форсунка (1.2) - Jet, Air (12) (Jet, air (1.2) # Jet, air (#1.2); ) (Jet, Air (1.2)) | | под заказ | 1150 руб. |
| 6 | 13269-98100-000 | Винт контроля воздуха - Screw, Pilot Air (Screw, pilot # Screw, pilot air; ) (Screw, Pilot Air) | | под заказ | 620 руб. |
| 7 | 13250-98110-000 | Поплавок - Float (Float) | | под заказ | 1800 руб. |
| 8 | 13254-98100-000 | Стопор поплавка - Pin, Float (Pin, float ) (Pin, Float) | | под заказ | 280 руб. |
| 9 | 13251-98100-000 | Прокладка поплавковой камеры - Gasket, Float Cahmber (Gasket, float chamber ) (Gasket, Float Cahmber) | | 16 шт | 480 руб. |
| 10 | 13343-98100-000 | Прокладка - Gasket (Gasket ) (Gasket) | | под заказ | 220 руб. |
| 11 | 13613-98100-000 | Болт - Bolt (Bolt ) (Bolt) | | под заказ | 410 руб. |
| 12 | 13371-98100-000 | иголка в сборе - Needle Assy (Needle assy; ) (Needle Assy) | | 2 шт | 2300 руб. |
| 13 | 13616-93900-000 | Регулятор - Adjuster (Adjuster) | | под заказ | 1180 руб. |
| 14 | 13245-98110-000 | Поплавок, Chamber - Float, Chamber (Chamber, float # Chamber, float; ) (Float, Chamber) | | под заказ | 5000 руб. |
| 15 | 09491-20011-000 | Главная форсунка (102.5) - Jet, Main (1025) (Jet, main (#102.5) (s);) (Jet, Main (102.5)) | | под заказ | 1110 руб. |
| 15 | 09491-20025-000 | (актуальный код замены) Главная форсунка (102.5) - Jet, Main (102.5) | | под заказ | 1110 руб. |
| 15 | 09491-20025-000 | Главная форсунка (102.5) - Jet, Main (1025) (Jet, main (#102.5) ) (Jet, Main (102.5)) | | под заказ | 1110 руб. |
| 15 | 09491-21023-000 | Главная форсунка (105) - Jet, Main (105) (Jet, main (#105) # Jet, main (#105) (l/ul); ) (Jet, Main (105)) | | под заказ | 810 руб. |
| 16 | 09491-85006-000 | Главная форсунка (85) - Jet, Main (85) (Jet, main (85) # Jet, main (#85); Opt ) (Jet, Main (85)) | | под заказ | 0 руб. |
| 16 | 09491-90011-000 | Главная форсунка (90) - Jet, Main (90) (Jet, main (#90) # Jet, main (#90); Opt ) (Jet, Main (90)) | | под заказ | 1470 руб. |
| 16 | 09491-95008-000 | Главная форсунка (95) - Jet, Main (95) (Jet, main (#95) # Jet, main (#95); Opt ) (Jet, Main (95)) | | под заказ | 970 руб. |
| 16 | 09491-22013-000 | Главная форсунка (110) - Jet, Main (110) (Jet, main (#110) # Jet, main (#110); Opt, ) (Jet, Main (110)) | | под заказ | 730 руб. |
| 16 | 09491-23012-000 | Главная форсунка (115) - Jet, Main (115) (Jet, main (#115) # Jet, main (#115); Opt ) (Jet, Main (115)) | | под заказ | 970 руб. |
| 17 | 13631-93501-000 | Рукоятка стартера - Knob, Starter (Knob, starter; ) (Knob, Starter) | | 2 шт | 460 руб. |
| 18 | 09320-04009-000 | Втулка - Bush (Bushing, starter knob; ) (Bush) | | под заказ | 160 руб. |
| 18 | 09320-04013-000 | (актуальный код замены) Подушка, Muf Cov - Cushion, Muf Cov | | под заказ | 160 руб. |
| 19 | 09140-04007-000 | Гайка - Nut (Nut) | | под заказ | 170 руб. |
Время выполнения запроса 0.89263796806335 сек. |
|