Оригинальные запчасти на подвесной двигатель Suzuki модель 1988 года - Корпус вала передачи
вконтакте

Контактный телефон: +7 (981) 121-46-93, +7 (800) 200-90-76 , Email: parts-katalog@yandex.ru, где купить

 
 

  Логин:

Пароль:

Регистрация

www.partskatalog.ru Все каталоги Запчасти Mercury Запчасти Suzuki Запчасти Tohatsu Запчасти Honda Контакты



УВАЖАЕМЫЕ КЛИЕНТЫ!
C 19 ДЕКАБРЯ 2025 ПО 02 МАРТА 2026 ГОДА ОТДЕЛ ЗАПЧАСТЕЙ И СЕРВИС РАБОТАТЬ НЕ БУДУТ
ПРОДАЖА ЛОДОЧНЫХ МОТОРОВ В ШТАТНОМ РЕЖИМЕ
ОБ ИЗМЕНЕНИЯХ В ГРАФИКЕ РАБОТЫ ЧИТАЙТЕ НА САЙТА



назад Раздел:   вперёд

Вернуться к выбору узлов мотора


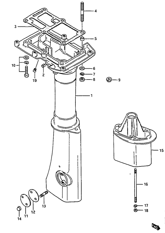
ДЕТАЛИРОВКА ДЛЯ МОДЕЛИ: SUZUKI DT6VJ(G-Y) J

Корпус вала передачи


Год выпуска двигателя: 1988

Номер на
рисунке
АртикулНаименованиеQTYКол-во
на складе
Цена
152110-98515-02M

(Model:86, -636762)

под заказнет сведений
152110-98561-0ED

Корпус вала передачи (s) (gray) - Housing, Drive Shaft (s) (gray) (Housing, drive shaft (s) ) (Housing, Drive Shaft (s) (gray))

под заказ0 руб.
152117-94400-000

Трубка контрольной струи - Tube, Water Inspection (Tube, Water Inspection)

под заказ330 руб.
152110-98561-0ED

Корпус вала передачи (s) (gray) - Housing, Drive Shaft (s) (gray) (Housing, drive shaft (s) # Housing, drive shaft (s); Model:87-00, ) (Housing, Drive Shaft (s) (gray))

под заказ0 руб.
152110-98526-02M

(Model:86, -636774)

под заказнет сведений
152110-98571-0ED

Корпус вала передачи (l) (gray) - Housing, Drive Shaft (l) (gray) (Housing, drive shaft (l/ul) ) (Housing, Drive Shaft (l) (gray))

под заказ0 руб.
152117-94400-000

Трубка контрольной струи - Tube, Water Inspection (Tube, Water Inspection)

под заказ330 руб.
152110-98571-0ED

Корпус вала передачи (l) (gray) - Housing, Drive Shaft (l) (gray) (Housing, drive shaft (l/ul) # Housing, drive shaft (l/ul); Model:86-00, ) (Housing, Drive Shaft (l) (gray))

под заказ0 руб.
209205-10006-000

Стопор пружины (10.2x10) - Pin, Spring (102x10) (Pin, clutch notch spring # Pin, clutch lever; ) (Pin, Spring (10.2x10))

под заказ390 руб.
352113-98510-000

Прокладка корпуса вала передачи - Gasket, Drive Shaft Housing (Gasket, Drive Shaft Housing)

7 шт2280 руб.
3SMO-52113-98510-000

   (не оригинальный аналог) Прокладка SMO-52113-98510-000 корпуса вала передачи (оригинал, давно лежит) - оригинал Suzuki

под заказ1400 руб.
3SMO-52113-98510-000

  (аналог) Прокладка SMO-52113-98510-000 корпуса вала передачи (оригинал, давно лежит) - оригинал Suzuki - код 52113-98510-000

 под заказ шт1400 руб.
409108-08147-000

Болт под шпильку - Bolt, Stud (Stud bolt # Stud bolt; ) (Bolt, Stud)

под заказ3840 руб.
509206-11006-000

Штифт (8.4x11x8) - Pin (84x11x8) (Pin, knock # Spacer; ) (Pin (8.4x11x8))

под заказ290 руб.
609160-08082-000

Шайба (8.5x16x1.2) - Washer (85x16x12) (Model:86-91 ) (Washer (8.5x16x1.2))

13 шт120 руб.
709162-08007-000

Шайба с блокировкой - Washer, Lock (Lock washer # Model:86-91 ) (Washer, Lock)

под заказ160 руб.
809140-08016-000

Гайка - Nut (Model:86-91) (Nut)

под заказ190 руб.
809140-08023-XC0

Гайка - Nut (Nut)

14 шт190 руб.
909159-08104-000

Гайка - Nut (Model:92-00 ) (Nut)

под заказ440 руб.
1009118-08112-000

Болт (8x30) - Bolt (8x30) (Bolt (8x30);) (Bolt (8x30))

под заказ520 руб.
1009117-08047-000

   (актуальный код замены) Болт (8x30) - Bolt (8x30)

10 шт520 руб.
1009117-08047-000

Болт (8x30) - Bolt (8x30) (Bolt (8x30))

10 шт520 руб.
1152115-98501-0ED

Крышка, Сцепление Adj Hole (gray) - Cover, Clutch Adj Hole (gray) (Cover, clutch adjusting hole # Cover, clutch adjusting hole; ) (Cover, Clutch Adj Hole (gray))

под заказ7160 руб.
1252116-98510-000

Прокладка, Сцепление Adjust Hole - Gasket, Clutch Adjust Hole (Gasket, clutch adjust hole ) (Gasket, Clutch Adjust Hole)

под заказ620 руб.
1309108-05011-000

Запчасть снята с производства - The Spare Part Is Laid Off (The Spare Part Is Laid Off)

под заказ0 руб.
1409145-05001-000

Гайка - Nut (Nut)

под заказ0 руб.
1552131-98102-0ED

Запчасть снята с производства - The Spare Part Is Laid Off (E13 -model:91) (The Spare Part Is Laid Off)

под заказ0 руб.
1609108-08148-000

Запчасть снята с производства - The Spare Part Is Laid Off (E13 -model:91) (The Spare Part Is Laid Off)

под заказ0 руб.
1709162-08007-000

Шайба с блокировкой - Washer, Lock (Lock washer # E13 -model:91 ) (Washer, Lock)

под заказ160 руб.
1809140-08016-000

Гайка - Nut (E13 -model:91) (Nut)

под заказ190 руб.
1809140-08023-XC0

Гайка - Nut (Nut)

14 шт190 руб.
1952117-94400-000

Трубка контрольной струи - Tube, Water Inspection (Tube, water insp; Model:88-99 ) (Tube, Water Inspection)

под заказ330 руб.


Время выполнения запроса 1.4337930679321 сек.

 
 

данный сайт носит информационный характер и не является публичной офертой

склад запчастей для водомоторной техники