Оригинальные запчасти на подвесной двигатель Сузуки модель 1989 года - Engine cover / Крышка двигателя (капот)
вконтакте

Контактный телефон: +7 (981) 121-46-93, +7 (800) 200-90-76 , Email: parts-katalog@yandex.ru, где купить

 
 

  Логин:

Пароль:

Регистрация

www.partskatalog.ru Все каталоги Запчасти Mercury Запчасти Suzuki Запчасти Tohatsu Запчасти Honda Контакты

назад Раздел:   вперёд

Вернуться к выбору узлов мотора


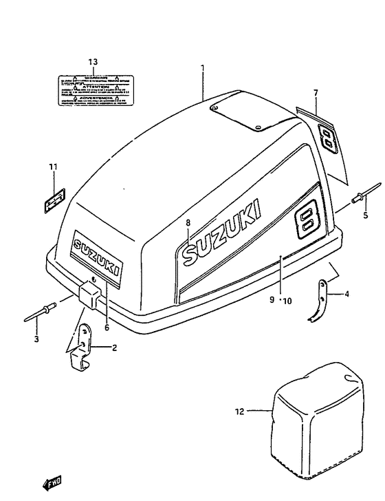
ДЕТАЛИРОВКА ДЛЯ МОДЕЛИ: SUZUKI DT6SK(G-Y) K

Крышка двигателя (капот)


Год выпуска двигателя: 1989

Номер на
рисунке
АртикулНаименованиеQTYКол-во
на складе
Цена
161410-98104-0ED

Запчасть снята с производства - The Spare Part Is Laid Off (The Spare Part Is Laid Off)

под заказ0 руб.
261412-94300-000

Крючок капота двигателя - Hook, Engine Cover (Hook, engine cover ) (Hook, Engine Cover)

под заказ0 руб.
309229-04018-000

Запчасть снята с производства - The Spare Part Is Laid Off (The Spare Part Is Laid Off)

под заказ180 руб.
461611-93000-000

Защелка, Крышка - Fastener, Cover (Fastener, Cover)

под заказ0 руб.
509229-04007-000

Заклёпка - Rivet (Rivet)

под заказ0 руб.
661422-93960-70G

Запчасть снята с производства - The Spare Part Is Laid Off (Mark, emblem front;) (The Spare Part Is Laid Off)

под заказ0 руб.
761435-98140-70G

Запчасть снята с производства - The Spare Part Is Laid Off (-model:88) (The Spare Part Is Laid Off)

под заказ0 руб.
761435-99150-70G

Запчасть снята с производства - The Spare Part Is Laid Off (Model:89-93) (The Spare Part Is Laid Off)

под заказ0 руб.
868111-47C00-019

Эмблема - Emblem (Emblem, suzuki; -model:88) (Emblem)

под заказ1560 руб.
868111-47C10-019

   (актуальный код замены) Эмблема - Emblem

под заказ1560 руб.
868111-47C10-019

Эмблема - Emblem (Emblem)

под заказ1560 руб.
861441-98620-000

Запчасть снята с производства - The Spare Part Is Laid Off (Model:89-93) (The Spare Part Is Laid Off)

под заказ0 руб.
961443-99180-70G

Запчасть снята с производства - The Spare Part Is Laid Off (The Spare Part Is Laid Off)

под заказ0 руб.
1061453-99180-70G

Запчасть снята с производства - The Spare Part Is Laid Off (The Spare Part Is Laid Off)

под заказ0 руб.
1121131-96003-000

Маркировка переключателя сцепления - Mark, Clutch Shift (Mark, Clutch Shift)

под заказ160 руб.
1121131-91J00-YAY

   (актуальный код замены) Маркировка переключателя сцепления - Mark, Clutch Shift

2 шт160 руб.
1121131-96010-000

Маркировка переключателя сцепления - Mark, Clutch Shift (Mark, shift ) (Mark, Clutch Shift)

под заказ160 руб.
1121131-91J00-YAY

   (актуальный код замены) Маркировка переключателя сцепления - Mark, Clutch Shift

2 шт160 руб.
1268110-96110-000

Крышка двигателя (капот) - Engine Cover (Opt ) (Engine Cover)

под заказ0 руб.
1361582-98100-000

Маркировка, Warning - Mark, Warning (Mark, warning; ) (Mark, Warning)

под заказ0 руб.


Время выполнения запроса 0.65135979652405 сек.

 
 

данный сайт носит информационный характер и не является публичной офертой

склад запчастей для водомоторной техники