Купить комплектующие на подвесной двигатель Suzuki модель 1995 года - Магнето
вконтакте

Контактный телефон: +7 (981) 121-46-93, +7 (800) 200-90-76 , Email: parts-katalog@yandex.ru, где купить

 
 

  Логин:

Пароль:

Регистрация

www.partskatalog.ru Все каталоги Запчасти Mercury Запчасти Suzuki Запчасти Tohatsu Запчасти Honda Контакты

назад Раздел:   вперёд

Вернуться к выбору узлов мотора


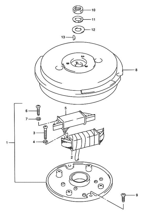
ДЕТАЛИРОВКА ДЛЯ МОДЕЛИ: SUZUKI DT6S S

Магнето


Год выпуска двигателя: 1995

Цвет: California Gray Metallic

Номер на
рисунке
АртикулНаименованиеQTYКол-во
на складе
Цена
132101-99100-000

Запчасть снята с производства - The Spare Part Is Laid Off (DT6/DT8) (The Spare Part Is Laid Off)

под заказ0 руб.
132101-99110-000

Запчасть снята с производства - The Spare Part Is Laid Off (DT5) (The Spare Part Is Laid Off)

под заказ0 руб.
132101-99100-000

   (актуальный код замены) Запчасть снята с производства - The Spare Part Is Laid Off

под заказ0 руб.
132101-99100-000

Запчасть снята с производства - The Spare Part Is Laid Off (The Spare Part Is Laid Off)

под заказ0 руб.
232140-99100-000

Первичная катушка зажигания - Coil, Ignition Primary (Coil, ignition primary ) (Coil, Ignition Primary)

под заказ16610 руб.
302112-05253-000

Винт - Screw (Screw)

под заказ120 руб.
302112-0525A-000

   (актуальный код замены) Винт - Screw

под заказ120 руб.
302112-0525A-000

Винт - Screw (Screw)

под заказ120 руб.
408321-01053-000

Шайба с блокировкой - Washer, Lock (Washer, Lock)

под заказ170 руб.
408321-0105B-000

   (актуальный код замены) Шайба с блокировкой - Washer, Lock

под заказ170 руб.
408321-0105B-000

Шайба с блокировкой - Washer, Lock (Washer, Lock)

под заказ170 руб.
532200-99100-000

Lighting Coil Set - Lighting Coil Set (Lighting coil set # DT6/DT8:STD DT5:OPT ) (Lighting Coil Set)

под заказ0 руб.
602112-05303-000

Винт - Screw (Screw)

под заказ140 руб.
602112-0530A-000

   (актуальный код замены) Винт - Screw

под заказ140 руб.
602112-0530A-000

Винт - Screw (Screw)

под заказ140 руб.
708321-01053-000

Шайба с блокировкой - Washer, Lock (Washer, Lock)

под заказ170 руб.
708321-0105B-000

   (актуальный код замены) Шайба с блокировкой - Washer, Lock

под заказ170 руб.
708321-0105B-000

Шайба с блокировкой - Washer, Lock (Washer, Lock)

под заказ170 руб.
832102-99100-000

Маховик - Flywheel (Flywheel)

под заказ0 руб.
902122-05123-000

Винт - Screw (Screw)

под заказ130 руб.
902122-0512A-000

   (актуальный код замены) Винт - Screw

под заказ130 руб.
902122-0512A-000

Винт - Screw (Screw)

под заказ130 руб.
1009140-12038-000

Гайка - Nut (Nut)

9 шт240 руб.
1108321-01123-000

Шайба с блокировкой - Washer, Lock (Washer, Lock)

под заказ140 руб.
1108321-0112A-000

   (актуальный код замены) Шайба с блокировкой - Washer, Lock

под заказ140 руб.
1108321-0112A-000

Шайба с блокировкой - Washer, Lock (Washer, Lock)

под заказ140 руб.
1208322-01123-000

Шайба - Washer (Washer)

под заказ170 руб.
1208322-0112B-000

   (актуальный код замены) Шайба - Washer

под заказ170 руб.
1208322-0112B-000

Шайба - Washer (Washer)

под заказ170 руб.
1308341-31039-000

Ключ - Key (Key)

84 шт180 руб.


Время выполнения запроса 3.01322889328 сек.

 
 

данный сайт носит информационный характер и не является публичной офертой

склад запчастей для водомоторной техники