| |
 |
|
 |
Вернуться к выбору узлов мотора
ДЕТАЛИРОВКА ДЛЯ МОДЕЛИ: SUZUKI DT6SY(G-Y) Y
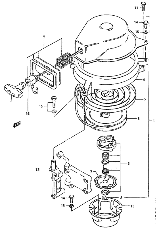
Стартер
Год выпуска двигателя: 2000
Регион: General Export No.1 ,Код региона: P01
Цвет: Francois Whte №2California Gray MetallicShadow Black MetallicBlack
Номер на рисунке | Артикул | Наименование | QTY | Кол-во на складе | Цена |
| 1 | 18100-98120-291 | Запчасть снята с производства - The Spare Part Is Laid Off (The Spare Part Is Laid Off) | | под заказ | 0 руб. |
| 2 | 18210-93500-000 | Рукоятка - Grip (Grip assy; ) (Grip) | | под заказ | 0 руб. |
| 3 | 18130-98120-000 | Запчасть снята с производства - The Spare Part Is Laid Off (The Spare Part Is Laid Off) | | под заказ | 0 руб. |
| 4 | 18190-98120-000 | Направляющая Set - Guide Set (Guide Set) | | под заказ | 4320 руб. |
| 5 | 18142-98310-000 | Барабанная пружина - Spring, Recoil (Spring, Recoil) | | под заказ | 0 руб. |
| 6 | 18121-98310-000 | Барабан - Reel (Reel) | | под заказ | 3630 руб. |
| 7 | 18151-98320-000 | Пластина трения - Plate, Friction (Plate, Friction) | | под заказ | 380 руб. |
| 8 | 18178-98310-000 | Стопорное кольцо - Circlip (Circlip ) (Circlip) | | под заказ | 100 руб. |
| 9 | 14312-98100-0ED | Запчасть снята с производства - The Spare Part Is Laid Off (The Spare Part Is Laid Off) | | под заказ | 0 руб. |
| 10 | 01550-06357-000 | Болт - Bolt (Bolt, throttle lever no.2 # Bolt (6x35); ) (Bolt) | | 9 шт | 210 руб. |
| 11 | 09117-06046-000 | Запчасть снята с производства - The Spare Part Is Laid Off (Bolt (6x20);) (The Spare Part Is Laid Off) | | под заказ | 0 руб. |
| 12 | 18711-98500-0ED | Запчасть снята с производства - The Spare Part Is Laid Off (Dt5) (The Spare Part Is Laid Off) | | под заказ | 0 руб. |
| 12 | 18711-98100-0ED | Brace, Барабанный стартер - Brace, Recoil Starter (Brace, recoil starter # Dt6/8 ) (Brace, Recoil Starter) | | под заказ | 2120 руб. |
| 13 | 18411-98100-000 | Запчасть снята с производства - The Spare Part Is Laid Off (The Spare Part Is Laid Off) | | под заказ | 0 руб. |
| 14 | 01570-06127-000 | Болт - Bolt (Bolt, remocon cable stopper ) (Bolt) | | под заказ | 190 руб. |
| 15 | 08321-01067-000 | Шайба с блокировкой - Washer, Lock (Washer, Lock) | | под заказ | 140 руб. |
| 16 | 99000-81158-50M | Шнур стартера 5 ммdia, 50m Role - Starter Rope 5mmdia, 50m Role (Opt, l:50000->1500 ) (Starter Rope 5mmdia, 50m Role) | | 1 шт | 23090 руб. |
Время выполнения запроса 1.8066620826721 сек. |
|