Оригинальные запчасти на подвесной мотор Suzuki модель 2000 года - Картер коробки передач - Gear case
вконтакте

Контактный телефон: +7 (981) 121-46-93, +7 (800) 200-90-76 , Email: parts-katalog@yandex.ru, где купить

 
 

  Логин:

Пароль:

Регистрация

www.partskatalog.ru Все каталоги Запчасти Mercury Запчасти Suzuki Запчасти Tohatsu Запчасти Honda Контакты



УВАЖАЕМЫЕ КЛИЕНТЫ!
C 19 ДЕКАБРЯ 2025 ПО 02 МАРТА 2026 ГОДА ОТДЕЛ ЗАПЧАСТЕЙ И СЕРВИС РАБОТАТЬ НЕ БУДУТ
ПРОДАЖА ЛОДОЧНЫХ МОТОРОВ В ШТАТНОМ РЕЖИМЕ
ОБ ИЗМЕНЕНИЯХ В ГРАФИКЕ РАБОТЫ ЧИТАЙТЕ НА САЙТА



назад Раздел:   вперёд

Вернуться к выбору узлов мотора


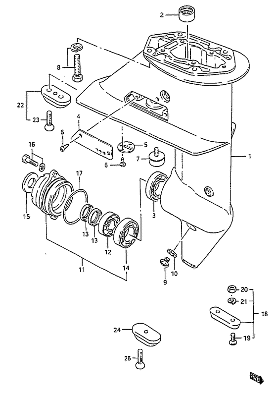
ДЕТАЛИРОВКА ДЛЯ МОДЕЛИ: SUZUKI DT6Y(G-Y) Y

Картер коробки передач


Год выпуска двигателя: 2000

Номер на
рисунке
АртикулНаименованиеQTYКол-во
на складе
Цена
155110-98541-0ED

под заказнет сведений
109116-06094-000

Болт (6x15) - Bolt (6x15) (Bolt (6x15))

20 шт270 руб.
155112-98510-0ED

Крышка картера коробки передач Side (gray) - Cover, Gear Case Side (gray) (Cover, gear case side ) (Cover, Gear Case Side (gray))

под заказ0 руб.
155321-90L00-000

Zinc, Protection - Zinc, Protection (Zinc, Protection)

под заказ540 руб.
155110-98551-0ED

Запчасть снята с производства - The Spare Part Is Laid Off (The Spare Part Is Laid Off)

под заказ0 руб.
209263-14010-000

Подшипник (14x22x16) - Bearing (14x22x16) (Bearing, pinion ) (Bearing (14x22x16))

под заказ1320 руб.
309262-20106-000

Подшипник (20x42x12) - Bearing (20x42x12) (Bearing ) (Bearing (20x42x12))

6 шт2300 руб.
36004C3KOYO

   (подбор по маркировке) Подшипник KOYO 6004C3(20*42*12 мм)

3 шт190 руб.
455112-98501-0ED

Запчасть снята с производства - The Spare Part Is Laid Off (The Spare Part Is Laid Off)

под заказ0 руб.
455112-98510-0ED

Крышка картера коробки передач Side (gray) - Cover, Gear Case Side (gray) (Cover, gear case side # Model:97-00 ) (Cover, Gear Case Side (gray))

под заказ0 руб.
555114-98502-000

Крышка, Lwr Корпус Under - Cover, Lwr Housing Under (Cover, gear case lower ) (Cover, Lwr Housing Under)

под заказ230 руб.
609132-04022-000

Винт (4x10) - Screw (4x10) (Tapping screw # Screw (4x10); ) (Screw (4x10))

под заказ0 руб.
711130-94600-000

Zink, Цилиндр - Zink, Cylinder (Zink, protection # Zinc, protection; ) (Zink, Cylinder)

под заказ1370 руб.
809117-08047-000

Болт (8x30) - Bolt (8x30) (Bolt (8x30); ) (Bolt (8x30))

10 шт520 руб.
909248-10008-000

Заглушка (10x7.5) - Plug (10x75) (Plug, drain; ) (Plug (10x7.5))

120 шт500 руб.
1009168-10022-000

Прокладка (10x17x1.5) - Gasket (10x17x15) (Gasket (10x17x1.5))

2205 шт150 руб.
1156110-98520-0ED

Корпус подшипника вала гребного винта - Housing, Propeller Sft Brg (Housing, Propeller Sft Brg)

под заказ31920 руб.
1156110-98521-0ED

   (актуальный код замены) Корпус подшипника вала гребного винта - Housing, Propeller Sft Brg

под заказ31920 руб.
1156110-98521-0ED

Корпус подшипника вала гребного винта - Housing, Propeller Sft Brg (Housing, Propeller Sft Brg)

под заказ31920 руб.
1209262-14001-000

Подшипник (14x35x10) - Bearing (14x35x10) (Bearing, prop shaft # Bearing, prop shaft; ) (Bearing (14x35x10))

2 шт2900 руб.
126003C3KOYO

   (подбор по маркировке) Подшипник KOYO 6003C3(14*35*10 мм)

под заказ0
1309282-14002-000

Сальник (14x24x5) - Seal, Oil (14x24x5) (Seal, prop shaft oil # Seal, prop shaft oil; ) (Seal, Oil (14x24x5))

7 шт520 руб.
1409262-20106-000

Подшипник (20x42x12) - Bearing (20x42x12) (Bearing # Bearing, reverse gear; ) (Bearing (20x42x12))

6 шт2300 руб.
146004C3KOYO

   (подбор по маркировке) Подшипник KOYO 6004C3(20*42*12 мм)

3 шт190 руб.
1556122-98500-000

Защита, Hsg Prop Вал Brg - Protector, Hsg Prop Shaft Brg (Protector, hsg prop # Protector, hsg prop; ) (Protector, Hsg Prop Shaft Brg)

под заказ400 руб.
1556122-98501-000

   (актуальный код замены) Защита, Hsg Prop Вал Brg - Protector, Hsg Prop Shaft Brg

под заказ400 руб.
1609117-06031-000

Болт (6x20) - Bolt (6x20) (Bolt (6x20) # Bolt (6x20); ) (Bolt (6x20))

под заказ270 руб.
1709280-48003-000

Уплотнительное кольцо (d: 3.5, Id: 47.7) - O Ring (d:35, Id:477) (O ring, bearing housing # O ring (d:3.5 id:47.7); ) (O Ring (d:3.5, Id:47.7))

5 шт300 руб.
1855300-95500-000

Цинковая защита, в сборе - Zinc Assy, Protection (Zinc, protection # Opt ) (Zinc Assy, Protection)

2 шт1940 руб.
1909126-06006-000

Винт (6x20) - Screw (6x20) (Screw (6x20); Opt ) (Screw (6x20))

под заказ150 руб.
2009140-06020-000

Гайка - Nut (Opt ) (Nut)

9 шт150 руб.
2109162-06006-000

Шайба с блокировкой - Washer, Lock (Lock washer # Opt ) (Washer, Lock)

под заказ160 руб.
2255321-93910-000

Zinc, Protection - Zinc, Protection (Model:89-94 ) (Zinc, Protection)

под заказ0 руб.
2309126-06008-000

Винт (6x16) - Screw (6x16) (Screw (6x16); Model:89-94 ) (Screw (6x16))

под заказ220 руб.
2441811-98500-000

Zinc, Protection - Zinc, Protection (Zinc, portection; Model:95-00) (Zinc, Protection)

3 шт540 руб.
2455321-90L00-000

   (актуальный код замены) Zinc, Protection

под заказ540 руб.
2455321-90L00-000

Zinc, Protection - Zinc, Protection (Zinc, Protection)

под заказ540 руб.
2509116-06105-000

Болт (6x15) - Bolt (6x15) (Bolt (6x16); Model:95-00) (Bolt (6x15))

под заказ230 руб.
2509116-06094-000

   (актуальный код замены) Болт (6x15) - Bolt (6x15)

20 шт270 руб.
2509116-06094-000

Болт (6x15) - Bolt (6x15) (Bolt (6x15))

20 шт270 руб.


Время выполнения запроса 2.2219290733337 сек.

 
 

данный сайт носит информационный характер и не является публичной офертой

склад запчастей для водомоторной техники