Купить оригинальные запчасти на лодочный мотор Suzuki модель 1983 года - Сцепление / Clutch
вконтакте

Контактный телефон: +7 (981) 121-46-93, +7 (800) 200-90-76 , Email: parts-katalog@yandex.ru, где купить

 
 

  Логин:

Пароль:

Регистрация

www.partskatalog.ru Все каталоги Запчасти Mercury Запчасти Suzuki Запчасти Tohatsu Запчасти Honda Контакты



УВАЖАЕМЫЕ КЛИЕНТЫ!
C 19 ДЕКАБРЯ 2025 ПО 02 МАРТА 2026 ГОДА ОТДЕЛ ЗАПЧАСТЕЙ И СЕРВИС РАБОТАТЬ НЕ БУДУТ
ПРОДАЖА ЛОДОЧНЫХ МОТОРОВ В ШТАТНОМ РЕЖИМЕ
ОБ ИЗМЕНЕНИЯХ В ГРАФИКЕ РАБОТЫ ЧИТАЙТЕ НА САЙТА



назад Раздел:   вперёд

Вернуться к выбору узлов мотора


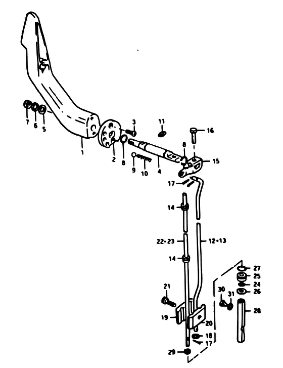
ДЕТАЛИРОВКА ДЛЯ МОДЕЛИ: SUZUKI DT7.5 D

Сцепление


Год выпуска двигателя: 1983

Номер на
рисунке
АртикулНаименованиеQTYКол-во
на складе
Цена
121111-93100-01J

Запчасть снята с производства - The Spare Part Is Laid Off (TO 21111-93101-01J) (The Spare Part Is Laid Off)

под заказ0 руб.
121111-93500-02M

   (актуальный код замены) Запчасть снята с производства - The Spare Part Is Laid Off

под заказ0 руб.
121111-93101-01J

Запчасть снята с производства - The Spare Part Is Laid Off (TO 21111-93102-01J) (The Spare Part Is Laid Off)

под заказ0 руб.
121111-93500-02M

   (актуальный код замены) Запчасть снята с производства - The Spare Part Is Laid Off

под заказ0 руб.
121111-93103-01J

Запчасть снята с производства - The Spare Part Is Laid Off (FROM 21111-93102-01J) (The Spare Part Is Laid Off)

под заказ0 руб.
121111-93500-02M

   (актуальный код замены) Запчасть снята с производства - The Spare Part Is Laid Off

под заказ0 руб.
221112-93100-000

Запчасть снята с производства - The Spare Part Is Laid Off (The Spare Part Is Laid Off)

под заказ0 руб.
302122-04128-000

Винт - Screw (Screw)

под заказ170 руб.
302122-0412B-000

   (актуальный код замены) Винт - Screw

под заказ170 руб.
302122-0412B-000

Винт - Screw (Screw)

под заказ170 руб.
421211-93100-000

Запчасть снята с производства - The Spare Part Is Laid Off (L:72, TO 21211-93101) (The Spare Part Is Laid Off)

под заказ0 руб.
421211-93101-000

   (актуальный код замены) Запчасть снята с производства - The Spare Part Is Laid Off

под заказ0 руб.
508322-11088-000

Шайба - Washer (Washer)

под заказ140 руб.
508322-01087-000

   (актуальный код замены) Шайба - Washer

под заказ140 руб.
508322-01087-000

Шайба - Washer (Lock washer ) (Washer)

под заказ140 руб.
509160-08015-000

Шайба (8.5x16x1.2) - Washer (85x16x12) (Washer (8.5x16x1.2))

под заказ120 руб.
509160-08082-000

   (актуальный код замены) Шайба (8.5x16x1.2) - Washer (8.5x16x1.2)

13 шт120 руб.
509160-08082-000

Шайба (8.5x16x1.2) - Washer (85x16x12) (Washer (8.5x16x1.2))

13 шт120 руб.
609162-08003-000

Шайба с блокировкой - Washer, Lock (Washer, Lock)

под заказ160 руб.
609162-08007-000

   (актуальный код замены) Шайба с блокировкой - Washer, Lock

под заказ160 руб.
609162-08007-000

Шайба с блокировкой - Washer, Lock (Lock washer ) (Washer, Lock)

под заказ160 руб.
709140-08003-000

Гайка - Nut (Nut)

под заказ190 руб.
709140-08016-000

   (актуальный код замены) Гайка - Nut

под заказ190 руб.
709140-08023-XC0

Гайка - Nut (Nut)

14 шт190 руб.
809280-09003-000

Уплотнительное кольцо (d: 1.9, Id: 8.6) - O Ring (d:19, Id:86) (ID:8.8, D:1.9) (O Ring (d:1.9, Id:8.6))

под заказ280 руб.
809280-09005-000

   (актуальный код замены) Уплотнительное кольцо (d: 1.9, Id: 8.6) - O Ring (d:1.9, Id:8.6)

9 шт390 руб.
809280-09005-000

Уплотнительное кольцо (d: 1.9, Id: 8.6) - O Ring (d:19, Id:86) (O Ring (d:1.9, Id:8.6))

9 шт390 руб.
909260-10003-000

Шарик - Ball (Ball)

под заказ190 руб.
909260-10005-000

   (актуальный код замены) Шарик - Ball

4 шт210 руб.
909260-10005-000

Шарик - Ball (Steel ball ) (Ball)

4 шт210 руб.
1009440-07021-000

Пружина - Spring (Spring, clutch notch ) (Spring)

под заказ160 руб.
1122511-99000-000

Ниппель смазки - Nipple, Grease (Nipple, Grease)

под заказ340 руб.
1122511-99011-000

   (актуальный код замены) Ниппель смазки - Nipple, Grease

9 шт400 руб.
1122511-99011-000

Ниппель смазки - Nipple, Grease (Nipple, Grease)

9 шт400 руб.
1223111-99102-000

Запчасть снята с производства - The Spare Part Is Laid Off (S TYPE, L:407) (The Spare Part Is Laid Off)

под заказ0 руб.
1323111-99202-000

Запчасть снята с производства - The Spare Part Is Laid Off (L TYPE, L:560) (The Spare Part Is Laid Off)

под заказ0 руб.
1409305-06006-000

Втулка - Bush (Bush)

под заказ270 руб.
1409320-05023-000

   (актуальный код замены) Втулка - Bush

8 шт540 руб.
1409320-05017-000

Втулка - Bush (Bushing ) (Bush)

под заказ270 руб.
1409320-05023-000

   (актуальный код замены) Втулка - Bush

8 шт540 руб.
1523211-99002-000

Запчасть снята с производства - The Spare Part Is Laid Off (FROM 23211-99001) (The Spare Part Is Laid Off)

под заказ0 руб.
1609100-06019-000

Болт - Bolt (6X16) (Bolt)

под заказ180 руб.
1601550-06167-000

   (актуальный код замены) Болт - Bolt

9 шт210 руб.
1601550-06167-000

Болт - Bolt (Bolt)

9 шт210 руб.
1709204-01001-000

(OD:1.8, L:10)

под заказнет сведений
1709204-01002-000

Штифт - Pin (Cotter pin ) (Pin)

24 шт140 руб.
1809160-06015-000

Шайба (6.5x13x1.0) - Washer (65x13x10) (6.5X11.5X0.8) (Washer (6.5x13x1.0))

под заказ120 руб.
1809160-06082-000

   (актуальный код замены) Шайба (6.5x13x1.0) - Washer (6.5x13x1.0)

7 шт150 руб.
1809160-06082-000

Шайба (6.5x13x1.0) - Washer (65x13x10) (Washer (6.5x13x1.0))

7 шт150 руб.
1923311-99001-000

Коннектор тяги сцепления №1 - Connector, Clutch Rod No1 (Connector, clutch rod (1) ) (Connector, Clutch Rod No.1)

под заказ1460 руб.
2023321-99001-000

Коннектор тяги сцепления №2 - Connector, Clutch Rod No2 (Connector, clutch rod (2) ) (Connector, Clutch Rod No.2)

под заказ1560 руб.
2109100-06020-000

Болт (6x20) - Bolt (6x20) (6X20) (Bolt (6x20))

под заказ0 руб.
2109100-06122-000

   (актуальный код замены) Запчасть снята с производства - The Spare Part Is Laid Off

под заказ0 руб.
2109100-06122-000

Болт (6x20) - Bolt (6x20) (Bolt (6x20))

под заказ0 руб.
2225111-99700-000

Запчасть снята с производства - The Spare Part Is Laid Off (S TYPE, L:345) (The Spare Part Is Laid Off)

под заказ0 руб.
2325111-99005-000

Запчасть снята с производства - The Spare Part Is Laid Off (L TYPE, L:498) (The Spare Part Is Laid Off)

под заказ0 руб.
2409280-06004-000

Уплотнительное кольцо (d: 3.5, Id: 5.8) - O Ring (d:35, Id:58) (O ring, shifting rod # ID:5.8, D:3.5 ) (O Ring (d:3.5, Id:5.8))

27 шт200 руб.
2525211-99004-000

Запчасть снята с производства - The Spare Part Is Laid Off (The Spare Part Is Laid Off)

под заказ0 руб.
2608212-06151-000

Шайба - Washer (Washer (t:1.0) ) (Washer)

9 шт120 руб.
2709280-11001-000

Уплотнительное кольцо (d: 2.4, Id: 10.8) - O Ring (d:24, Id:108) (O ring (d:2.4, id:11.0) # ID:11, D:2.4 ) (O Ring (d:2.4, Id:10.8))

28 шт210 руб.
27SK09280-11001

   (не оригинальный аналог) Кольцо уплотнительное тяги переключения передач Skipper для Suzuki Модели техники: DT20-85/DF2.5-DF50/DF40A-DF60A

0 шт32 руб.
2825311-99004-000

Запчасть снята с производства - The Spare Part Is Laid Off (The Spare Part Is Laid Off)

под заказ0 руб.
2908310-11068-000

Гайка - Nut (Nut)

под заказ140 руб.
2908310-00067-000

   (актуальный код замены) Гайка - Nut

под заказ140 руб.
2908310-00067-000

Гайка - Nut (Nut)

под заказ140 руб.
3009139-06003-000

Винт (6x9.5) - Screw (6x95) (Screw (6x9.5))

под заказ0 руб.
3009139-06035-000

   (актуальный код замены) Запчасть снята с производства - The Spare Part Is Laid Off

под заказ0 руб.
3009139-06035-000

Винт (6x9.5) - Screw (6x95) (Screw (6x9.5))

под заказ0 руб.
3109168-06002-000

Прокладка (6.2x11x1.2) - Gasket (62x11x12) (6.2X12X1.5) (Gasket (6.2x11x1.2))

под заказ120 руб.
3109168-06004-000

   (актуальный код замены) Прокладка (6.2x11x1.2) - Gasket (6.2x11x1.2)

под заказ120 руб.
3109168-06004-000

Прокладка (6.2x11x1.2) - Gasket (62x11x12) (Washer (6x11.8x1.5) ) (Gasket (6.2x11x1.2))

под заказ120 руб.


Время выполнения запроса 2.2746489048004 сек.

 
 

данный сайт носит информационный характер и не является публичной офертой

склад запчастей для водомоторной техники