Подобрать запчасти на лодочный подвесной мотор Suzuki модель 1985 года - Electrical - Электрика
вконтакте

Контактный телефон: +7 (981) 121-46-93, +7 (800) 200-90-76 , Email: parts-katalog@yandex.ru, где купить

 
 

  Логин:

Пароль:

Регистрация

www.partskatalog.ru Все каталоги Запчасти Mercury Запчасти Suzuki Запчасти Tohatsu Запчасти Honda Контакты



УВАЖАЕМЫЕ КЛИЕНТЫ!
C 19 ДЕКАБРЯ 2025 ПО 02 МАРТА 2026 ГОДА ОТДЕЛ ЗАПЧАСТЕЙ И СЕРВИС РАБОТАТЬ НЕ БУДУТ
ПРОДАЖА ЛОДОЧНЫХ МОТОРОВ В ШТАТНОМ РЕЖИМЕ
ОБ ИЗМЕНЕНИЯХ В ГРАФИКЕ РАБОТЫ ЧИТАЙТЕ НА САЙТА



назад Раздел:   вперёд

Вернуться к выбору узлов мотора


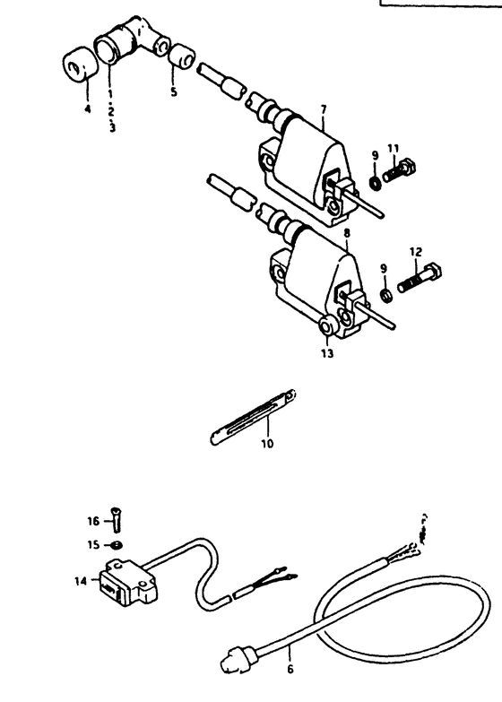
ДЕТАЛИРОВКА ДЛЯ МОДЕЛИ: SUZUKI DT7.5F F

Электрика


Год выпуска двигателя: 1985

Регион: Japan

Номер на
рисунке
АртикулНаименованиеQTYКол-во
на складе
Цена
133510-28300-000

Запчасть снята с производства - The Spare Part Is Laid Off (The Spare Part Is Laid Off)

под заказ0 руб.
233510-22010-000

Колпачок свечи зажигания - Cap Assy, Spark Plug (E28 ) (Cap Assy, Spark Plug)

1 шт2130 руб.
333510-41111-000

Колпачок свечи зажигания - Cap, Spark Plug (E13, to 33510-95510) (Cap, Spark Plug)

под заказ1900 руб.
333510-20A02-000

   (актуальный код замены) Колпачок свечи зажигания - Cap, Spark Plug

под заказ1900 руб.
333510-20A02-000

Колпачок свечи зажигания - Cap, Spark Plug (Cap, Spark Plug)

под заказ1900 руб.
433541-98002-000

Запчасть снята с производства - The Spare Part Is Laid Off (The Spare Part Is Laid Off)

под заказ0 руб.
533542-98000-000

Сальник высоковольтного провода - Seal, High Tension Cord (Seal, High Tension Cord)

под заказ340 руб.
533542-38B00-000

   (актуальный код замены) Сальник высоковольтного провода - Seal, High Tension Cord

под заказ340 руб.
533542-38B00-000

Сальник высоковольтного провода - Seal, High Tension Cord (Seal, hightension cord ) (Seal, High Tension Cord)

под заказ340 руб.
637870-93112-000

Переключатель в сборе, Stop - Switch Assy, Stop (To 37870-93113) (Switch Assy, Stop)

под заказ0 руб.
637800-98572-000

   (актуальный код замены) Запчасть снята с производства - The Spare Part Is Laid Off

под заказ0 руб.
637800-98572-000

Переключатель в сборе, Stop - Switch Assy, Stop (Switch assy, engine stop ) (Switch Assy, Stop)

под заказ0 руб.
637800-93150-000

Переключатель в сборе, Stop - Switch Assy, Stop (From 37870-93113) (Switch Assy, Stop)

под заказ0 руб.
637800-98572-000

   (актуальный код замены) Запчасть снята с производства - The Spare Part Is Laid Off

под заказ0 руб.
637800-98572-000

Переключатель в сборе, Stop - Switch Assy, Stop (Switch assy, engine stop ) (Switch Assy, Stop)

под заказ0 руб.
733411-96130-000

Запчасть снята с производства - The Spare Part Is Laid Off (The Spare Part Is Laid Off)

под заказ0 руб.
833412-96130-000

Запчасть снята с производства - The Spare Part Is Laid Off (To 33411-98130) (The Spare Part Is Laid Off)

под заказ0 руб.
908321-21068-000

Шайба с блокировкой - Washer, Lock (Washer, Lock)

под заказ140 руб.
908321-01067-000

   (актуальный код замены) Шайба с блокировкой - Washer, Lock

под заказ140 руб.
908321-01067-000

Шайба с блокировкой - Washer, Lock (Washer, Lock)

под заказ140 руб.
1009404-06401-000

Струбцина (l: 45) - Clamp (l:45) (Clamp (l:45))

под заказ170 руб.
1009404-06031-000

   (актуальный код замены) Струбцина, Rsvr Tank Ovfl Шланг - Clamp, Rsvr Tank Ovfl Hose

под заказ170 руб.
1009404-06206-000

Струбцина (l: 45) - Clamp (l:45) (Clamp (l:45))

под заказ170 руб.
1009404-06031-000

   (актуальный код замены) Струбцина, Rsvr Tank Ovfl Шланг - Clamp, Rsvr Tank Ovfl Hose

под заказ170 руб.
1101107-06258-000

Болт - Bolt (Bolt)

под заказ150 руб.
1101500-06257-000

   (актуальный код замены) Болт - Bolt

под заказ150 руб.
1101500-06257-000

Болт - Bolt (Bolt)

под заказ150 руб.
1201107-06358-000

Болт - Bolt (Bolt)

под заказ190 руб.
1201500-06357-000

   (актуальный код замены) Болт - Bolt

под заказ190 руб.
1201500-06357-000

Болт - Bolt (Bolt)

под заказ190 руб.
1309180-06030-000

Проставка (6.5x10x10) - Spacer (65x10x10) (Spacer (6.5x10x10))

под заказ150 руб.
1309180-06310-000

   (актуальный код замены) Проставка (6.5x10x10) - Spacer (6.5x10x10)

под заказ150 руб.
1309180-06310-000

Проставка (6.5x10x10) - Spacer (65x10x10) (Spacer (6.8x10x10) ) (Spacer (6.5x10x10))

под заказ150 руб.
1439601-96711-000

Запчасть снята с производства - The Spare Part Is Laid Off (The Spare Part Is Laid Off)

под заказ0 руб.
1439601-96712-000

   (актуальный код замены) Запчасть снята с производства - The Spare Part Is Laid Off

под заказ0 руб.
1508322-21048-000

Шайба - Washer (Washer)

под заказ140 руб.
1508322-01047-000

   (актуальный код замены) Шайба - Washer

под заказ140 руб.
1508322-01047-000

Шайба - Washer (Washer)

под заказ140 руб.
1602112-04208-000

Винт - Screw (Screw)

под заказ100 руб.
1602112-0420A-000

   (актуальный код замены) Винт - Screw

под заказ100 руб.
1602112-0420A-000

Винт - Screw (Screw)

под заказ100 руб.


Время выполнения запроса 1.2593681812286 сек.

 
 

данный сайт носит информационный характер и не является публичной офертой

склад запчастей для водомоторной техники