Подобрать запчасти на лодочный мотор SUZUKI модель 1981 года - Трансмиссия - Transmission
вконтакте

Контактный телефон: +7 (981) 121-46-93, +7 (800) 200-90-76 , Email: parts-katalog@yandex.ru, где купить

 
 

  Логин:

Пароль:

Регистрация

www.partskatalog.ru Все каталоги Запчасти Mercury Запчасти Suzuki Запчасти Tohatsu Запчасти Honda Контакты



УВАЖАЕМЫЕ КЛИЕНТЫ!
C 19 ДЕКАБРЯ 2025 ПО 02 МАРТА 2026 ГОДА ОТДЕЛ ЗАПЧАСТЕЙ И СЕРВИС РАБОТАТЬ НЕ БУДУТ
ПРОДАЖА ЛОДОЧНЫХ МОТОРОВ В ШТАТНОМ РЕЖИМЕ
ОБ ИЗМЕНЕНИЯХ В ГРАФИКЕ РАБОТЫ ЧИТАЙТЕ НА САЙТА



назад Раздел:   вперёд

Вернуться к выбору узлов мотора


ДЕТАЛИРОВКА ДЛЯ МОДЕЛИ: SUZUKI DT8 J

Трансмиссия


Год выпуска двигателя: 1981

Цвет: Francois Whte №2

Номер на
рисунке
АртикулНаименованиеQTYКол-во
на складе
Цена
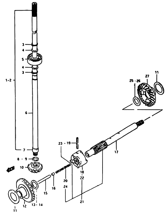
157110-98512-000

Запчасть снята с производства - The Spare Part Is Laid Off (MODEL G, TO 57110-98513) (The Spare Part Is Laid Off)

под заказ0 руб.
157110-98514-000

   (актуальный код замены) Запчасть снята с производства - The Spare Part Is Laid Off

под заказ0 руб.
157110-98513-000

Запчасть снята с производства - The Spare Part Is Laid Off (The Spare Part Is Laid Off)

под заказ0 руб.
157110-98514-000

   (актуальный код замены) Запчасть снята с производства - The Spare Part Is Laid Off

под заказ0 руб.
257110-98522-000

Запчасть снята с производства - The Spare Part Is Laid Off (MODEL G, TO 57110-98523) (The Spare Part Is Laid Off)

под заказ0 руб.
257110-98524-000

   (актуальный код замены) Запчасть снята с производства - The Spare Part Is Laid Off

под заказ0 руб.
257110-98523-000

Запчасть снята с производства - The Spare Part Is Laid Off (The Spare Part Is Laid Off)

под заказ0 руб.
257110-98524-000

   (актуальный код замены) Запчасть снята с производства - The Spare Part Is Laid Off

под заказ0 руб.
308331-31109-000

Стопорное кольцо - Circlip (Circlip)

под заказ130 руб.
408211-10161-000

Регулировочная шайба (10x16x1) - Shim (10x16x1) (Shim (10x16x1))

под заказ150 руб.
409181-10139-000

   (актуальный код замены) Регулировочная шайба (10x16x1) - Shim (10x16x1)

под заказ150 руб.
409181-10139-000

Регулировочная шайба (10x16x1) - Shim (10x16x1) (Shim (10x16x1))

под заказ150 руб.
509262-10002-000

Подшипник (10x30x9) - Bearing (10x30x9) (TO 09262-10003) (Bearing (10x30x9))

под заказ0 руб.
509262-10005-000

   (актуальный код замены) Запчасть снята с производства - The Spare Part Is Laid Off

под заказ0 руб.
509262-10005-000

Подшипник (10x30x9) - Bearing (10x30x9) (Bearing ) (Bearing (10x30x9))

под заказ0 руб.
509262-10003-000

Подшипник (10x30x9) - Bearing (10x30x9) (Bearing (10x30x9))

под заказ0 руб.
509262-10005-000

   (актуальный код замены) Запчасть снята с производства - The Spare Part Is Laid Off

под заказ0 руб.
509262-10005-000

Подшипник (10x30x9) - Bearing (10x30x9) (Bearing ) (Bearing (10x30x9))

под заказ0 руб.
657116-98500-000

Запчасть снята с производства - The Spare Part Is Laid Off (L:156) (The Spare Part Is Laid Off)

под заказ0 руб.
757117-98501-000

Race, Шестерня Подшипник Inner - Race, Pinion Bearing Inner (Inner race, pinion bearing ) (Race, Pinion Bearing Inner)

под заказ0 руб.
808211-10141-000

Регулировочная шайба (10x14x1) - Shim (10x14x1) (Shim (10x14x1))

под заказ150 руб.
809181-10111-000

   (актуальный код замены) Регулировочная шайба (10x14x1) - Shim (10x14x1)

под заказ150 руб.
809181-10111-000

Регулировочная шайба (10x14x1) - Shim (10x14x1) (Shim (t:1.0) ) (Shim (10x14x1))

под заказ150 руб.
908221-10143-000

Регулировочная шайба (10x14x0.8) - Shim (10x14x08) (Shim (10x14x0.8))

под заказ180 руб.
909181-10106-000

   (актуальный код замены) Регулировочная шайба (10x14x0.8) - Shim (10x14x0.8)

под заказ180 руб.
909181-10106-000

Регулировочная шайба (10x14x0.8) - Shim (10x14x08) (Shim (10x14x0.8))

под заказ180 руб.
908221-10144-000

Регулировочная шайба - Shim (Shim, pinion (t:0.2) ) (Shim)

под заказ130 руб.
908221-10145-000

Регулировочная шайба - Shim (Shim, pinion (t:0.5) ) (Shim)

под заказ130 руб.
1057311-98500-000

Шестерня - Pinion (Pinion)

под заказ5480 руб.
1057311-98512-000

   (актуальный код замены) Шестерня - Pinion

5 шт6600 руб.
1057311-98512-000

Шестерня - Pinion (Pinion)

5 шт6600 руб.
1108221-20303-000

Регулировочная шайба - Shim (Shim, pinion ) (Shim)

под заказ150 руб.
1108221-20304-000

Регулировочная шайба - Shim (Shim, pinion ) (Shim)

под заказ150 руб.
1108221-20305-000

Регулировочная шайба (20x30x0.5) - Shim (20x30x05) (Shim (20x30x0.5))

под заказ250 руб.
1109181-20186-000

   (актуальный код замены) Регулировочная шайба (20x30x0.5) - Shim (20x30x0.5)

под заказ250 руб.
1109181-20186-000

Регулировочная шайба (20x30x0.5) - Shim (20x30x05) (Shim (t:0.5) ) (Shim (20x30x0.5))

под заказ250 руб.
1257510-98500-000

Шестерня переднего хода - Gear, Forward (Gear, Forward)

под заказ0 руб.
1257510-98502-000

   (актуальный код замены) Запчасть снята с производства - The Spare Part Is Laid Off

2 шт14800 руб.
1257510-98502-000

Шестерня переднего хода - Gear, Forward (Gear, Forward)

2 шт14800 руб.
1309160-12041-000

Шайба (12x17x1) - Washer (12x17x1) (Washer (12x17x1))

под заказ0 руб.
1309160-12072-000

   (актуальный код замены) Запчасть снята с производства - The Spare Part Is Laid Off

под заказ0 руб.
1309160-12072-000

Шайба (12x17x1) - Washer (12x17x1) (Washer (12x17x1))

под заказ0 руб.
1409181-12007-000

Регулировочная шайба (12x16x0.5) - Shim (12x16x05) (Shim (12x16x0.5))

под заказ0 руб.
1409181-12102-000

   (актуальный код замены) Запчасть снята с производства - The Spare Part Is Laid Off

под заказ0 руб.
1409181-12102-000

Регулировочная шайба (12x16x0.5) - Shim (12x16x05) (Shim (t:0.5) ) (Shim (12x16x0.5))

под заказ0 руб.
1557631-98500-000

Тяга толкателя - Rod, Push (Rod, Push)

под заказ0 руб.
1657632-98500-000

Штифт толкателя - Pin, Push (Pin, Push)

под заказ480 руб.
1657632-97L00-000

   (актуальный код замены) Штифт толкателя - Pin, Push

11 шт540 руб.
1657632-98501-000

Штифт толкателя - Pin, Push (Pin, Push)

под заказ480 руб.
1657632-97L00-000

   (актуальный код замены) Штифт толкателя - Pin, Push

11 шт540 руб.
1757611-98501-000

Запчасть снята с производства - The Spare Part Is Laid Off (TO 57600-98501, MODEL G) (The Spare Part Is Laid Off)

под заказ0 руб.
1757600-98502-000

   (актуальный код замены) Запчасть снята с производства - The Spare Part Is Laid Off

под заказ0 руб.
1857621-98500-000

Переключатель собачки сцепления - Shifter, Clutch Dog (MODEL G) (Shifter, Clutch Dog)

под заказ0 руб.
1857621-98501-000

   (актуальный код замены) Запчасть снята с производства - The Spare Part Is Laid Off

под заказ0 руб.
1857621-98501-000

Переключатель собачки сцепления - Shifter, Clutch Dog (Shifter, clutch dog ) (Shifter, Clutch Dog)

под заказ0 руб.
1909209-04017-000

Штифт - Pin (Pin, clutch dog shifter # MODEL G ) (Pin)

под заказ0 руб.
2009440-05019-000

Пружина - Spring (Spring, return # MODEL G ) (Spring)

под заказ0 руб.
2157600-98501-000

Запчасть снята с производства - The Spare Part Is Laid Off (MODEL J/VZ) (The Spare Part Is Laid Off)

под заказ0 руб.
2157600-98502-000

   (актуальный код замены) Запчасть снята с производства - The Spare Part Is Laid Off

под заказ0 руб.
2257621-98501-000

Переключатель собачки сцепления - Shifter, Clutch Dog (Shifter, clutch dog # MODEL J/VZ ) (Shifter, Clutch Dog)

под заказ0 руб.
2309209-04017-000

Штифт - Pin (Pin, clutch dog shifter # MODEL J/VZ ) (Pin)

под заказ0 руб.
2409440-05019-000

Пружина - Spring (Spring, return # MODEL J/VZ ) (Spring)

под заказ0 руб.
2509160-14022-000

Запчасть снята с производства - The Spare Part Is Laid Off (The Spare Part Is Laid Off)

под заказ0 руб.
2609181-14001-000

Запчасть снята с производства - The Spare Part Is Laid Off (The Spare Part Is Laid Off)

под заказ0 руб.
2757520-98510-000

Запчасть снята с производства - The Spare Part Is Laid Off (The Spare Part Is Laid Off)

под заказ0 руб.
2757520-98511-000

   (актуальный код замены) Запчасть снята с производства - The Spare Part Is Laid Off

под заказ0 руб.


Время выполнения запроса 6.0829780101776 сек.

 
 

данный сайт носит информационный характер и не является публичной офертой

склад запчастей для водомоторной техники