Оригинальные запчасти на лодочный мотор Suzuki - Water pump / Водяной насос
вконтакте

Контактный телефон: +7 (981) 121-46-93, +7 (800) 200-90-76 , Email: parts-katalog@yandex.ru, где купить

 
 

  Логин:

Пароль:

Регистрация

www.partskatalog.ru Все каталоги Запчасти Mercury Запчасти Suzuki Запчасти Tohatsu Запчасти Honda Контакты



УВАЖАЕМЫЕ КЛИЕНТЫ!
C 19 ДЕКАБРЯ 2025 ПО 02 МАРТА 2026 ГОДА ОТДЕЛ ЗАПЧАСТЕЙ И СЕРВИС РАБОТАТЬ НЕ БУДУТ
ПРОДАЖА ЛОДОЧНЫХ МОТОРОВ В ШТАТНОМ РЕЖИМЕ
ОБ ИЗМЕНЕНИЯХ В ГРАФИКЕ РАБОТЫ ЧИТАЙТЕ НА САЙТА



назад Раздел:   вперёд

Вернуться к выбору узлов мотора


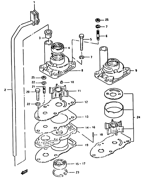
ДЕТАЛИРОВКА ДЛЯ МОДЕЛИ: SUZUKI DT8 VZ

Водяной насос


Год выпуска двигателя: 1982

Цвет: Francois Whte №2

Номер на
рисунке
АртикулНаименованиеQTYКол-во
на складе
Цена
117563-98500-000

Пыльник - Grommet (Grommet, water tube ) (Grommet)

12 шт290 руб.
217561-98510-000

Водяная трубка (s) - Tube, Water (s) (Tube, water ) (Tube, Water (s))

под заказ1500 руб.
217561-98520-000

Водяная трубка (l) - Tube, Water (l) (Tube, water ) (Tube, Water (l))

под заказ1580 руб.
317415-98500-000

Пыльник корпуса водяного насоса - Grommet, Water Pump Case (Grommet, Water Pump Case)

под заказ220 руб.
317415-98501-000

   (актуальный код замены) Пыльник корпуса водяного насоса - Grommet, Water Pump Case

27 шт260 руб.
317415-98501-000

Пыльник корпуса водяного насоса - Grommet, Water Pump Case (Grommet, water pump ) (Grommet, Water Pump Case)

27 шт260 руб.
409289-10002-000

Сальник (10x22x8) - Seal, Oil (10x22x8) (Seal, oil ) (Seal, Oil (10x22x8))

9 шт1460 руб.
509100-06022-000

Болт (6x35) - Bolt (6x35) (MODEL G) (Bolt (6x35))

под заказ0 руб.
509117-06037-XC0

   (актуальный код замены) Запчасть снята с производства - The Spare Part Is Laid Off

под заказ0 руб.
509117-06037-XC0

Болт (6x35) - Bolt (6x35) (Bolt (6x35))

под заказ0 руб.
609108-06025-000

Болт под шпильку - Bolt, Stud (Stud bolt (6x30) ) (Bolt, Stud)

под заказ0 руб.
709162-06001-000

Шайба с блокировкой - Washer, Lock (Washer, Lock)

под заказ160 руб.
709162-06006-000

   (актуальный код замены) Шайба с блокировкой - Washer, Lock

под заказ160 руб.
709162-06006-000

Шайба с блокировкой - Washer, Lock (Lock washer ) (Washer, Lock)

под заказ160 руб.
817411-98503-000

Запчасть снята с производства - The Spare Part Is Laid Off (MODEL G/J) (The Spare Part Is Laid Off)

под заказ0 руб.
817411-98504-000

   (актуальный код замены) Запчасть снята с производства - The Spare Part Is Laid Off

под заказ0 руб.
817411-98504-000

Запчасть снята с производства - The Spare Part Is Laid Off (MODEL VZ) (The Spare Part Is Laid Off)

под заказ0 руб.
917411-98100-000

Запчасть снята с производства - The Spare Part Is Laid Off (E09, E40) (The Spare Part Is Laid Off)

под заказ0 руб.
1009420-03002-000

Ключ - Key (Key)

22 шт290 руб.
10SK09420-03002

   (не оригинальный аналог) Шпонка помпы охлаждения Skipper для Suzuki DF4-6, DF4A-6A

0 шт99 руб.
1117461-98401-000

Крыльчатка водяного насоса - Impeller, Water Pump (MODEL G, TO 17461-98402) (Impeller, Water Pump)

под заказ2030 руб.
1117461-985M0-000

   (актуальный код замены) Крыльчатка водяного насоса - Impeller, Water Pump

30 шт2220 руб.
1117461-985M0-000

Крыльчатка водяного насоса - Impeller, Water Pump (Impeller, Water Pump)

30 шт2220 руб.
1117461-98402-000

Крыльчатка водяного насоса - Impeller, Water Pump (MODEL J/VZ) (Impeller, Water Pump)

под заказ2030 руб.
1117461-985M0-000

   (актуальный код замены) Крыльчатка водяного насоса - Impeller, Water Pump

30 шт2220 руб.
1117461-985M0-000

Крыльчатка водяного насоса - Impeller, Water Pump (Impeller, Water Pump)

30 шт2220 руб.
1217471-98501-000

Пластина водяного насоса Case нижний - Plate, Water Pump Case Lower (TO 17471-98502, MODEL G, J) (Plate, Water Pump Case Lower)

под заказ740 руб.
1217471-98503-000

   (актуальный код замены) Пластина водяного насоса Case нижний - Plate, Water Pump Case Lower

2 шт740 руб.
1217471-98503-000

Пластина водяного насоса Case нижний - Plate, Water Pump Case Lower (Plate, Water Pump Case Lower)

2 шт740 руб.
1217471-98502-000

Пластина водяного насоса Case нижний - Plate, Water Pump Case Lower (HAVE DRAIN HOLD (<-2.5), MODEL J, VZ) (Plate, Water Pump Case Lower)

под заказ740 руб.
1217471-98503-000

   (актуальный код замены) Пластина водяного насоса Case нижний - Plate, Water Pump Case Lower

2 шт740 руб.
1217471-98503-000

Пластина водяного насоса Case нижний - Plate, Water Pump Case Lower (Plate, Water Pump Case Lower)

2 шт740 руб.
1317472-98501-000

Прокладка пластины водяного насоса - Gasket, Water Pump Plate (Gasket, Water Pump Plate)

под заказ180 руб.
1317472-98503-000

   (актуальный код замены) Прокладка пластины водяного насоса - Gasket, Water Pump Plate

3 шт220 руб.
1317472-98503-000

Прокладка пластины водяного насоса - Gasket, Water Pump Plate (Gasket, Water Pump Plate)

3 шт220 руб.
1456131-98501-000

(TO 56130-98501, MODEL G)

под заказ0 руб.
1417472-98503-000

Прокладка пластины водяного насоса - Gasket, Water Pump Plate (Gasket, Water Pump Plate)

3 шт220 руб.
1456130-98503-000

Корпус вала передачи - Housing, Drive Shaft (Housing, drive shaft ) (Housing, Drive Shaft)

под заказ0 руб.
1509289-10005-000

Сальник (10x26x9) - Seal, Oil (10x26x9) (Oil seal (10x26x8) # MODEL G ) (Seal, Oil (10x26x9))

31 шт830 руб.
1656130-98501-000

(S, L TYPE, MODEL J/VZ)

под заказнет сведений
1617472-98503-000

Прокладка пластины водяного насоса - Gasket, Water Pump Plate (Gasket, Water Pump Plate)

3 шт220 руб.
1656130-98503-000

Корпус вала передачи - Housing, Drive Shaft (Housing, drive shaft ) (Housing, Drive Shaft)

под заказ0 руб.
1709289-10005-000

Сальник (10x26x9) - Seal, Oil (10x26x9) (Oil seal (10x26x8) # MODEL J/VZ ) (Seal, Oil (10x26x9))

31 шт830 руб.
1809202-04008-000

Штифт (4x9) - Pin (4x9) (Pin, knock ) (Pin (4x9))

4 шт150 руб.
1956132-98500-000

Прокладка корпуса вала передачи - Gasket, Drive Shaft Housing (Gasket, Drive Shaft Housing)

под заказ1080 руб.
1956132-98510-000

   (актуальный код замены) Прокладка корпуса вала передачи - Gasket, Drive Shaft Housing

2 шт1080 руб.
1956132-98510-000

Прокладка корпуса вала передачи - Gasket, Drive Shaft Housing (Gasket, drive shaft housing ) (Gasket, Drive Shaft Housing)

2 шт1080 руб.
2009100-06047-000

Болт (6x25) - Bolt (6x25) (MODEL G) (Bolt (6x25))

под заказ310 руб.
2009117-06049-000

   (актуальный код замены) Болт (6x25) - Bolt (6x25)

9 шт310 руб.
2009117-06049-000

Болт (6x25) - Bolt (6x25) (Bolt (6x25) ) (Bolt (6x25))

9 шт310 руб.
2109108-06032-000

Болт под шпильку - Bolt, Stud (Bolt, Stud)

под заказ380 руб.
2109108-06063-000

   (актуальный код замены) Болт под шпильку - Bolt, Stud

под заказ380 руб.
2109108-06063-000

Болт под шпильку - Bolt, Stud (Stud bolt (6x20) ) (Bolt, Stud)

под заказ380 руб.
2209162-06001-000

Шайба с блокировкой - Washer, Lock (Washer, Lock)

под заказ160 руб.
2209162-06006-000

   (актуальный код замены) Шайба с блокировкой - Washer, Lock

под заказ160 руб.
2209162-06006-000

Шайба с блокировкой - Washer, Lock (Lock washer ) (Washer, Lock)

под заказ160 руб.
2308331-41309-000

Стопорное кольцо - Circlip (Circlip)

7 шт210 руб.
2417400-98100-000

Запчасть снята с производства - The Spare Part Is Laid Off (VZ E40) (The Spare Part Is Laid Off)

под заказ0 руб.
2417400-98500-000

   (актуальный код замены) Запчасть снята с производства - The Spare Part Is Laid Off

под заказ0 руб.
2417400-98500-000

Запчасть снята с производства - The Spare Part Is Laid Off (The Spare Part Is Laid Off)

под заказ0 руб.
2417400-98850-000

Запчасть снята с производства - The Spare Part Is Laid Off (G E09, TO 17400-98851) (The Spare Part Is Laid Off)

под заказ0 руб.
2417400-98500-000

   (актуальный код замены) Запчасть снята с производства - The Spare Part Is Laid Off

под заказ0 руб.
2417400-98500-000

Запчасть снята с производства - The Spare Part Is Laid Off (The Spare Part Is Laid Off)

под заказ0 руб.
2417400-98851-000

Запчасть снята с производства - The Spare Part Is Laid Off (G E09) (The Spare Part Is Laid Off)

под заказ0 руб.
2417400-98500-000

   (актуальный код замены) Запчасть снята с производства - The Spare Part Is Laid Off

под заказ0 руб.
2417400-98500-000

Запчасть снята с производства - The Spare Part Is Laid Off (The Spare Part Is Laid Off)

под заказ0 руб.
2417400-98853-000

Запчасть снята с производства - The Spare Part Is Laid Off (J E09) (The Spare Part Is Laid Off)

под заказ0 руб.
2417400-98500-000

   (актуальный код замены) Запчасть снята с производства - The Spare Part Is Laid Off

под заказ0 руб.
2417400-98500-000

Запчасть снята с производства - The Spare Part Is Laid Off (The Spare Part Is Laid Off)

под заказ0 руб.
2509140-06004-000

Гайка - Nut (Nut)

под заказ150 руб.
2509140-06020-000

   (актуальный код замены) Гайка - Nut

9 шт150 руб.
2509140-06020-000

Гайка - Nut (Nut)

9 шт150 руб.


Время выполнения запроса 5.6118431091309 сек.

 
 

данный сайт носит информационный характер и не является публичной офертой

склад запчастей для водомоторной техники