Запчасти на подвесной двигатель Suzuki - Топливный бак выход
вконтакте

Контактный телефон: +7 (981) 121-46-93, +7 (800) 200-90-76 , Email: parts-katalog@yandex.ru, где купить

 
 

  Логин:

Пароль:

Регистрация

www.partskatalog.ru Все каталоги Запчасти Mercury Запчасти Suzuki Запчасти Tohatsu Запчасти Honda Контакты



УВАЖАЕМЫЕ КЛИЕНТЫ!
C 19 ДЕКАБРЯ 2025 ПО 02 МАРТА 2026 ГОДА ОТДЕЛ ЗАПЧАСТЕЙ И СЕРВИС РАБОТАТЬ НЕ БУДУТ
ПРОДАЖА ЛОДОЧНЫХ МОТОРОВ В ШТАТНОМ РЕЖИМЕ
ОБ ИЗМЕНЕНИЯХ В ГРАФИКЕ РАБОТЫ ЧИТАЙТЕ НА САЙТА



назад Раздел:   вперёд

Вернуться к выбору узлов мотора


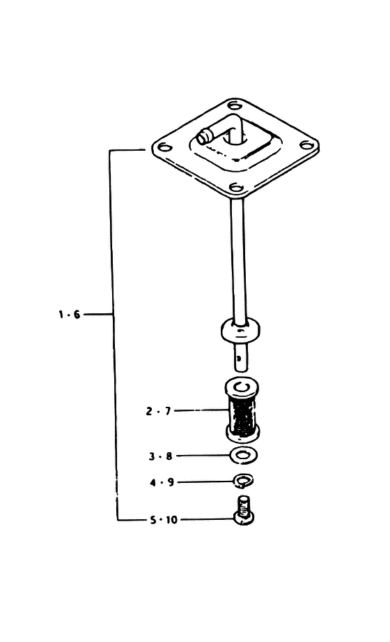
ДЕТАЛИРОВКА ДЛЯ МОДЕЛИ: SUZUKI DT8 VZ

Топливный бак выход


Год выпуска двигателя: 1982

Цвет: Francois Whte №2

Номер на
рисунке
АртикулНаименованиеQTYКол-во
на складе
Цена
165880-98500-000

выход в сборе, Separate Tank - Outlet Assy, Separate Tank (Outlet, separate tank ) (Outlet Assy, Separate Tank)

под заказ0 руб.
265830-93301-000

Запчасть снята с производства - The Spare Part Is Laid Off (The Spare Part Is Laid Off)

под заказ0 руб.
308322-21058-000

Шайба - Washer (Washer)

под заказ140 руб.
308322-01057-000

   (актуальный код замены) Шайба - Washer

под заказ140 руб.
308322-01057-000

Шайба - Washer (Washer, front hook holder ) (Washer)

под заказ140 руб.
408321-21058-000

Шайба с блокировкой - Washer, Lock (Washer, Lock)

под заказ140 руб.
408321-0105A-000

   (актуальный код замены) Шайба с блокировкой - Washer, Lock

под заказ140 руб.
408321-0105A-000

Шайба с блокировкой - Washer, Lock (Washer, Lock)

под заказ140 руб.
502112-05088-000

Винт - Screw (Screw)

под заказ120 руб.
502112-05087-000

   (актуальный код замены) Винт - Screw

под заказ120 руб.
502112-05087-000

Винт - Screw (Screw)

под заказ120 руб.
665880-95200-000

Запчасть снята с производства - The Spare Part Is Laid Off (DT8VZ (E13, E40)) (The Spare Part Is Laid Off)

под заказ0 руб.
765830-93301-000

Запчасть снята с производства - The Spare Part Is Laid Off (DT8VZ (E13, E40)) (The Spare Part Is Laid Off)

под заказ0 руб.
808322-21058-000

Шайба - Washer (DT8VZ (E13, E40)) (Washer)

под заказ140 руб.
808322-01057-000

   (актуальный код замены) Шайба - Washer

под заказ140 руб.
808322-01057-000

Шайба - Washer (Washer, front hook holder ) (Washer)

под заказ140 руб.
908321-21058-000

Шайба с блокировкой - Washer, Lock (DT8VZ (E13, E40)) (Washer, Lock)

под заказ140 руб.
908321-0105A-000

   (актуальный код замены) Шайба с блокировкой - Washer, Lock

под заказ140 руб.
908321-0105A-000

Шайба с блокировкой - Washer, Lock (Washer, Lock)

под заказ140 руб.
1002112-05088-000

Винт - Screw (DT8VZ (E13, E40)) (Screw)

под заказ120 руб.
1002112-05087-000

   (актуальный код замены) Винт - Screw

под заказ120 руб.
1002112-05087-000

Винт - Screw (Screw)

под заказ120 руб.


Время выполнения запроса 0.89999389648438 сек.

 
 

данный сайт носит информационный характер и не является публичной офертой

склад запчастей для водомоторной техники