| |
 |
|
 |
Вернуться к выбору узлов мотора
ДЕТАЛИРОВКА ДЛЯ МОДЕЛИ: SUZUKI DT8VG(G-Y) G
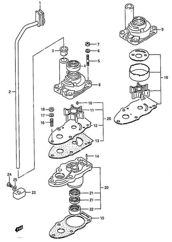
Водяной насос
Год выпуска двигателя: 1986
Регион: General Export No.1 ,Код региона: P01
Цвет: California Gray Metallic
Номер на рисунке | Артикул | Наименование | QTY | Кол-во на складе | Цена |
| 1 | 17563-98500-000 | Пыльник - Grommet (Grommet, water tube ) (Grommet) | | 12 шт | 290 руб. |
| 2 | 17561-98510-000 | Водяная трубка (s) - Tube, Water (s) (Tube, water # Tube, water (s); ) (Tube, Water (s)) | | под заказ | 1500 руб. |
| 2 | 17561-98520-000 | Водяная трубка (l) - Tube, Water (l) (Tube, water # Tube, water (l); ) (Tube, Water (l)) | | под заказ | 1580 руб. |
| 2 | 17561-98530-000 | Запчасть снята с производства - The Spare Part Is Laid Off (Tube, water (ul); E7, e13, e38) (The Spare Part Is Laid Off) | | под заказ | 0 руб. |
| 3 | 17415-98501-000 | Пыльник корпуса водяного насоса - Grommet, Water Pump Case (Grommet, water pump ) (Grommet, Water Pump Case) | | 27 шт | 260 руб. |
| 4 | 09289-10002-000 | Сальник (10x22x8) - Seal, Oil (10x22x8) (Seal, oil ) (Seal, Oil (10x22x8)) | | 9 шт | 1460 руб. |
| 5 | 09108-06025-000 | Болт под шпильку - Bolt, Stud (Stud bolt (6x30) ) (Bolt, Stud) | | под заказ | 0 руб. |
| 6 | 09162-06006-000 | Шайба с блокировкой - Washer, Lock (Lock washer ) (Washer, Lock) | | под заказ | 160 руб. |
| 7 | 09140-06020-000 | Гайка - Nut (Nut) | | 9 шт | 150 руб. |
| 8 | 17411-98505-000 | Корпус водяного насоса - Case, Water Pump (Case, Water Pump) | | под заказ | 0 руб. |
| 9 | 17410-98101-000 | Корпус водяного насоса - Case, Water Pump (E40 ) (Case, Water Pump) | | под заказ | 0 руб. |
| 10 | 09420-03002-000 | Ключ - Key (Key) | | 22 шт | 290 руб. |
| 10 | SK09420-03002 | (не оригинальный аналог) Шпонка помпы охлаждения Skipper для Suzuki DF4-6, DF4A-6A | | 0 шт | 99 руб. |
| 11 | 17461-98502-000 | Крыльчатка водяного насоса - Impeller, Water Pump (Impeller, Water Pump) | | под заказ | 2030 руб. |
| 11 | 17461-985M0-000 | (актуальный код замены) Крыльчатка водяного насоса - Impeller, Water Pump | | 30 шт | 2220 руб. |
| 11 | SC-WT093 | (не оригинальный аналог) Крыльчатка помпы охлаждения двигателя Suzuki SC-WT093 | | под заказ | 950 руб. |
| 11 | 17461-985M0-000 | Крыльчатка водяного насоса - Impeller, Water Pump (Impeller, Water Pump) | | 30 шт | 2220 руб. |
| 12 | 17471-98503-000 | Пластина водяного насоса Case нижний - Plate, Water Pump Case Lower (Plate, Water Pump Case Lower) | | 2 шт | 740 руб. |
| 12 | 17471-98103-000 | Панель в нижней части корпуса помпы - Panel, Pump Case Under (E40 ) (Panel, Pump Case Under) | | 5 шт | 0 руб. |
| 13 | 17472-98503-000 | Прокладка пластины водяного насоса - Gasket, Water Pump Plate (Gasket, Water Pump Plate) | | 3 шт | 220 руб. |
| 14 | 09202-04008-000 | Штифт (4x9) - Pin (4x9) (Pin, knock # Dowel pin; ) (Pin (4x9)) | | 4 шт | 150 руб. |
| 15 | 56132-98510-000 | Прокладка корпуса вала передачи - Gasket, Drive Shaft Housing (Gasket, drive shaft housing # Gasket, drive shaft housing; ) (Gasket, Drive Shaft Housing) | | 2 шт | 1080 руб. |
| 16 | 09108-06063-000 | Болт под шпильку - Bolt, Stud (Stud bolt (6x20) # Stud bolt; ) (Bolt, Stud) | | под заказ | 380 руб. |
| 17 | 09162-06006-000 | Шайба с блокировкой - Washer, Lock (Lock washer ) (Washer, Lock) | | под заказ | 160 руб. |
| 18 | 09140-06020-000 | Гайка - Nut (Nut) | | 9 шт | 150 руб. |
| 19 | 17400-98500-000 | Запчасть снята с производства - The Spare Part Is Laid Off (E40, -model:84) (The Spare Part Is Laid Off) | | под заказ | 0 руб. |
| 19 | 17400-98501-000 | Ремкомплект водяного насоса - Kit, Water Pump Repair (E13, e40, model:85-99 ) (Kit, Water Pump Repair) | | под заказ | 10760 руб. |
| 20 | 56130-98520-000 | Корпус подшипника приводного вала - Housing, Drive Shaft Brg (Housing, drive shaft brg;) (Housing, Drive Shaft Brg) | | под заказ | 31920 руб. |
| 20 | 56130-98521-000 | (актуальный код замены) Корпус подшипника приводного вала - Housing, Drive Shaft Brg | | 2 шт | 31920 руб. |
| 20 | 56130-98521-000 | Корпус подшипника приводного вала - Housing, Drive Shaft Brg (Housing, drive shaft brg ) (Housing, Drive Shaft Brg) | | 2 шт | 31920 руб. |
| 21 | 09282-10009-000 | Сальник (10x20x5) - Seal, Oil (10x20x5) (Seal, Oil (10x20x5)) | | 27 шт | 520 руб. |
| 22 | 09263-15019-000 | Подшипник (15x21x12) - Bearing (15x21x12) (Bearing (15x21x12) ) (Bearing (15x21x12)) | | 3 шт | 1300 руб. |
| 23 | 17441-98512-000 | Запчасть снята с производства - The Spare Part Is Laid Off (Guide, water tube (s);) (The Spare Part Is Laid Off) | | под заказ | 0 руб. |
| 23 | 17441-98521-000 | Направляющая трубки водяного насоса (l / ul) - Guide, Water Tube (l/ul) (Guide, water tube (l/ul) # Guide, water tube (l/ul); ) (Guide, Water Tube (l/ul)) | | под заказ | 0 руб. |
| 24 | 09125-05047-000 | Винт (5x14) - Screw (5x14) (Screw (5x14) ) (Screw (5x14)) | | под заказ | 150 руб. |
| 25 | 09161-05010-000 | Шайба (5.2x11x1) - Washer (52x11x1) (Washer (5.2x11x1)) | | под заказ | 160 руб. |
| 26 | 17400-98550-000 | Ремкомплект водяного насоса - Kit, Water Pump Repair (Opt) (Kit, Water Pump Repair) | | под заказ | 3240 руб. |
| 26 | 17400-98551-000 | (актуальный код замены) Ремкомплект водяного насоса - Kit, Water Pump Repair | | 3 шт | 3240 руб. |
| 26 | 17400-98551-000 | Ремкомплект водяного насоса - Kit, Water Pump Repair (Kit, Water Pump Repair) | | 3 шт | 3240 руб. |
Время выполнения запроса 9.8467130661011 сек. |
|