| |
 |
|
 |
Вернуться к выбору узлов мотора
ДЕТАЛИРОВКА ДЛЯ МОДЕЛИ: SUZUKI DT8M(G-Y) M
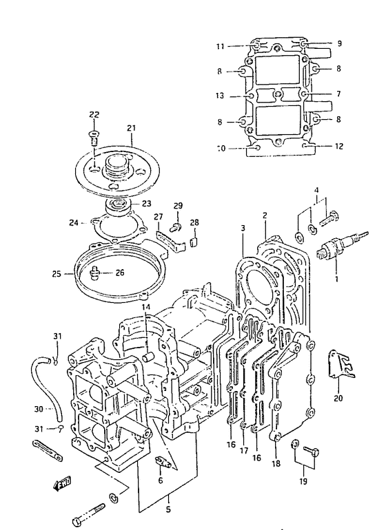
Цилиндр
Год выпуска двигателя: 1991
Регион: General Export No.1 ,Код региона: P01
Цвет: California Gray Metallic
Номер на рисунке | Артикул | Наименование | QTY | Кол-во на складе | Цена |
| 1 | 09482-00531-000 | Свеча зажигания (bp6hs-0.9) - Plug, Spark (bp6hs-09) (Spark plug (bp6hs-0.9); Dt8:e40 ) (Plug, Spark (bp6hs-0.9)) | | под заказ | 0 руб. |
| 1 | 09482-00535-000 | Свеча зажигания (br6hs-10) - Plug, Spark (br6hs-10) (Spark plug, br6hs # Dt5/6, ) (Plug, Spark (br6hs-10)) | | под заказ | 0 руб. |
| 1 | 09482-00530-000 | Запчасть снята с производства - The Spare Part Is Laid Off (Spark plug (bpr6hs-0.8); Dt8) (The Spare Part Is Laid Off) | | под заказ | 0 руб. |
| 2 | 11110-98100-0ED | Запчасть снята с производства - The Spare Part Is Laid Off (The Spare Part Is Laid Off) | | под заказ | 0 руб. |
| 3 | 11141-98130-000 | Прокладка головки блока цилиндра - Gasket, Cylinder Head (Gasket, cylinder head ) (Gasket, Cylinder Head) | | под заказ | 2760 руб. |
| 4 | 01560-08357-000 | Болт - Bolt (Bolt) | | 7 шт | 260 руб. |
| 5 | 11301-981B2-0ED | Запчасть снята с производства - The Spare Part Is Laid Off (Dt8) (The Spare Part Is Laid Off) | | под заказ | 0 руб. |
| 5 | 11301-981D2-0ED | Цилиндр в сборе (gray) - Cylinder Assy (gray) (Cylinder / crankcase assy # Dt5/6, w/decomp, ) (Cylinder Assy (gray)) | | под заказ | 0 руб. |
| 6 | 16710-95D10-000 | Контрольный клапан - Valve, Check (Dt5/6 ) (Valve, Check) | | под заказ | 2330 руб. |
| 7 | 09103-06189-000 | Запчасть снята с производства - The Spare Part Is Laid Off (Bolt (6x110);) (The Spare Part Is Laid Off) | | под заказ | 0 руб. |
| 8 | 01550-06307-000 | Болт - Bolt (Bolt) | | 8 шт | 250 руб. |
| 9 | 01550-06457-000 | Болт - Bolt (Bolt) | | под заказ | 210 руб. |
| 10 | 01550-06557-000 | Болт - Bolt (Bolt) | | 5 шт | 210 руб. |
| 11 | 01550-06557-000 | Болт - Bolt (Bolt) | | 5 шт | 210 руб. |
| 12 | 01550-06607-000 | Болт - Bolt (Bolt) | | под заказ | 260 руб. |
| 13 | 01550-06757-000 | Болт - Bolt (Bolt) | | под заказ | 260 руб. |
| 14 | 04211-09109-000 | Штифт - Pin (Knock pin ) (Pin) | | под заказ | 120 руб. |
| 16 | 14151-98111-000 | Прокладка кожуха выхлопной трубы - Gasket, Exhaust Cover (Gasket, exhaust cover ) (Gasket, Exhaust Cover) | | под заказ | 1180 руб. |
| 17 | 14131-98102-000 | Пластина, Кожух выхлопной трубы - Plate, Exhaust Cover (Plate, Exhaust Cover) | | под заказ | 0 руб. |
| 18 | 14141-98100-0ED | Выхлопная крышка (gray) - Cover, Exhaust (gray) (Cover, Exhaust (gray)) | | под заказ | 0 руб. |
| 19 | 01550-06257-000 | Болт - Bolt (Bolt) | | под заказ | 180 руб. |
| 20 | 33883-98102-0ED | Станина, High Tension Cord - Stay, High Tension Cord (Stay, high tension cord ) (Stay, High Tension Cord) | | под заказ | 0 руб. |
| 21 | 11411-98500-000 | Корпус верхнего сальника - Housing, Upr Oil Seal (Housing, Upr Oil Seal) | | под заказ | 0 руб. |
| 22 | 02122-06167-000 | Винт - Screw (Screw) | | под заказ | 120 руб. |
| 23 | 09283-20006-000 | Сальник (20x37x7) - Seal, Oil (20x37x7) (Oil seal, upper crank shaft ) (Seal, Oil (20x37x7)) | | 10 шт | 530 руб. |
| 24 | 11413-98510-000 | Прокладка верхнего корпуса сальника - Gasket, Upr Oil Seal Hsg (Gasket, upper oil seal hsg ) (Gasket, Upr Oil Seal Hsg) | | под заказ | 480 руб. |
| 25 | 19151-98101-0ED | Фиксатор, Стартер - Retainer, Starter (Retainer, Starter) | | под заказ | 0 руб. |
| 26 | 09119-06047-000 | Стержень - Pivot (Pivot, ball # Ball, pivot; ) (Pivot) | | 21 шт | 520 руб. |
| 27 | 19172-98102-000 | Стопор, Фиксатор - Stopper, Retainer (Stopper, retainer ) (Stopper, Retainer) | | под заказ | 0 руб. |
| 28 | 09352-50823-600 | Шланг (5x8.2x600) - Hose (5x82x600) (Hose, evapotation (5.0x8.2x600) # L:600->5.5 ) (Hose (5x8.2x600)) | | под заказ | 640 руб. |
| 28 | 09352-50005-600 | (актуальный код замены) Шланг (5x8.2x600) - Hose (5x8.2x600) | | под заказ | 640 руб. |
| 29 | 02112-05107-000 | Винт - Screw (Screw, bracket ) (Screw) | | под заказ | 120 руб. |
| 30 | 09355-25705-600 | Шланг (2.5x7x600) - Hose (25x7x600) (Hose, out no.4 (2.5x7x300) # Hose, lubrication; Dt5/6, l:600->240 ) (Hose (2.5x7x600)) | | под заказ | 680 руб. |
| 30 | 09355-25001-600 | (актуальный код замены) Шланг - Hose | | под заказ | 680 руб. |
| 31 | 09401-06101-000 | Зажим - Clip (Dt5/6 ) (Clip) | | под заказ | 160 руб. |
Время выполнения запроса 3.5207538604736 сек. |
|