Купить запчасти на подвесной двигатель Suzuki модель 1993 года - Cylinder
вконтакте

Контактный телефон: +7 (981) 121-46-93, +7 (800) 200-90-76 , Email: parts-katalog@yandex.ru, где купить

 
 

  Логин:

Пароль:

Регистрация

www.partskatalog.ru Все каталоги Запчасти Mercury Запчасти Suzuki Запчасти Tohatsu Запчасти Honda Контакты



УВАЖАЕМЫЕ КЛИЕНТЫ!
C 19 ДЕКАБРЯ 2025 ПО 02 МАРТА 2026 ГОДА ОТДЕЛ ЗАПЧАСТЕЙ И СЕРВИС РАБОТАТЬ НЕ БУДУТ
ПРОДАЖА ЛОДОЧНЫХ МОТОРОВ В ШТАТНОМ РЕЖИМЕ
ОБ ИЗМЕНЕНИЯХ В ГРАФИКЕ РАБОТЫ ЧИТАЙТЕ НА САЙТА



назад Раздел:   вперёд

Вернуться к выбору узлов мотора


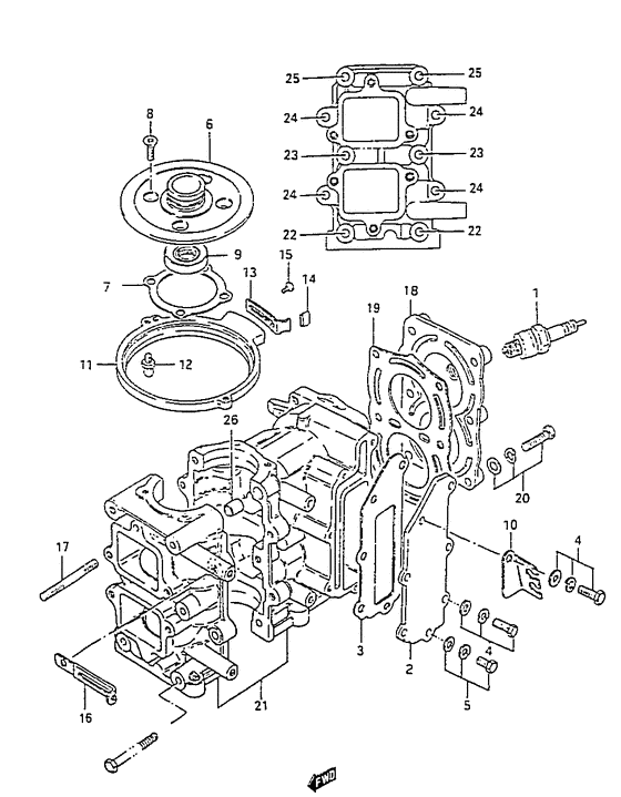
ДЕТАЛИРОВКА ДЛЯ МОДЕЛИ: SUZUKI DT8SP(G-Y) P

Цилиндр


Год выпуска двигателя: 1993

Номер на
рисунке
АртикулНаименованиеQTYКол-во
на складе
Цена
109482-00259-000

Свеча зажигания (bp6hs) - Plug, Spark (bp6hs) (Plug, Spark (bp6hs))

под заказ0 руб.
109482-00229-000

Запчасть снята с производства - The Spare Part Is Laid Off (Spark plug (bpr6hs); Model:93) (The Spare Part Is Laid Off)

под заказ0 руб.
109482-00141-000

Свеча зажигания (bpr6hs) - Plug, Spark (bpr6hs) (Spark plug (bpr6hs); Model:94 ) (Plug, Spark (bpr6hs))

под заказ820 руб.
214141-98504-0ED

Запчасть снята с производства - The Spare Part Is Laid Off (The Spare Part Is Laid Off)

под заказ0 руб.
314151-98511-000

Прокладка кожуха выхлопной трубы - Gasket, Exhaust Cover (Gasket, Exhaust Cover)

1 шт1080 руб.
409118-06083-000

Болт (6x20) - Bolt (6x20) (Bolt (6x20))

под заказ0 руб.
509116-06092-000

Болт (6x15) - Bolt (6x15) (Bolt (6x15))

под заказ230 руб.
509116-06094-000

   (актуальный код замены) Болт (6x15) - Bolt (6x15)

20 шт270 руб.
509116-06094-000

Болт (6x15) - Bolt (6x15) (Bolt (6x15))

20 шт270 руб.
611411-98500-000

Корпус верхнего сальника - Housing, Upr Oil Seal (Housing, Upr Oil Seal)

под заказ0 руб.
711413-98510-000

Прокладка верхнего корпуса сальника - Gasket, Upr Oil Seal Hsg (Gasket, upper oil seal hsg # Gasket, upper oil seal hsg; ) (Gasket, Upr Oil Seal Hsg)

под заказ480 руб.
809126-06008-000

Винт (6x16) - Screw (6x16) (Screw (6x16))

под заказ220 руб.
909283-20006-000

Сальник (20x37x7) - Seal, Oil (20x37x7) (Oil seal, upper crank shaft # Oil seal, upper crank shaft; ) (Seal, Oil (20x37x7))

10 шт530 руб.
1033883-98102-0ED

Станина, High Tension Cord - Stay, High Tension Cord (Stay, high tension cord ) (Stay, High Tension Cord)

под заказ0 руб.
1119151-98101-0ED

Фиксатор, Стартер - Retainer, Starter (Retainer, Starter)

под заказ0 руб.
1209119-06047-000

Стержень - Pivot (Pivot, ball # Ball, pivot; ) (Pivot)

21 шт520 руб.
1319172-98102-000

Стопор, Фиксатор - Stopper, Retainer (Stopper, retainer # Stopper, retainer; ) (Stopper, Retainer)

под заказ0 руб.
1409352-50823-600

Шланг (5x8.2x600) - Hose (5x82x600) (Hose, evapotation (5.0x8.2x600) # Cushion, retainer stopper; L:600->5.5 ) (Hose (5x8.2x600))

под заказ640 руб.
1409352-50005-600

   (актуальный код замены) Шланг (5x8.2x600) - Hose (5x8.2x600)

под заказ640 руб.
1509136-05042-000

Запчасть снята с производства - The Spare Part Is Laid Off (Model:87-94) (The Spare Part Is Laid Off)

под заказ0 руб.
1609404-06413-000

Струбцина (l: 65) - Clamp (l:65) (Clamp; Model:86, 87) (Clamp (l:65))

под заказ170 руб.
1609404-06039-000

   (актуальный код замены) Струбцина (l: 65) - Clamp (l:65)

под заказ170 руб.
1609404-06432-000

Струбцина (l: 65) - Clamp (l:65) (Clamp (l:80) ) (Clamp (l:65))

8 шт170 руб.
1609404-06039-000

   (актуальный код замены) Струбцина (l: 65) - Clamp (l:65)

под заказ170 руб.
1701411-06552-000

Болт под шпильку - Bolt, Stud (Bolt, Stud)

под заказ150 руб.
1701411-0655C-000

   (актуальный код замены) Болт под шпильку - Bolt, Stud

под заказ150 руб.
1701411-0655C-000

Болт под шпильку - Bolt, Stud (Bolt, Stud)

под заказ150 руб.
1811111-98503-0ED

Запчасть снята с производства - The Spare Part Is Laid Off (The Spare Part Is Laid Off)

под заказ0 руб.
1911141-98522-000

Прокладка головки блока цилиндра - Gasket, Cylinder Head (Gasket, Cylinder Head)

под заказ0 руб.
2001560-08357-000

Болт - Bolt (Bolt)

7 шт260 руб.
2111301-98591-0ED

Запчасть снята с производства - The Spare Part Is Laid Off (The Spare Part Is Laid Off)

под заказ0 руб.
2201570-06607-000

Болт - Bolt (Bolt)

под заказ260 руб.
2301570-06507-000

Болт - Bolt (Bolt)

под заказ230 руб.
2401570-06307-000

Болт - Bolt (Bolt)

под заказ230 руб.
2501570-06657-000

Болт - Bolt (Bolt)

под заказ260 руб.
2501560-06657-000

   (актуальный код замены) Болт - Bolt

под заказ260 руб.
2501560-06657-000

Болт - Bolt (Bolt)

под заказ260 руб.
2604211-09109-000

Штифт - Pin (Knock pin ) (Pin)

под заказ120 руб.


Время выполнения запроса 1.0751991271973 сек.

 
 

данный сайт носит информационный характер и не является публичной офертой

склад запчастей для водомоторной техники