Запчасти на лодочный мотор Suzuki - Clutch lever
вконтакте

Контактный телефон: +7 (981) 121-46-93, +7 (800) 200-90-76 , Email: parts-katalog@yandex.ru, где купить

 
 

  Логин:

Пароль:

Регистрация

www.partskatalog.ru Все каталоги Запчасти Mercury Запчасти Suzuki Запчасти Tohatsu Запчасти Honda Контакты



УВАЖАЕМЫЕ КЛИЕНТЫ!
C 19 ДЕКАБРЯ 2025 ПО 02 МАРТА 2026 ГОДА ОТДЕЛ ЗАПЧАСТЕЙ И СЕРВИС РАБОТАТЬ НЕ БУДУТ
ПРОДАЖА ЛОДОЧНЫХ МОТОРОВ В ШТАТНОМ РЕЖИМЕ
ОБ ИЗМЕНЕНИЯХ В ГРАФИКЕ РАБОТЫ ЧИТАЙТЕ НА САЙТА



назад Раздел:   вперёд

Вернуться к выбору узлов мотора


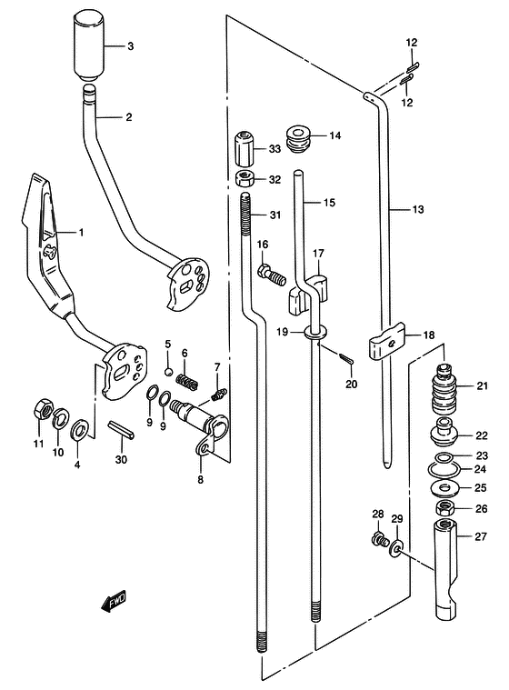
ДЕТАЛИРОВКА ДЛЯ МОДЕЛИ: SUZUKI DT8S R

Рычаг сцепления


Год выпуска двигателя: 1994

Регион: General Export No.1 ,Код региона: P01

Цвет: California Gray Metallic

Номер на
рисунке
АртикулНаименованиеQTYКол-во
на складе
Цена
121110-98102-0ED

Рычаг сцепления (gray) - Lever, Clutch (gray) (<-1110-98101-0ED ~MODEL:99 ) (Lever, Clutch (gray))

под заказ0 руб.
221110-98503-000

Рычаг сцепления - Lever, Clutch (E07, E13, E38, E40 E11 MODEL:00 ) (Lever, Clutch)

под заказ3150 руб.
321141-98500-000

Рукоятка рычага сцепления - Knob, Clutch Lever (Knob, clutch lever # E07, E13, E38, E40 E11 MODEL:00 ) (Knob, Clutch Lever)

под заказ520 руб.
409160-08082-000

Шайба (8.5x16x1.2) - Washer (85x16x12) (E07, E13, E38, E40 E11 MODEL:00 ) (Washer (8.5x16x1.2))

13 шт120 руб.
509260-10005-000

Шарик - Ball (Steel ball ) (Ball)

4 шт210 руб.
609440-07021-000

Пружина - Spring (Spring, clutch notch ) (Spring)

под заказ160 руб.
722511-99010-000

Ниппель смазки - Nipple, Grease (<-2511-99003) (Nipple, Grease)

под заказ340 руб.
722511-99011-000

   (актуальный код замены) Ниппель смазки - Nipple, Grease

9 шт400 руб.
722511-99011-000

Ниппель смазки - Nipple, Grease (Nipple, Grease)

9 шт400 руб.
821210-98502-000

Сцепление Вал Рычаг - Shaft, Clutch Lever (Shaft, Clutch Lever)

под заказ0 руб.
821210-98503-000

   (актуальный код замены) Запчасть снята с производства - The Spare Part Is Laid Off

под заказ0 руб.
821210-98503-000

Сцепление Вал Рычаг - Shaft, Clutch Lever (Shaft, clutch lever ) (Shaft, Clutch Lever)

под заказ0 руб.
821210-98503-000

Сцепление Вал Рычаг - Shaft, Clutch Lever (Shaft, clutch lever # MODEL:95~00 ) (Shaft, Clutch Lever)

под заказ0 руб.
909280-09005-000

Уплотнительное кольцо (d: 1.9, Id: 8.6) - O Ring (d:19, Id:86) (O Ring (d:1.9, Id:8.6))

9 шт390 руб.
1009162-08007-000

Шайба с блокировкой - Washer, Lock (Lock washer ) (Washer, Lock)

под заказ160 руб.
1109140-08016-000

Гайка - Nut (Nut)

под заказ190 руб.
1109140-08023-XC0

Гайка - Nut (Nut)

14 шт190 руб.
1209204-01002-000

Штифт - Pin (Cotter pin ) (Pin)

24 шт140 руб.
1323111-98510-000

Запчасть снята с производства - The Spare Part Is Laid Off (The Spare Part Is Laid Off)

под заказ0 руб.
1323111-98520-000

Тяга сцепления (l / ul) - Rod, Clutch (l/ul) (Rod, Clutch (l/ul))

под заказ0 руб.
1409320-05017-000

Втулка - Bush (Bushing ) (Bush)

под заказ270 руб.
1409320-05023-000

   (актуальный код замены) Втулка - Bush

8 шт540 руб.
1525111-98110-000

Запчасть снята с производства - The Spare Part Is Laid Off (~MODEL:94) (The Spare Part Is Laid Off)

под заказ0 руб.
1525111-98120-000

Запчасть снята с производства - The Spare Part Is Laid Off (~MODEL:94) (The Spare Part Is Laid Off)

под заказ0 руб.
1609138-06037-000

Болт (6x20) - Bolt (6x20) (Bolt (6x20) ) (Bolt (6x20))

под заказ360 руб.
1723311-99001-000

Коннектор тяги сцепления №1 - Connector, Clutch Rod No1 (Connector, clutch rod (1) ) (Connector, Clutch Rod No.1)

под заказ1460 руб.
1823321-99001-000

Коннектор тяги сцепления №2 - Connector, Clutch Rod No2 (Connector, clutch rod (2) ) (Connector, Clutch Rod No.2)

под заказ1560 руб.
1909160-06036-000

Шайба (6.5x18x1.5) - Washer (65x18x15) (Washer, 6.5x18x1.5 # MODEL:97~00 ) (Washer (6.5x18x1.5))

под заказ150 руб.
1909160-06090-000

Шайба (6.5x13x1.0) - Washer (65x13x10) (Washer (6.5x13x1.0))

под заказ120 руб.
1909160-06082-000

   (актуальный код замены) Шайба (6.5x13x1.0) - Washer (6.5x13x1.0)

7 шт150 руб.
1909160-06082-000

Шайба (6.5x13x1.0) - Washer (65x13x10) (Washer (6.5x13x1.0))

7 шт150 руб.
2009204-01002-000

Штифт - Pin (Cotter pin ) (Pin)

24 шт140 руб.
2125222-93000-000

Башмак переключающей тяги - Boot, Shift Rod (Boots, shifting rod ) (Boot, Shift Rod)

под заказ570 руб.
2125222-93001-000

   (актуальный код замены) Башмак переключающей тяги - Boot, Shift Rod

15 шт570 руб.
2225211-98501-000

Направляющая переключающей тяги - Guide, Shift Rod (Guide, shifting rod ) (Guide, Shift Rod)

2 шт1090 руб.
2309280-06004-000

Уплотнительное кольцо (d: 3.5, Id: 5.8) - O Ring (d:35, Id:58) (O ring, shifting rod ) (O Ring (d:3.5, Id:5.8))

27 шт200 руб.
2409280-15007-000

Уплотнительное кольцо (d: 2.4, Id: 15.8) - O Ring (d:24, Id:158) (MODEL:94~00 ) (O Ring (d:2.4, Id:15.8))

27 шт160 руб.
2409280-16005-000

Уплотнительное кольцо (d: 2.4, Id: 15.8) - O Ring (d:24, Id:158) (O ring, exhaust pipe ) (O Ring (d:2.4, Id:15.8))

14 шт180 руб.
2508212-06201-000

Шайба - Washer (Washer, shifting rod guide ) (Washer)

9 шт120 руб.
2608310-00063-000

Гайка - Nut (Nut)

под заказ170 руб.
2608310-0006B-000

   (актуальный код замены) Гайка - Nut

под заказ170 руб.
2608310-0006B-000

Гайка - Nut (Nut gear shift link rod ) (Nut)

под заказ170 руб.
2725311-93100-000

Запчасть снята с производства - The Spare Part Is Laid Off (MODEL:86~90) (The Spare Part Is Laid Off)

под заказ0 руб.
2725311-98500-000

Запчасть снята с производства - The Spare Part Is Laid Off (MODEL:91~94) (The Spare Part Is Laid Off)

под заказ0 руб.
2725311-98510-000

   (актуальный код замены) Запчасть снята с производства - The Spare Part Is Laid Off

под заказ0 руб.
2725311-98510-000

Запчасть снята с производства - The Spare Part Is Laid Off (MODEL:95~00) (The Spare Part Is Laid Off)

под заказ0 руб.
2809139-06035-000

Винт (6x9.5) - Screw (6x95) (Screw (6x9.5))

под заказ0 руб.
2909168-06004-000

Прокладка (6.2x11x1.2) - Gasket (62x11x12) (Washer (6x11.8x1.5) ) (Gasket (6.2x11x1.2))

под заказ120 руб.
3009205-05014-000

Стопор пружины (5x18) - Pin, Spring (5x18) (Pin, clutch lever (l:18) ) (Pin, Spring (5x18))

под заказ180 руб.
3125111-98511-000

Запчасть снята с производства - The Spare Part Is Laid Off (E07, E13, E38, E40) (The Spare Part Is Laid Off)

под заказ0 руб.
3125111-98521-000

Переключающая тяга (l) - Rod, Shift (l) (Rod, shifting (l) # E01 MODEL:95~00 ) (Rod, Shift (l))

под заказ0 руб.
3125111-98531-000

Запчасть снята с производства - The Spare Part Is Laid Off (E13, E38) (The Spare Part Is Laid Off)

под заказ0 руб.
3209140-06020-000

Гайка - Nut (E01 MODEL:95~00 ) (Nut)

9 шт150 руб.
3309159-06030-000

Гайка - Nut (E01 MODEL:95~00 ) (Nut)

под заказ0 руб.


Время выполнения запроса 1.0233180522919 сек.

 
 

данный сайт носит информационный характер и не является публичной офертой

склад запчастей для водомоторной техники