Подобрать оригинальные запчасти на лодочный мотор Suzuki - Стартер
вконтакте

Контактный телефон: +7 (981) 121-46-93, +7 (800) 200-90-76 , Email: parts-katalog@yandex.ru, где купить

 
 

  Логин:

Пароль:

Регистрация

www.partskatalog.ru Все каталоги Запчасти Mercury Запчасти Suzuki Запчасти Tohatsu Запчасти Honda Контакты

назад Раздел:   вперёд

Вернуться к выбору узлов мотора


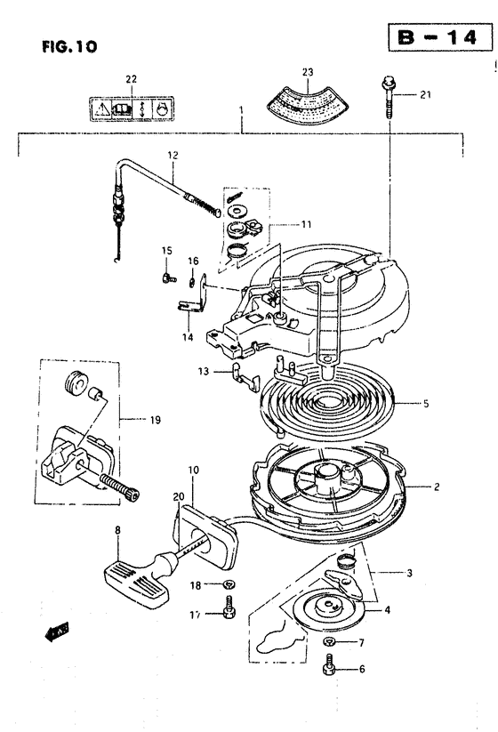
ДЕТАЛИРОВКА ДЛЯ МОДЕЛИ: SUZUKI DT8CVT(88-97) T

Стартер


Год выпуска двигателя: 1996

Регион: General Export No.1 ,Код региона: P01

Цвет: California Gray Metallic

Номер на
рисунке
АртикулНаименованиеQTYКол-во
на складе
Цена
118100-92D01-000

Запчасть снята с производства - The Spare Part Is Laid Off (The Spare Part Is Laid Off)

под заказ0 руб.
118100-92D11-000

Запчасть снята с производства - The Spare Part Is Laid Off (Type:sail) (The Spare Part Is Laid Off)

под заказ0 руб.
218120-93900-000

Барабан - Reel (Drum, sheave; ) (Reel)

под заказ7920 руб.
318130-93900-000

Храповик, установочный комплект - Ratchet Set (Ratchet set; ) (Ratchet Set)

под заказ1990 руб.
418151-93900-000

Пластина трения - Plate, Friction (Plate, Friction)

под заказ1070 руб.
518142-93900-000

Барабанная пружина - Spring, Recoil (Spring, Recoil)

под заказ3720 руб.
601500-06167-000

Болт - Bolt (Bolt, fuel cooler ) (Bolt)

под заказ150 руб.
708321-01067-000

Шайба с блокировкой - Washer, Lock (Washer, Lock)

под заказ140 руб.
818210-93002-000

Рукоятка в сборе - Grip Assy (Grip assy; ) (Grip Assy)

1 шт1150 руб.
1018181-93900-000

Направляющая шнура - Guide, Rope (Guide, Rope)

под заказ3650 руб.
1118280-93900-000

Nsi Set - Nsi Set (Nsi Set)

под заказ1520 руб.
1218292-92D00-000

Запчасть снята с производства - The Spare Part Is Laid Off (The Spare Part Is Laid Off)

под заказ0 руб.
1318186-92D00-000

Направляющая, Держатель - Guide, Holder (Guide, Holder)

под заказ0 руб.
1418295-92D00-000

Запчасть снята с производства - The Spare Part Is Laid Off (The Spare Part Is Laid Off)

под заказ0 руб.
1501500-06127-000

Болт - Bolt (Bolt)

под заказ150 руб.
1608321-01067-000

Шайба с блокировкой - Washer, Lock (Washer, Lock)

под заказ140 руб.
1701500-06167-000

Болт - Bolt (Bolt, fuel cooler ) (Bolt)

под заказ150 руб.
1808321-01067-000

Шайба с блокировкой - Washer, Lock (Washer, Lock)

под заказ140 руб.
1918190-92D00-000

Запчасть снята с производства - The Spare Part Is Laid Off (Type:sail) (The Spare Part Is Laid Off)

под заказ0 руб.
2099000-81159-50M

Шнур стартера 6 ммdia, 50m Role - Starter Rope 6mmdia, 50m Role (Opt l:50000->1500 ) (Starter Rope 6mmdia, 50m Role)

под заказ29280 руб.
2099000-81159-01M

   (актуальный код замены) Шнур стартера 6 Mm (1 Metr) Na Otrez - Starter Rope 6 Mm (1 Metr) Na Otrez

49 шт590 руб.
2109103-06095-000

Болт, Выхлоп Трубка - Bolt, Exhaust Tube (Bolt (6x35);) (Bolt, Exhaust Tube)

под заказ310 руб.
2129103-94400-000

   (актуальный код замены) Болт, Выхлоп Трубка - Bolt, Exhaust Tube

под заказ310 руб.
2129103-94400-000

Болт, Выхлоп Трубка - Bolt, Exhaust Tube (Bolt, Exhaust Tube)

под заказ310 руб.
2269711-93E00-000

Наклейки, S.i.g.p. - Label, Sigp (Label, S.i.g.p.)

под заказ500 руб.
2269711-93E11-000

   (актуальный код замены) Наклейки (s.i.g.p.) - Label (s.i.g.p.)

под заказ500 руб.
2269711-93E10-000

Наклейки, S.i.g.p. - Label, Sigp (Label, caution ) (Label, S.i.g.p.)

под заказ500 руб.
2269711-93E11-000

   (актуальный код замены) Наклейки (s.i.g.p.) - Label (s.i.g.p.)

под заказ500 руб.
2361582-98110-000

Маркировка, Warning - Mark, Warning (Mark, Warning)

под заказ0 руб.


Время выполнения запроса 2.5115389823914 сек.

 
 

данный сайт носит информационный характер и не является публичной офертой

склад запчастей для водомоторной техники