| |
 |
|
 |
Вернуться к выбору узлов мотора
ДЕТАЛИРОВКА ДЛЯ МОДЕЛИ: SUZUKI DT8SX(G-Y) X
Электрика
Год выпуска двигателя: 1999
Номер на рисунке | Артикул | Наименование | QTY | Кол-во на складе | Цена |
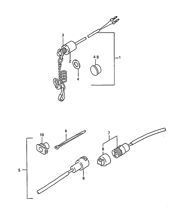
| 1 | 37802-93930-000 | Переключатель Set, Emergency - Switch Set, Emergency (Switch set, emergency & stop; E13, e40) (Switch Set, Emergency) | | под заказ | 0 руб. |
| 1 | 37802-93933-000 | (актуальный код замены) Запчасть снята с производства - The Spare Part Is Laid Off | | под заказ | 0 руб. |
| 1 | 37802-93931-000 | Переключатель Set, Emergency - Switch Set, Emergency (Switch Set, Emergency) | | под заказ | 0 руб. |
| 1 | 37802-93933-000 | (актуальный код замены) Запчасть снята с производства - The Spare Part Is Laid Off | | под заказ | 0 руб. |
| 2 | 37830-89E00-000 | Выключатель аварийной остановки двигателя - Switch Assy, Emergency & Stop (E13, e40) (Switch Assy, Emergency & Stop) | | под заказ | 7640 руб. |
| 2 | 37830-89E04-000 | (актуальный код замены) Выключатель аварийной остановки двигателя - Switch Assy, Emergency & Stop | | под заказ | 7640 руб. |
| 2 | 37830-89E03-000 | Выключатель аварийной остановки двигателя - Switch Assy, Emergency & Stop (Switch Assy, Emergency & Stop) | | 9 шт | 7640 руб. |
| 2 | 37830-89E04-000 | (актуальный код замены) Выключатель аварийной остановки двигателя - Switch Assy, Emergency & Stop | | под заказ | 7640 руб. |
| 3 | 37826-92E00-000 | Гайка - Nut (Nut) | | под заказ | 740 руб. |
| 4 | 09160-12067-000 | Шайба (12.5x23x1) - Washer (125x23x1) (Washer, emergency sw # Washer; E13, e40 ) (Washer (12.5x23x1)) | | 8 шт | 230 руб. |
| 4 | 63213-94400-000 | Колпачок, Stop Переключатель - Cap, Stop Switch (Cap, Stop Switch) | | под заказ | 910 руб. |
| 5 | 39600-93910-000 | Установочная коробка - Receptacle Set (Receptacle set; Model:93-00 ) (Receptacle Set) | | под заказ | 9080 руб. |
| 5 | 39600-93912-000 | (актуальный код замены) Установочная коробка - Receptacle Set | | 1 шт | 12560 руб. |
| 6 | 09407-14403-000 | Струбцина (l: 125) - Clamp (l:125) (Clamp, spark plug cap ) (Clamp (l:125)) | | под заказ | 170 руб. |
| 6 | 09407-25402-000 | Струбцина (l: 250) - Clamp (l:250) (Clamp, tilt sw # Clamp (l:248); ) (Clamp (l:250)) | | под заказ | 350 руб. |
| 7 | 39601-95D00-000 | Внешняя розетка - Receptacle (Receptacle assy, lighting # Receptacle assy, lighting; ) (Receptacle) | | под заказ | 4660 руб. |
| 7 | 39601-95D01-000 | (актуальный код замены) Внешняя розетка - Receptacle | | под заказ | 4660 руб. |
| 8 | 36634-93910-000 | Колпачок - Cap (Cap) | | под заказ | 340 руб. |
| 9 | 39602-93900-000 | Разьем провода нагрузки - Plug Assy, Lamp Cord (Plug, lighting ) (Plug Assy, Lamp Cord) | | под заказ | 5000 руб. |
| 10 | 39603-94400-000 | Пыльник розеткиe - Grommet, Receptaclee (Grommet, receptacle cable ) (Grommet, Receptaclee) | | под заказ | 840 руб. |
| 10 | 39603-94401-000 | (актуальный код замены) Пыльник розеткиe - Grommet, Receptaclee | | под заказ | 840 руб. |
Время выполнения запроса 2.2715198993683 сек. |
|