Купить оригинальные запчасти на лодочный мотор Suzuki модель 2000 года - Топливный насос - Fuel pump
вконтакте

Контактный телефон: +7 (981) 121-46-93, +7 (800) 200-90-76 , Email: parts-katalog@yandex.ru, где купить

 
 

  Логин:

Пароль:

Регистрация

www.partskatalog.ru Все каталоги Запчасти Mercury Запчасти Suzuki Запчасти Tohatsu Запчасти Honda Контакты

назад Раздел:   вперёд

Вернуться к выбору узлов мотора


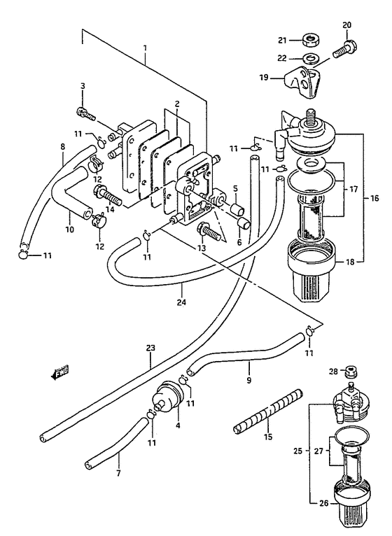
ДЕТАЛИРОВКА ДЛЯ МОДЕЛИ: SUZUKI DT8Y(G-Y) Y

Топливный насос


Год выпуска двигателя: 2000

Регион: General Export No.1 ,Код региона: P01

Цвет: Shadow Black Metallic

Номер на
рисунке
АртикулНаименованиеQTYКол-во
на складе
Цена
115100-98610-000

Топливный насос, в сборе - Pump Assy, Fuel (Pump Assy, Fuel)

1 шт10280 руб.
215170-98110-000

Диафрагма Set, Топливный насос - Diaphragm Set, Fuel Pump (Diaphragm set, fuel pump ) (Diaphragm Set, Fuel Pump)

2 шт5140 руб.
2SK15170-98110

   (не оригинальный аналог) Ремкомплект топливного насоса Skipper для Suzuki DT4-8

0 шт371 руб.
2SC-CR366

   (не оригинальный аналог) Ремкомплект топливного насоса Suzuki SC-CR366

под заказ670 руб.
315251-98101-000

Винт, Топливный насос - Screw, Fuel Pump (Screw, Fuel Pump)

под заказ0 руб.
415410-98500-000

Топливный фильтр - Filter, Fuel (Filter assy, fuel # Filter, fuel; ) (Filter, Fuel)

40 шт1600 руб.
415410-98500

   (не оригинальный аналог) Топливный фильтр Suzuki 15410-98500

под заказ590 руб.
509180-06144-000

Проставка (6.4x10x19) - Spacer (64x10x19) (Spacer, fuel pump # L:19 ) (Spacer (6.4x10x19))

под заказ330 руб.
609180-06196-000

Проставка (6.4x10x28) - Spacer (64x10x28) (Spacer, fuel pump # L:28 ) (Spacer (6.4x10x28))

под заказ0 руб.
709352-50903-600

Шланг (5x9x600) - Hose (5x9x600) (Hose, fuel (conn to filter); L:600->35 ) (Hose (5x9x600))

под заказ570 руб.
709352-50006-600

   (актуальный код замены) Шланг (5x9x600) - Hose (5x9x600)

1 шт570 руб.
809352-50903-600

Шланг (5x9x600) - Hose (5x9x600) (Hose, fuel (pump to carb); L:600->210 ) (Hose (5x9x600))

под заказ570 руб.
809352-50006-600

   (актуальный код замены) Шланг (5x9x600) - Hose (5x9x600)

1 шт570 руб.
909352-50903-600

Шланг (5x9x600) - Hose (5x9x600) (Hose, fuel (filter to pump); L:600->350 ) (Hose (5x9x600))

под заказ570 руб.
909352-50006-600

   (актуальный код замены) Шланг (5x9x600) - Hose (5x9x600)

1 шт570 руб.
1009355-54115-600

Шланг (5.4x11.4x600) - Hose (54x114x600) (Hose, vacuum # Hose, vacuum; L:600->11 ) (Hose (5.4x11.4x600))

под заказ1180 руб.
1109401-08410-000

Зажим - Clip (Clip)

под заказ130 руб.
1209401-10409-000

Зажим - Clip (Clip, vaccum; ) (Clip)

под заказ170 руб.
1301550-06407-000

Болт - Bolt (Bolt)

4 шт210 руб.
1401550-06507-000

Болт - Bolt (Bolt)

под заказ210 руб.
1538423-95510-000

Трубка провода переключателя (l: 250) - Tube, Switch Lead (l:250) (Tube; L:150->50) (Tube, Switch Lead (l:250))

под заказ610 руб.
1533833-91J00-000

   (актуальный код замены) Трубка провода переключателя (l: 250) - Tube, Switch Lead (l:250)

под заказ610 руб.
1533833-91J00-000

Трубка провода переключателя (l: 250) - Tube, Switch Lead (l:250) (Tube, Switch Lead (l:250))

под заказ610 руб.
1615410-93411-000

Топливный фильтр в сборе - Filter Assy, Fuel (E40) (Filter Assy, Fuel)

под заказ2280 руб.
1615410-94401-000

   (актуальный код замены) Топливный фильтр в сборе - Filter Assy, Fuel

32 шт2280 руб.
1615410-94400-000

Топливный фильтр в сборе - Filter Assy, Fuel (Filter Assy, Fuel)

3 шт2280 руб.
1615410-94401-000

   (актуальный код замены) Топливный фильтр в сборе - Filter Assy, Fuel

32 шт2280 руб.
1715430-93411-000

Фильтр Set - Filter Set (Strainer set # Strainer set; E40 ) (Filter Set)

под заказ1230 руб.
1815413-93400-000

Cвыше - Cup (Cup # E40 ) (Cup)

под заказ0 руб.
1915421-98101-000

Кронштейн топливного фильтра - Bracket, Fuel Filter (E40 ) (Bracket, Fuel Filter)

под заказ350 руб.
2002162-06167-000

Болт - Bolt (E40) (Bolt)

под заказ180 руб.
2001550-06167-000

   (актуальный код замены) Болт - Bolt

9 шт210 руб.
2001550-06167-000

Болт - Bolt (Bolt)

9 шт210 руб.
2108310-00087-000

Гайка - Nut (E40 ) (Nut)

под заказ140 руб.
2208322-01087-000

Шайба - Washer (Lock washer # Washer; E40 ) (Washer)

под заказ140 руб.
2309352-50903-600

Шланг (5x9x600) - Hose (5x9x600) (Hose, fuel (conn to filter); E40, l:600->270 ) (Hose (5x9x600))

под заказ570 руб.
2309352-50006-600

   (актуальный код замены) Шланг (5x9x600) - Hose (5x9x600)

1 шт570 руб.
2409352-50903-600

Шланг (5x9x600) - Hose (5x9x600) (Hose, fuel (filter to pump); E40, l:600->540 ) (Hose (5x9x600))

под заказ570 руб.
2409352-50006-600

   (актуальный код замены) Шланг (5x9x600) - Hose (5x9x600)

1 шт570 руб.
2515410-94400-000

Топливный фильтр в сборе - Filter Assy, Fuel (E40, model:97-00 ) (Filter Assy, Fuel)

3 шт2280 руб.
2515410-94401-000

   (актуальный код замены) Топливный фильтр в сборе - Filter Assy, Fuel

32 шт2280 руб.
2615413-87D10-000

Cвыше - Cup (E40, model:97-00 ) (Cup)

под заказ880 руб.
2715430-87D10-000

Element Set - Element Set (Element set; E40, model:97-00 ) (Element Set)

4 шт1350 руб.
2808316-10087-000

Гайка - Nut (E40, model:97-00 ) (Nut)

14 шт170 руб.


Время выполнения запроса 1.7934010028839 сек.

 
 

данный сайт носит информационный характер и не является публичной офертой

склад запчастей для водомоторной техники