Купить запчасти на двигатель Suzuki - Цилиндр
вконтакте

Контактный телефон: +7 (981) 121-46-93, +7 (800) 200-90-76 , Email: parts-katalog@yandex.ru, где купить

 
 

  Логин:

Пароль:

Регистрация

www.partskatalog.ru Все каталоги Запчасти Mercury Запчасти Suzuki Запчасти Tohatsu Запчасти Honda Контакты



УВАЖАЕМЫЕ КЛИЕНТЫ!
C 19 ДЕКАБРЯ 2025 ПО 02 МАРТА 2026 ГОДА ОТДЕЛ ЗАПЧАСТЕЙ И СЕРВИС РАБОТАТЬ НЕ БУДУТ
ПРОДАЖА ЛОДОЧНЫХ МОТОРОВ В ШТАТНОМ РЕЖИМЕ
ОБ ИЗМЕНЕНИЯХ В ГРАФИКЕ РАБОТЫ ЧИТАЙТЕ НА САЙТА



Раздел:   вперёд

Вернуться к выбору узлов мотора


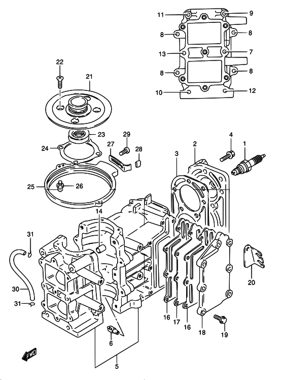
ДЕТАЛИРОВКА ДЛЯ МОДЕЛИ: SUZUKI DT8S K1

Цилиндр


Год выпуска двигателя: 2001

Регион: General Export No.1 ,Код региона: P01

Цвет: Shadow Black Metallic

Номер на
рисунке
АртикулНаименованиеQTYКол-во
на складе
Цена
109482-00530-000

Запчасть снята с производства - The Spare Part Is Laid Off (DT8) (The Spare Part Is Laid Off)

под заказ0 руб.
109482-00531-000

Свеча зажигания (bp6hs-0.9) - Plug, Spark (bp6hs-09) (DT8:E40 ) (Plug, Spark (bp6hs-0.9))

под заказ0 руб.
109482-00535-000

Свеча зажигания (br6hs-10) - Plug, Spark (br6hs-10) (Spark plug, br6hs # DT6 ) (Plug, Spark (br6hs-10))

под заказ0 руб.
211110-98100-0ED

Запчасть снята с производства - The Spare Part Is Laid Off (The Spare Part Is Laid Off)

под заказ0 руб.
211110-98100-0EP

Головка цилиндра (чёрный) - Head, Cylinder (black) (MODEL:02 ) (Head, Cylinder (black))

под заказ13640 руб.
311141-98130-000

Прокладка головки блока цилиндра - Gasket, Cylinder Head (Gasket, cylinder head # <-1141-98120 ) (Gasket, Cylinder Head)

под заказ2760 руб.
401560-08357-000

Болт - Bolt (Bolt)

7 шт260 руб.
511301-98182-0ED

Запчасть снята с производства - The Spare Part Is Laid Off (OPT, DT6) (The Spare Part Is Laid Off)

под заказ0 руб.
511301-98183-0ED

   (актуальный код замены) Запчасть снята с производства - The Spare Part Is Laid Off

под заказ0 руб.
511301-98183-0ED

Запчасть снята с производства - The Spare Part Is Laid Off (OPT, DT6 MODEL:01) (The Spare Part Is Laid Off)

под заказ0 руб.
511301-98183-0EP

Запчасть снята с производства - The Spare Part Is Laid Off (OPT, DT6 MODEL:02) (The Spare Part Is Laid Off)

под заказ0 руб.
511301-98195-0ED

Цилиндр в сборе (gray) - Cylinder Assy (gray) (Cylinder / crankcase assy # OPT, DT8 ) (Cylinder Assy (gray))

под заказ0 руб.
511301-98195-0EP

Запчасть снята с производства - The Spare Part Is Laid Off (OPT, DT8 MODEL:02) (The Spare Part Is Laid Off)

под заказ0 руб.
511301-981B2-0ED

Запчасть снята с производства - The Spare Part Is Laid Off (DT8) (The Spare Part Is Laid Off)

под заказ0 руб.
511301-981B2-0EP

Цилиндр в сборе - Cylinder Assy (DT8, MODEL:02 ) (Cylinder Assy)

под заказ0 руб.
511301-981D2-0ED

Цилиндр в сборе (gray) - Cylinder Assy (gray) (Cylinder / crankcase assy # DT6, W/DECOMP ) (Cylinder Assy (gray))

под заказ0 руб.
511301-981D2-0EP

Цилиндр в сборе - Cylinder Assy (DTD6, W/DECOMP MODEL:02 ) (Cylinder Assy)

под заказ0 руб.
616710-95D10-000

Контрольный клапан - Valve, Check (FOR 11301-981D2 ) (Valve, Check)

под заказ2330 руб.
709103-06189-000

Запчасть снята с производства - The Spare Part Is Laid Off (The Spare Part Is Laid Off)

под заказ0 руб.
801550-06307-000

Болт - Bolt (Bolt)

8 шт250 руб.
901550-06457-000

Болт - Bolt (Bolt)

под заказ210 руб.
1001550-06557-000

Болт - Bolt (Bolt)

5 шт210 руб.
1101550-06557-000

Болт - Bolt (Bolt)

5 шт210 руб.
1201550-06607-000

Болт - Bolt (Bolt)

под заказ260 руб.
1301550-06757-000

Болт - Bolt (Bolt)

под заказ260 руб.
1404211-09109-000

Штифт - Pin (Knock pin ) (Pin)

под заказ120 руб.
1614151-98111-000

Прокладка кожуха выхлопной трубы - Gasket, Exhaust Cover (Gasket, exhaust cover ) (Gasket, Exhaust Cover)

под заказ1180 руб.
1714131-98102-000

Пластина, Кожух выхлопной трубы - Plate, Exhaust Cover (Plate, Exhaust Cover)

под заказ0 руб.
1814141-98100-0ED

Выхлопная крышка (gray) - Cover, Exhaust (gray) (Cover, Exhaust (gray))

под заказ0 руб.
1814141-98100-0EP

Запчасть снята с производства - The Spare Part Is Laid Off (MODEL:02) (The Spare Part Is Laid Off)

под заказ0 руб.
1901550-06257-000

Болт - Bolt (Bolt)

под заказ180 руб.
2033883-98102-0ED

Станина, High Tension Cord - Stay, High Tension Cord (Stay, high tension cord ) (Stay, High Tension Cord)

под заказ0 руб.
2033883-98102-0EP

Станина, High Tension Cord (чёрный) - Stay, High Tension Cord (black) (MODEL:02 ) (Stay, High Tension Cord (black))

под заказ0 руб.
2111411-98500-000

Корпус верхнего сальника - Housing, Upr Oil Seal (Housing, Upr Oil Seal)

под заказ0 руб.
2202122-06167-000

Винт - Screw (Screw)

под заказ120 руб.
2309283-20006-000

Сальник (20x37x7) - Seal, Oil (20x37x7) (Oil seal, upper crank shaft ) (Seal, Oil (20x37x7))

10 шт530 руб.
2411413-98510-000

Прокладка верхнего корпуса сальника - Gasket, Upr Oil Seal Hsg (Gasket, upper oil seal hsg ) (Gasket, Upr Oil Seal Hsg)

под заказ480 руб.
2519151-98101-0ED

Фиксатор, Стартер - Retainer, Starter (Retainer, Starter)

под заказ0 руб.
2519151-98101-0EP

Фиксатор, Стартер - Retainer, Starter (MODEL:02 ) (Retainer, Starter)

под заказ0 руб.
2609119-06047-000

Стержень - Pivot (Pivot, ball ) (Pivot)

21 шт520 руб.
2719172-98102-000

Стопор, Фиксатор - Stopper, Retainer (Stopper, retainer ) (Stopper, Retainer)

под заказ0 руб.
2809352-50823-600

Шланг (5x8.2x600) - Hose (5x82x600) (Hose, evapotation (5.0x8.2x600) # L:600->.5 ) (Hose (5x8.2x600))

под заказ640 руб.
2809352-50005-600

   (актуальный код замены) Шланг (5x8.2x600) - Hose (5x8.2x600)

под заказ640 руб.
2902112-05107-000

Винт - Screw (Screw, bracket ) (Screw)

под заказ120 руб.
3009355-25705-600

Шланг (2.5x7x600) - Hose (25x7x600) (Hose, out no.4 (2.5x7x300) # DT6, L:600->40 ) (Hose (2.5x7x600))

под заказ680 руб.
3009355-25001-600

   (актуальный код замены) Шланг - Hose

под заказ680 руб.
3109401-06101-000

Зажим - Clip (DT6 ) (Clip)

под заказ160 руб.


Время выполнения запроса 2.949835062027 сек.

 
 

данный сайт носит информационный характер и не является публичной офертой

склад запчастей для водомоторной техники