Подобрать оригинальные запчасти на мотор SUZUKI модель 2012 года - Crankshaft - Коленвал
вконтакте

Контактный телефон: +7 (981) 121-46-93, +7 (800) 200-90-76 , Email: parts-katalog@yandex.ru, где купить

 
 

  Логин:

Пароль:

Регистрация

www.partskatalog.ru Все каталоги Запчасти Mercury Запчасти Suzuki Запчасти Tohatsu Запчасти Honda Контакты



УВАЖАЕМЫЕ КЛИЕНТЫ!
C 19 ДЕКАБРЯ 2025 ПО 02 МАРТА 2026 ГОДА ОТДЕЛ ЗАПЧАСТЕЙ И СЕРВИС РАБОТАТЬ НЕ БУДУТ
ПРОДАЖА ЛОДОЧНЫХ МОТОРОВ В ШТАТНОМ РЕЖИМЕ
ОБ ИЗМЕНЕНИЯХ В ГРАФИКЕ РАБОТЫ ЧИТАЙТЕ НА САЙТА



назад Раздел:   вперёд

Вернуться к выбору узлов мотора


ДЕТАЛИРОВКА ДЛЯ МОДЕЛИ: SUZUKI DT9.9K FROM 00993K-210001~

Коленвал


Год выпуска двигателя: 2012

Цвет: Shadow Black Metallic

Номер на
рисунке
АртикулНаименованиеQTYКол-во
на складе
Цена
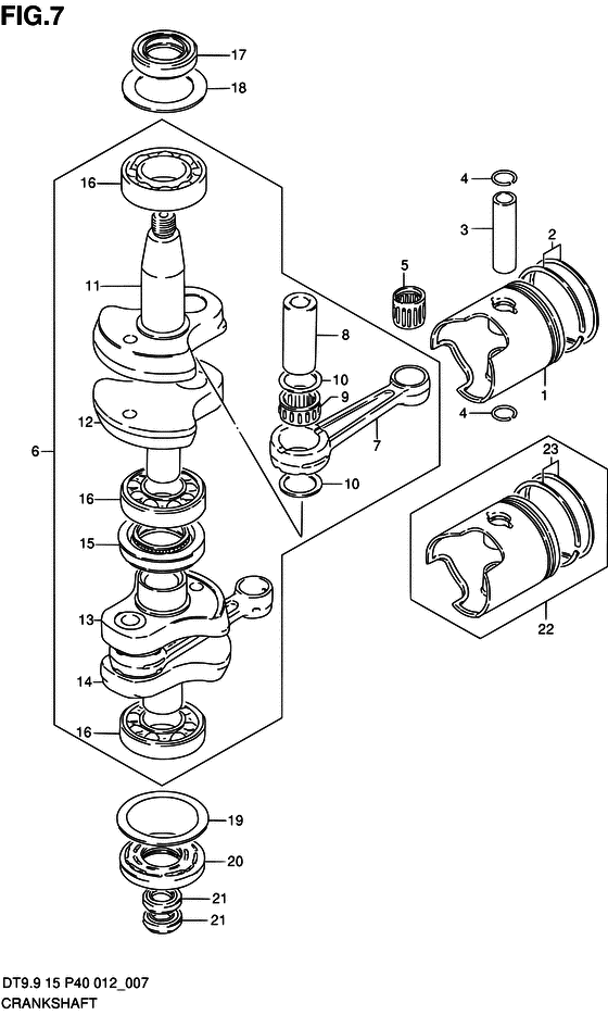
112110-90L00-0B0

Поршень - Piston (Piston)

3 шт5230 руб.
212140-90L00-000

Поршневые кольца - Ring Set, Piston (Ring Set, Piston)

27 шт5630 руб.
312151-93100-000

Поршневой палец - Pin, Piston (Pin, piston (dt16) ) (Pin, Piston)

14 шт1000 руб.
409381-14001-000

Пружинное кольцо - Ring, Snap (Ring, Snap)

24 шт160 руб.
4SK09381-14001

   (не оригинальный аналог) Кольцо стопорное пальца поршня Skipper для Suzuki Модели техники: DT9.9-15HP, DT9.9A-15A HP, DF9.9-15HP, DF8A-9.9A HP

0 шт61 руб.
509263-14022-000

Подшипник (14x18x19.8) - Bearing (14x18x198) (Bearing (14x18x19.8) ) (Bearing (14x18x19.8))

11 шт1190 руб.
5SK09263-14022

   (не оригинальный аналог) Подшипник поршня игольчатый Skipper для Suzuki DT9.9-15, DT9.9A-15A

0 шт221 руб.
509263-14022

   (не оригинальный аналог) Игольчатый подшипник Suzuki 09263-14022

под заказ370 руб.
5SC-BR138

   (не оригинальный аналог) Игольчатый подшипник Tohatsu SC-BR138

2 шт650 руб.
612200-90L00-000

Коленвал в сборе - Crankshaft Assy (Crankshaft Assy)

под заказ73920 руб.
612200-90L11-000

   (актуальный код замены) Коленвал в сборе - Crankshaft Assy

1 шт73920 руб.
612200-90L11-000

Коленвал в сборе - Crankshaft Assy (Crankshaft Assy)

1 шт73920 руб.
712161-93902-000

Шатун - Rod, Connecting (Rod, Connecting)

4 шт6980 руб.
7SK12161-93902

   (не оригинальный аналог) Шатун Skipper для Suzuki DT9.9, DT9.9A, DT15, DT15A, DT15C

2 шт998 руб.
712161-93902

   (не оригинальный аналог) Шатунная сборка Suzuki 12161-93902

под заказ3420 руб.
712161-93902-0

   (не оригинальный аналог) Шатун Suzuki 12161-93902-0

под заказ1650 руб.
712160-93902

   (не оригинальный аналог) Шатунная сборка Suzuki 12160-93902

под заказ3260 руб.
7SC-CD010

   (не оригинальный аналог) Шатунная сборка Suzuki SC-CD010

под заказ2900 руб.
812211-93900-000

Штифт кривошипа - Pin, Crank (Pin, Crank)

4 шт2420 руб.
8SK12211-93900

   (не оригинальный аналог) Палец шатуна Skipper для Suzuki DT9.9/DT15

0 шт457 руб.
909263-20051-000

Подшипник (20x27x16) - Bearing (20x27x16) (Bearing ) (Bearing (20x27x16))

8 шт2950 руб.
1009160-20052-000

Шайба (20x34x1) - Washer (20x34x1) (Thrust washer ) (Washer (20x34x1))

10 шт340 руб.
10SK09160-20052

   (не оригинальный аналог) Шайба подшипника шатуна Skipper для Suzuki DT9.9-15, DT9.9A-15A

0 шт113 руб.
1112221-93902-000

Коленвал, вышеr - Crankshaft, Upr (Crankshaft, Upr)

под заказ21750 руб.
1112221-90L10-000

   (актуальный код замены) Коленвал, вышеr - Crankshaft, Upr

под заказ21750 руб.
1112221-90L10-000

Коленвал, вышеr - Crankshaft, Upr (Crankshaft, Upr)

под заказ21750 руб.
1212231-93901-000

Wheel, Middle Коленвал вышеr - Wheel, Middle Crankshaft Upr (Wheel, Middle Crankshaft Upr)

под заказ20600 руб.
1212231-90L10-000

   (актуальный код замены) Wheel, Middle Коленвал вышеr - Wheel, Middle Crankshaft Upr

под заказ20600 руб.
1212231-90L10-000

Wheel, Middle Коленвал вышеr - Wheel, Middle Crankshaft Upr (Wheel, Middle Crankshaft Upr)

под заказ20600 руб.
1312232-93901-000

Wheel, Middle Коленвал Under - Wheel, Middle Crankshaft Under (Wheel, Middle Crankshaft Under)

под заказ19590 руб.
1412240-93900-000

Коленвал Comp, Under - Crankshaft Comp, Under (Crankshaft Comp, Under)

под заказ20600 руб.
1412240-90L10-000

   (актуальный код замены) Коленвал Comp, Under - Crankshaft Comp, Under

под заказ20600 руб.
1412240-90L10-000

Коленвал Comp, Under - Crankshaft Comp, Under (Crankshaft Comp, Under)

под заказ20600 руб.
1509289-30008-000

Сальник (30x56.5x10) - Seal, Oil (30x565x10) (Seal, Oil (30x56.5x10))

под заказ3700 руб.
1509289-30L01-000

   (актуальный код замены) Сальник (30x56.5x10) - Seal, Oil (30x56.5x10)

18 шт4550 руб.
15SK09289-30008

   (не оригинальный аналог) Сальник коленвала Skipper для Suzuki Модели техники: DT9.9-15, средний

0 шт323 руб.
15SC-OL049

   (не оригинальный аналог) Сальник коленвала Suzuki SC-OL049

под заказ720 руб.
1509289-30L01-000

Сальник (30x56.5x10) - Seal, Oil (30x565x10) (Seal, Oil (30x56.5x10))

18 шт4550 руб.
1609262-25078-000

Подшипник (25x52x15) - Bearing (25x52x15) (Bearing (25x52x15) ) (Bearing (25x52x15))

34 шт4350 руб.
16SK09262-25078

   (не оригинальный аналог) Подшипник коленвала Skipper для Suzuki DT9.9-15

0 шт1042 руб.
1609262-25078

   (не оригинальный аналог) Подшипник коленвала Suzuki 09262-25078

под заказ1730 руб.
1709283-25035-000

Сальник (25x40x7) - Seal, Oil (25x40x7) (Oil seal, upper crankshaft ) (Seal, Oil (25x40x7))

58 шт550 руб.
17SK09283-25035

   (не оригинальный аналог) Сальник коленвала Skipper для Suzuki Модели техники: DT9.9-15, DT9.9A-15A, верхний

2 шт122 руб.
17SC-OL047

   (не оригинальный аналог) Сальник коленвала Suzuki SC-OL047

под заказ230 руб.
1809160-36003-000

Шайба (36x52x1) - Washer (36x52x1) (Thrust washer ) (Washer (36x52x1))

4 шт160 руб.
1909160-46004-000

Шайба (44x57x2) - Washer (44x57x2) (Thrust washer ) (Washer (44x57x2))

3 шт490 руб.
2009283-25075-000

Сальник (25x52x7) - Seal, Oil (25x52x7) (Seal, Oil (25x52x7))

37 шт1130 руб.
20SK09283-25075

   (не оригинальный аналог) Сальник коленвала Skipper для Suzuki Модели техники: DT9.9-15, нижний

0 шт262 руб.
20SC-OL018

   (не оригинальный аналог) Сальник коленвала Suzuki SC-OL018

под заказ420 руб.
2109282-12010-000

Сальник (12x25x7) - Seal, Oil (12x25x7) (Seal, Oil (12x25x7))

под заказ560 руб.
2109282-12L04-000

   (актуальный код замены) Сальник (12x25x7) - Seal, Oil (12x25x7)

60 шт620 руб.
21SK09282-12010

   (не оригинальный аналог) Сальник коленвала Skipper для Suzuki Модели техники: DT9.9-15, DF9.9-15, нижний

0 шт113 руб.
2109282-12L04-000

Сальник (12x25x7) - Seal, Oil (12x25x7) (Seal, Oil (12x25x7))

60 шт620 руб.
2212100-90L00-050

Комплект поршня (os: 0.5) - Piston Set (os:05) (OPT ) (Piston Set (os:0.5))

1 шт8200 руб.
2312140-93140-050

Поршневые кольца (os: 0.50) - Ring Set, Piston (os:050) (OPT ) (Ring Set, Piston (os:0.50))

под заказ3630 руб.


Время выполнения запроса 3.4082701206207 сек.

 
 

данный сайт носит информационный характер и не является публичной офертой

склад запчастей для водомоторной техники