| |
 |
|
 |
Вернуться к выбору узлов мотора
ДЕТАЛИРОВКА ДЛЯ МОДЕЛИ: SUZUKI DT9.9 FROM 00996-210001~
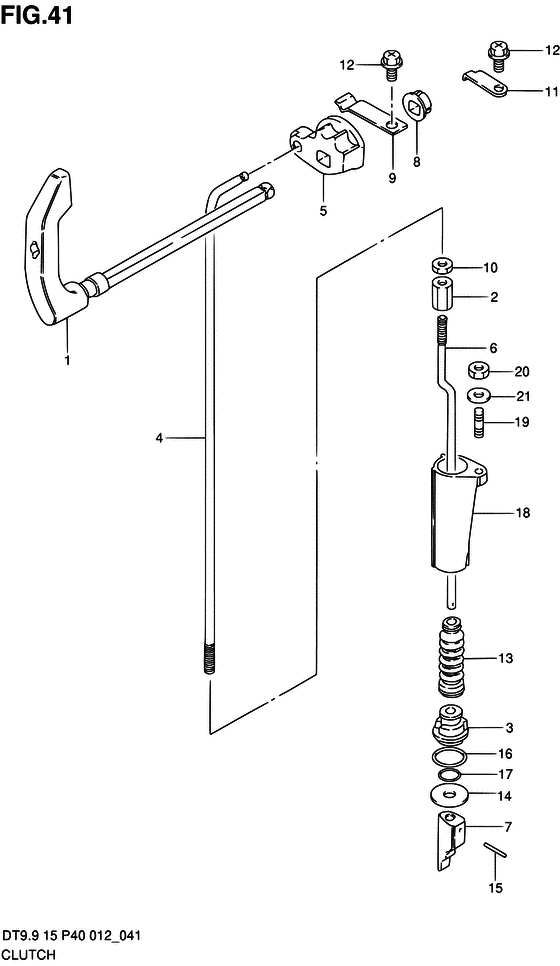
Сцепление
Номер на рисунке | Артикул | Наименование | QTY | Кол-во на складе | Цена |
| 1 | 21110-93912-000 | Рычаг сцепления - Lever, Clutch (Lever, Clutch) | | под заказ | 2260 руб. |
| 1 | 21110-90L01-000 | (актуальный код замены) Рычаг сцепления - Lever, Clutch | | 4 шт | 2560 руб. |
| 1 | 21110-90L01-000 | Рычаг сцепления - Lever, Clutch (Lever, Clutch) | | 4 шт | 2560 руб. |
| 1 | 21110-90L01-000 | Рычаг сцепления - Lever, Clutch (Lever, Clutch) | | 4 шт | 2560 руб. |
| 2 | 23311-94300-000 | Buckle, Тяга сцепления Turn - Buckle, Clutch Rod Turn (Buckle, Clutch Rod Turn) | | 10 шт | 900 руб. |
| 3 | 25211-93901-000 | Направляющая переключающей тяги - Guide, Shift Rod (Guide, Shift Rod) | | 3 шт | 610 руб. |
| 4 | 23111-93901-000 | Тяга сцепления - Rod, Clutch (Rod, Clutch) | | под заказ | 2740 руб. |
| 5 | 23211-93900-000 | Рукоятка тяги сцепления - Arm, Clutch Rod (Arm, Clutch Rod) | | под заказ | 620 руб. |
| 6 | 25111-93901-000 | Переключающая тяга (l) - Rod, Shift (l) (TRANSOM (L) ) (Rod, Shift (l)) | | под заказ | 2600 руб. |
| 7 | 25311-93E11-000 | Кулачок переключателя - Cam, Shift (Cam, Shift) | | под заказ | 2190 руб. |
| 8 | 21220-93900-000 | Втулка рычага сцепления - Bush, Clutch Lever (Bush, Clutch Lever) | | под заказ | 370 руб. |
| 8 | 21221-95L00-000 | (актуальный код замены) Втулка рычага сцепления - Bush, Clutch Lever | | под заказ | 370 руб. |
| 8 | 21221-95L00-000 | Втулка рычага сцепления - Bush, Clutch Lever (Bush, Clutch Lever) | | под заказ | 370 руб. |
| 9 | 23213-93900-000 | Пружина пластины с пазом - Spring, Notch Plate (Spring, notch plate ) (Spring, Notch Plate) | | под заказ | 280 руб. |
| 10 | 29141-93J00-000 | Гайка - Nut (Nut) | | 18 шт | 480 руб. |
| 11 | 21126-92D00-000 | Держатель вала сцепления - Holder, Clutch Shaft (Holder, clutch shaft ) (Holder, Clutch Shaft) | | под заказ | 260 руб. |
| 11 | 21126-95L10-000 | (актуальный код замены) Держатель вала сцепления - Holder, Clutch Shaft | | под заказ | 260 руб. |
| 12 | 02162-06127-000 | Винт - Screw (Screw) | | под заказ | 150 руб. |
| 13 | 25222-93901-000 | Башмак переключающей тяги - Boot, Shift Rod (Boot, Shift Rod) | | 1 шт | 930 руб. |
| 13 | 25222-93902-000 | (актуальный код замены) Башмак переключающей тяги - Boot, Shift Rod | | 23 шт | 930 руб. |
| 13 | SK25222-93901 | (не оригинальный аналог) Гофра тяги переключения передач Skipper для Suzuki DT4-5/9.9-15/DF4-15 | | 0 шт | 176 руб. |
| 14 | 09160-05047-000 | Шайба (5.5x24x1.6) - Washer (55x24x16) (Washer (5.5x24x1.6)) | | под заказ | 150 руб. |
| 15 | 09205-02004-000 | Стопор пружины (2.5x12) - Pin, Spring (25x12) (Spring pin ) (Pin, Spring (2.5x12)) | | 6 шт | 100 руб. |
| 16 | 09280-05005-000 | Уплотнительное кольцо (d: 3.5, Id: 4.9) - O Ring (d:35, Id:49) (O ring (d:3.5 id:4.9) ) (O Ring (d:3.5, Id:4.9)) | | 25 шт | 160 руб. |
| 17 | 59291-94J00-000 | Уплотнительное кольцо направляющей переключающей тяги - O Ring, Shift Rod Guide (O Ring, Shift Rod Guide) | | 10 шт | 200 руб. |
| 18 | 25215-94J00-000 | Стопор переключателя направляющей тяги - Stopper, Shift Rod Guide (Stopper, Shift Rod Guide) | | 1 шт | 240 руб. |
| 19 | 09108-05007-000 | Болт под шпильку - Bolt, Stud (Stud bolt ) (Bolt, Stud) | | под заказ | 270 руб. |
| 20 | 09140-05005-000 | Гайка - Nut (Nut) | | 10 шт | 270 руб. |
| 21 | 09160-05029-000 | Шайба (5.5x12x0.8) - Washer (55x12x08) (Washer (5.5x12x0.8)) | | 14 шт | 130 руб. |
Время выполнения запроса 0.82327198982239 сек. |
|