| |
 |
|
 |
Вернуться к выбору узлов мотора
ДЕТАЛИРОВКА ДЛЯ МОДЕЛИ: SUZUKI DT9.9 FROM 00996-410001~
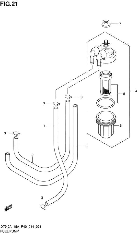
Топливный насос
Номер на рисунке | Артикул | Наименование | QTY | Кол-во на складе | Цена |
| 1 | 15211-91J00-125 | Топливный шланг Gas (conn To Фильтр) - Hose, Fuel Gas (conn To Filter) (Hose, Fuel Gas (conn To Filter)) | | под заказ | 200 руб. |
| 1 | 15211-91J01-125 | (актуальный код замены) Топливный шланг Gas (conn To Фильтр) - Hose, Fuel Gas (conn To Filter) | | под заказ | 200 руб. |
| 2 | 15211-91J00-270 | Топливный шланг Gas (Фильтр To Помпа) - Hose, Fuel Gas (filter To Pump) (Hose, Fuel Gas (filter To Pump)) | | под заказ | 340 руб. |
| 3 | 09401-08410-000 | Зажим - Clip (Clip) | | под заказ | 130 руб. |
| 4 | 15410-94400-000 | Топливный фильтр в сборе - Filter Assy, Fuel (Filter Assy, Fuel) | | 3 шт | 2280 руб. |
| 4 | 15410-94401-000 | (актуальный код замены) Топливный фильтр в сборе - Filter Assy, Fuel | | 32 шт | 2280 руб. |
| 5 | 15430-87D10-000 | Element Set - Element Set (Element Set) | | 4 шт | 1350 руб. |
| 6 | 15413-87D10-000 | Cвыше - Cup (Cup) | | под заказ | 880 руб. |
| 7 | 08316-10087-000 | Гайка - Nut (Nut) | | 14 шт | 170 руб. |
| 8 | 18498-94JL0-230 | Защита топливного шланга (l: 230) - Protector, Fuel Hose (l:230) (Protector, Fuel Hose (l:230)) | | под заказ | 330 руб. |
Время выполнения запроса 0.89087390899658 сек. |
|