Купить оригинальные запчасти на подвесной двигатель Suzuki модель 1982 года - Transmission 2
вконтакте

Контактный телефон: +7 (981) 121-46-93, +7 (800) 200-90-76 , Email: parts-katalog@yandex.ru, где купить

 
 

  Логин:

Пароль:

Регистрация

www.partskatalog.ru Все каталоги Запчасти Mercury Запчасти Suzuki Запчасти Tohatsu Запчасти Honda Контакты



УВАЖАЕМЫЕ КЛИЕНТЫ!
C 19 ДЕКАБРЯ 2025 ПО 02 МАРТА 2026 ГОДА ОТДЕЛ ЗАПЧАСТЕЙ И СЕРВИС РАБОТАТЬ НЕ БУДУТ
ПРОДАЖА ЛОДОЧНЫХ МОТОРОВ В ШТАТНОМ РЕЖИМЕ
ОБ ИЗМЕНЕНИЯХ В ГРАФИКЕ РАБОТЫ ЧИТАЙТЕ НА САЙТА



назад Раздел:   вперёд

Вернуться к выбору узлов мотора


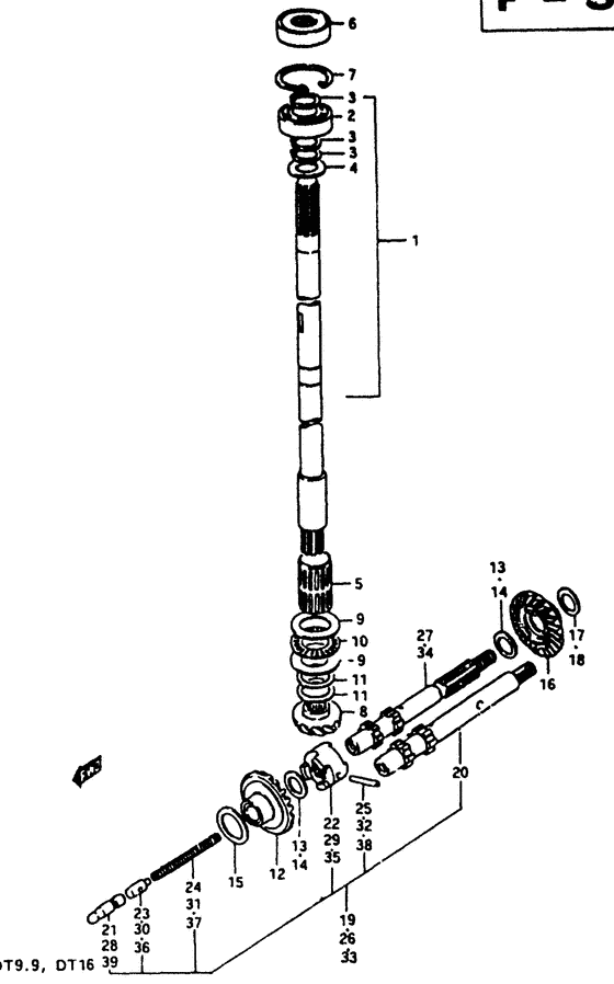
ДЕТАЛИРОВКА ДЛЯ МОДЕЛИ: SUZUKI DT9.9VZ(G/J/VZ) Z

Трансмиссия 2


Год выпуска двигателя: 1982

Номер на
рисунке
АртикулНаименованиеQTYКол-во
на складе
Цена
1957600-96100-000

(To 57600-96110, ge9, ge13)

под заказ0 руб.
2057611-93100-000

(Ge9, ge13)

под заказ0 руб.
2157631-93100-000

Запчасть снята с производства - The Spare Part Is Laid Off (Ge9, ge13) (The Spare Part Is Laid Off)

под заказ0 руб.
2257621-96100-000

Запчасть снята с производства - The Spare Part Is Laid Off (Ge9, ge13) (The Spare Part Is Laid Off)

под заказ0 руб.
2257621-96101-000

   (актуальный код замены) Запчасть снята с производства - The Spare Part Is Laid Off

под заказ0 руб.
2357632-99000-000

Запчасть снята с производства - The Spare Part Is Laid Off (Ge9, ge13) (The Spare Part Is Laid Off)

под заказ0 руб.
2409440-07018-000

Пружина - Spring (Ge9, ge13) (Spring)

под заказ160 руб.
2409440-07041-000

   (актуальный код замены) Пружина - Spring

5 шт160 руб.
2409440-07041-000

Пружина - Spring (Spring)

5 шт160 руб.
2509209-04008-000

Запчасть снята с производства - The Spare Part Is Laid Off (Pin, dog shifter; Od:4, l:35.5, ge9, ge13) (The Spare Part Is Laid Off)

под заказ0 руб.
2657600-96110-000

(Je9, je13)

под заказнет сведений
2757611-93110-000

(To 57600-96110, je9, je13)

под заказ0 руб.
2857631-93100-000

Запчасть снята с производства - The Spare Part Is Laid Off (Je9, je13) (The Spare Part Is Laid Off)

под заказ0 руб.
2957621-96100-000

Запчасть снята с производства - The Spare Part Is Laid Off (Je9, je13) (The Spare Part Is Laid Off)

под заказ0 руб.
2957621-96101-000

   (актуальный код замены) Запчасть снята с производства - The Spare Part Is Laid Off

под заказ0 руб.
3057632-99000-000

Запчасть снята с производства - The Spare Part Is Laid Off (Je9, je13) (The Spare Part Is Laid Off)

под заказ0 руб.
3109440-07018-000

Пружина - Spring (Je9, je13) (Spring)

под заказ160 руб.
3109440-07041-000

   (актуальный код замены) Пружина - Spring

5 шт160 руб.
3109440-07041-000

Пружина - Spring (Spring)

5 шт160 руб.
3209209-04008-000

Запчасть снята с производства - The Spare Part Is Laid Off (Pin, dog shifter; Od:4, l:35.5, je9, je13) (The Spare Part Is Laid Off)

под заказ0 руб.
3357600-96111-000

Запчасть снята с производства - The Spare Part Is Laid Off (Ge3, ge28, model vz) (The Spare Part Is Laid Off)

под заказ0 руб.
3557621-96100-000

Запчасть снята с производства - The Spare Part Is Laid Off (Ge3, ge28, model vz) (The Spare Part Is Laid Off)

под заказ0 руб.
3557621-96101-000

   (актуальный код замены) Запчасть снята с производства - The Spare Part Is Laid Off

под заказ0 руб.
3657632-99000-000

Запчасть снята с производства - The Spare Part Is Laid Off (Ge3, ge28, model vz) (The Spare Part Is Laid Off)

под заказ0 руб.
3709440-07018-000

Пружина - Spring (Ge3, ge28, model vz) (Spring)

под заказ160 руб.
3709440-07041-000

   (актуальный код замены) Пружина - Spring

5 шт160 руб.
3709440-07041-000

Пружина - Spring (Spring)

5 шт160 руб.
3809209-04008-000

Запчасть снята с производства - The Spare Part Is Laid Off (Pin, dog shifter; Od:4, l:35.5, ge3, ge28, model vz) (The Spare Part Is Laid Off)

под заказ0 руб.
3957631-93100-000

Запчасть снята с производства - The Spare Part Is Laid Off (Ge3, ge28, model vz) (The Spare Part Is Laid Off)

под заказ0 руб.


Время выполнения запроса 1.4106340408325 сек.

 
 

данный сайт носит информационный характер и не является публичной офертой

склад запчастей для водомоторной техники