Найти запчасти на подвесной двигатель Suzuki модель 1982 года - Fuel gauge 2
вконтакте

Контактный телефон: +7 (981) 121-46-93, +7 (800) 200-90-76 , Email: parts-katalog@yandex.ru, где купить

 
 

  Логин:

Пароль:

Регистрация

www.partskatalog.ru Все каталоги Запчасти Mercury Запчасти Suzuki Запчасти Tohatsu Запчасти Honda Контакты



УВАЖАЕМЫЕ КЛИЕНТЫ!
C 19 ДЕКАБРЯ 2025 ПО 02 МАРТА 2026 ГОДА ОТДЕЛ ЗАПЧАСТЕЙ И СЕРВИС РАБОТАТЬ НЕ БУДУТ
ПРОДАЖА ЛОДОЧНЫХ МОТОРОВ В ШТАТНОМ РЕЖИМЕ
ОБ ИЗМЕНЕНИЯХ В ГРАФИКЕ РАБОТЫ ЧИТАЙТЕ НА САЙТА



назад Раздел:   вперёд

Вернуться к выбору узлов мотора


ДЕТАЛИРОВКА ДЛЯ МОДЕЛИ: SUZUKI DT9.9VZ(G/J/VZ) Z

Fuel gauge 2


Год выпуска двигателя: 1982

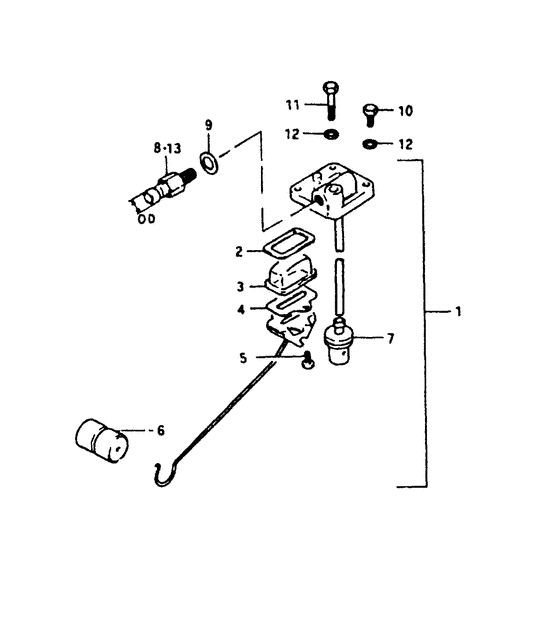
Номер на
рисунке
АртикулНаименованиеQTYКол-во
на складе
Цена
165850-95503-000

под заказ0 руб.
165740-95500-000

Разъем топливного коннектора - Plug, Fuel Connector (Connector, fuel ) (Plug, Fuel Connector)

под заказ2720 руб.
165740-95501-000

   (актуальный код замены) Разъем топливного коннектора - Plug, Fuel Connector

под заказ2720 руб.
165850-95X50-000

Прибор - измеритель уровня топлива - Gauge Assy, Fuel (Gauge assy ) (Gauge Assy, Fuel)

под заказ0 руб.
109168-12015-XC0

Прокладка (12.2x21x0.8) - Gasket (122x21x08) (Gasket (12.2x21x0.8))

под заказ350 руб.
109168-12015-XC0

Прокладка (12.2x21x0.8) - Gasket (122x21x08) (Gasket (12.2x21x0.8))

под заказ350 руб.
265854-93001-000

Прокладка - Gasket (Gasket, strainer; ) (Gasket)

под заказ0 руб.
365853-93001-000

Топливный фильтр Gauge - Strainer, Fuel Gauge (Strainer; ) (Strainer, Fuel Gauge)

под заказ0 руб.
465862-93000-000

Запчасть снята с производства - The Spare Part Is Laid Off (The Spare Part Is Laid Off)

под заказ0 руб.
465862-93060-000

   (актуальный код замены) Запчасть снята с производства - The Spare Part Is Laid Off

под заказ0 руб.
502112-04108-000

Винт - Screw (Screw)

под заказ120 руб.
502112-04107-000

   (актуальный код замены) Винт - Screw

под заказ120 руб.
502112-04107-000

Винт - Screw (Screw)

под заказ120 руб.
665864-95200-000

Запчасть снята с производства - The Spare Part Is Laid Off (Float;) (The Spare Part Is Laid Off)

под заказ0 руб.
765830-95500-000

Фильтр - Filter (Filter)

под заказ1180 руб.
909168-12001-000

Прокладка (12.5x20x1) - Gasket (125x20x1) (Gasket # Gasket, plug; ) (Gasket (12.5x20x1))

под заказ220 руб.
1001107-06168-000

Болт - Bolt (Bolt)

под заказ150 руб.
1001500-06167-000

   (актуальный код замены) Болт - Bolt

под заказ150 руб.
1001500-06167-000

Болт - Bolt (Bolt, fuel cooler ) (Bolt)

под заказ150 руб.
1101107-06408-000

Болт - Bolt (Bolt)

под заказ190 руб.
1101500-0640B-000

   (актуальный код замены) Болт - Bolt

под заказ190 руб.
1101500-0640B-000

Болт - Bolt (Bolt)

под заказ190 руб.
1208322-21068-000

Шайба - Washer (Washer)

под заказ140 руб.
1208322-01067-000

   (актуальный код замены) Шайба - Washer

10 шт160 руб.
1208322-01067-000

Шайба - Washer (Washer)

10 шт160 руб.


Время выполнения запроса 1.5816860198975 сек.

 
 

данный сайт носит информационный характер и не является публичной офертой

склад запчастей для водомоторной техники