Оригинальные запчасти на подвесной двигатель SUZUKI модель 1982 года - Карбюратор
вконтакте

Контактный телефон: +7 (981) 121-46-93, +7 (800) 200-90-76 , Email: parts-katalog@yandex.ru, где купить

 
 

  Логин:

Пароль:

Регистрация

www.partskatalog.ru Все каталоги Запчасти Mercury Запчасти Suzuki Запчасти Tohatsu Запчасти Honda Контакты



УВАЖАЕМЫЕ КЛИЕНТЫ!
C 19 ДЕКАБРЯ 2025 ПО 02 МАРТА 2026 ГОДА ОТДЕЛ ЗАПЧАСТЕЙ И СЕРВИС РАБОТАТЬ НЕ БУДУТ
ПРОДАЖА ЛОДОЧНЫХ МОТОРОВ В ШТАТНОМ РЕЖИМЕ
ОБ ИЗМЕНЕНИЯХ В ГРАФИКЕ РАБОТЫ ЧИТАЙТЕ НА САЙТА



назад Раздел:   вперёд

Вернуться к выбору узлов мотора


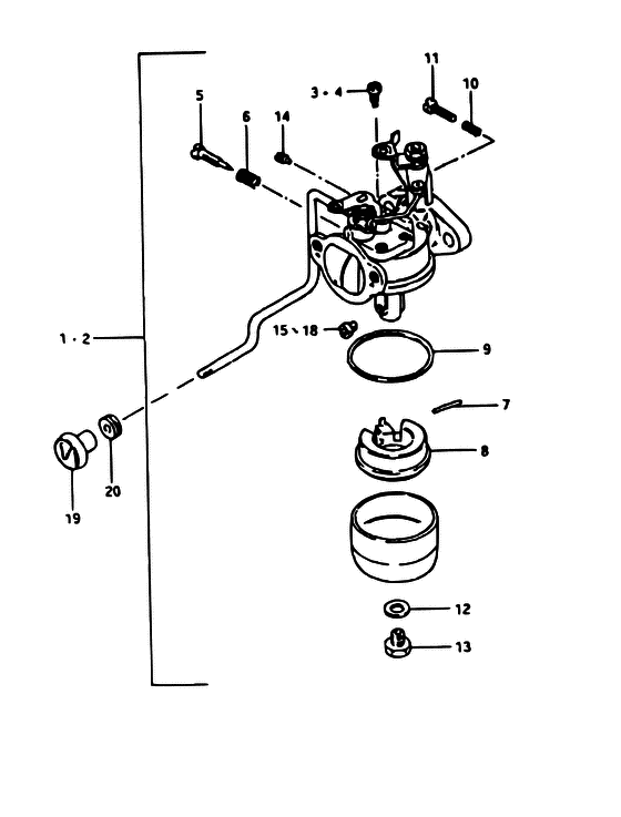
ДЕТАЛИРОВКА ДЛЯ МОДЕЛИ: SUZUKI DT9.9P VZ

Карбюратор


Год выпуска двигателя: 1982

Номер на
рисунке
АртикулНаименованиеQTYКол-во
на складе
Цена
113200-93522-000

Запчасть снята с производства - The Spare Part Is Laid Off (STAMP:93522, MODEL VZ) (The Spare Part Is Laid Off)

под заказ0 руб.
213200-93501-000

Запчасть снята с производства - The Spare Part Is Laid Off (STAMP:93501, MODEL G, J) (The Spare Part Is Laid Off)

под заказ0 руб.
213200-93502-000

   (актуальный код замены) Запчасть снята с производства - The Spare Part Is Laid Off

под заказ0 руб.
213200-93502-000

Запчасть снята с производства - The Spare Part Is Laid Off (STAMP:93502, MODEL VZ) (The Spare Part Is Laid Off)

под заказ0 руб.
309492-55008-000

Контрольная форсунка (55) - Jet, Pilot (55) (DT9.9) (Jet, Pilot (55))

под заказ960 руб.
309492-55009-000

   (актуальный код замены) Контрольная форсунка (55) - Jet, Pilot (55)

под заказ960 руб.
309492-55009-000

Контрольная форсунка (55) - Jet, Pilot (55) (Jet, pilot (#55) ) (Jet, Pilot (55))

под заказ960 руб.
409492-57003-000

Контрольная форсунка (57.5) - Jet, Pilot (575) (Jet, pilot (#57.5) # DT16 ) (Jet, Pilot (57.5))

7 шт960 руб.
513269-98100-000

Винт контроля воздуха - Screw, Pilot Air (Screw, pilot ) (Screw, Pilot Air)

под заказ620 руб.
613268-93520-000

Пружина, Дроссель Винт - Spring, Throttle Screw (MODEL VZ) (Spring, Throttle Screw)

под заказ350 руб.
613268-96111-000

   (актуальный код замены) Пружина, Дроссель Винт - Spring, Throttle Screw

под заказ350 руб.
613268-96111-000

Пружина, Дроссель Винт - Spring, Throttle Screw (Spring, throttle screw ) (Spring, Throttle Screw)

под заказ350 руб.
613268-96111-000

Пружина, Дроссель Винт - Spring, Throttle Screw (Spring, throttle screw # MODEL G, J ) (Spring, Throttle Screw)

под заказ350 руб.
713254-98100-000

Стопор поплавка - Pin, Float (Pin, float ) (Pin, Float)

под заказ280 руб.
813250-98100-000

Поплавок - Float (MODEL G, J, TO 13250-98110) (Float)

под заказ1800 руб.
813250-98110-000

   (актуальный код замены) Поплавок - Float

под заказ1800 руб.
813250-98110-000

Поплавок - Float (Float)

под заказ1800 руб.
813250-98110-000

Поплавок - Float (MODEL VZ ) (Float)

под заказ1800 руб.
913251-98100-000

Прокладка поплавковой камеры - Gasket, Float Cahmber (Gasket, float chamber ) (Gasket, Float Cahmber)

16 шт480 руб.
1013268-96110-000

Пружина, Дроссель Винт - Spring, Throttle Screw (Spring, Throttle Screw)

под заказ350 руб.
1013268-96111-000

   (актуальный код замены) Пружина, Дроссель Винт - Spring, Throttle Screw

под заказ350 руб.
1013268-96111-000

Пружина, Дроссель Винт - Spring, Throttle Screw (Spring, throttle screw ) (Spring, Throttle Screw)

под заказ350 руб.
1113267-98100-000

Винт - Screw (Screw)

под заказ320 руб.
1113267-93900-000

   (актуальный код замены) Винт - Screw

под заказ320 руб.
1113267-93900-000

Винт - Screw (Screw, throttle ) (Screw)

под заказ320 руб.
1213343-98100-000

Прокладка - Gasket (Gasket ) (Gasket)

под заказ220 руб.
1313613-98100-000

Болт - Bolt (Bolt ) (Bolt)

под заказ410 руб.
1409493-24007-000

Воздушная форсунка (1.2) - Jet, Air (12) (Jet, air (1.2) ) (Jet, Air (1.2))

под заказ1150 руб.
1509491-92003-000

Запчасть снята с производства - The Spare Part Is Laid Off (DT9.9) (The Spare Part Is Laid Off)

под заказ0 руб.
1609491-23015-000

Главная форсунка, 117.5 - Jet, Main, 1175 (Jet, main (117.5) # DT16 ) (Jet, Main, 117.5)

под заказ1220 руб.
1709491-82005-000

Главная форсунка - Jet, Main (DT9.9, OPT) (Jet, Main)

под заказ0 руб.
1709491-82003-000

   (актуальный код замены) Запчасть снята с производства - The Spare Part Is Laid Off

под заказ0 руб.
1709491-82003-000

Главная форсунка - Jet, Main (Jet, main (#82.5) ) (Jet, Main)

под заказ0 руб.
1709491-87002-000

Главная форсунка (87.5) - Jet, Main (875) (DT9.9, OPT) (Jet, Main (87.5))

под заказ890 руб.
1709491-87004-000

   (актуальный код замены) Главная форсунка (87.5) - Jet, Main (87.5)

под заказ890 руб.
1709491-87004-000

Главная форсунка (87.5) - Jet, Main (875) (Jet, main (#87.5) ) (Jet, Main (87.5))

под заказ890 руб.
1709491-97002-000

Главная форсунка (97.5) - Jet, Main (975) (DT9.9, OPT) (Jet, Main (97.5))

под заказ1630 руб.
1709491-97004-000

   (актуальный код замены) Главная форсунка (97.5) - Jet, Main (97.5)

под заказ1630 руб.
1709491-97004-000

Главная форсунка (97.5) - Jet, Main (975) (Jet, main (#97.5) ) (Jet, Main (97.5))

под заказ1630 руб.
1809491-21011-000

Главная форсунка (107.5) - Jet, Main (1075) (DT16, OPT) (Jet, Main (107.5))

под заказ0 руб.
1809491-21020-000

   (актуальный код замены) Sвышеply Moved From Suzuki To Overseas Factory - Supply Moved From Suzuki To Overseas Factory

под заказ0 руб.
1809491-21019-000

Главная форсунка (107.5) - Jet, Main (1075) (Jet, main (#107.5) ) (Jet, Main (107.5))

под заказ1040 руб.
1809491-22011-000

Главная форсунка (112.5) - Jet, Main (1125) (Jet, main 112.5 # DT16, OPT ) (Jet, Main (112.5))

под заказ680 руб.
1809491-24015-000

Главная форсунка (122.5) - Jet, Main (1225) (DT16, OPT) (Jet, Main (122.5))

под заказ1460 руб.
1809491-24023-000

   (актуальный код замены) Главная форсунка (122.5) - Jet, Main (122.5)

под заказ1460 руб.
1809491-24023-000

Главная форсунка (122.5) - Jet, Main (1225) (Jet, Main (122.5))

под заказ1460 руб.
1913631-93500-000

Рукоятка стартера - Knob, Starter (Knob, Starter)

под заказ460 руб.
1913631-93501-000

   (актуальный код замены) Рукоятка стартера - Knob, Starter

2 шт460 руб.
1913631-93501-000

Рукоятка стартера - Knob, Starter (Knob, Starter)

2 шт460 руб.
2009305-04003-000

Втулка - Bush (Bush)

под заказ160 руб.
2009320-04013-000

   (актуальный код замены) Подушка, Muf Cov - Cushion, Muf Cov

под заказ160 руб.
2009320-04009-000

Втулка - Bush (Bush)

под заказ160 руб.
2009320-04013-000

   (актуальный код замены) Подушка, Muf Cov - Cushion, Muf Cov

под заказ160 руб.


Время выполнения запроса 5.2273578643799 сек.

 
 

данный сайт носит информационный характер и не является публичной офертой

склад запчастей для водомоторной техники