Оригинальные запчасти на подвесной двигатель SUZUKI - Carburetor
вконтакте

Контактный телефон: +7 (981) 121-46-93, +7 (800) 200-90-76 , Email: parts-katalog@yandex.ru, где купить

 
 

  Логин:

Пароль:

Регистрация

www.partskatalog.ru Все каталоги Запчасти Mercury Запчасти Suzuki Запчасти Tohatsu Запчасти Honda Контакты

назад Раздел:   вперёд

Вернуться к выбору узлов мотора


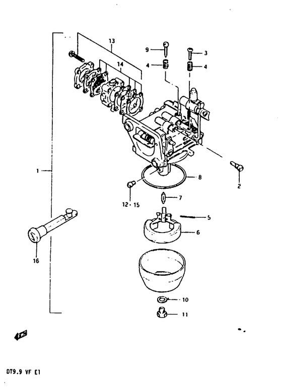
ДЕТАЛИРОВКА ДЛЯ МОДЕЛИ: SUZUKI DT9.9KVG(D/E/F) G

Карбюратор


Год выпуска двигателя: 1986

Номер на
рисунке
АртикулНаименованиеQTYКол-во
на складе
Цена
113200-93910-000

Запчасть снята с производства - The Spare Part Is Laid Off (~412879, to 13200-93912) (The Spare Part Is Laid Off)

под заказ0 руб.
113200-939A1-000

   (актуальный код замены) Запчасть снята с производства - The Spare Part Is Laid Off

под заказ0 руб.
113200-93912-000

Запчасть снята с производства - The Spare Part Is Laid Off (512880~) (The Spare Part Is Laid Off)

под заказ0 руб.
113200-939A1-000

   (актуальный код замены) Запчасть снята с производства - The Spare Part Is Laid Off

под заказ0 руб.
209492-52002-000

Контрольная форсунка (52.5) - Jet, Pilot (525) (Jet, Pilot (52.5))

под заказ0 руб.
209492-52012-000

   (актуальный код замены) Запчасть снята с производства - The Spare Part Is Laid Off

под заказ0 руб.
209492-52012-000

Контрольная форсунка (52.5) - Jet, Pilot (525) (Jet, pilot (52.5) ) (Jet, Pilot (52.5))

под заказ0 руб.
313661-93900-000

Винт - Screw (Screw)

под заказ620 руб.
413268-96110-000

Пружина, Дроссель Винт - Spring, Throttle Screw (Spring, throttle;) (Spring, Throttle Screw)

под заказ350 руб.
413268-96111-000

   (актуальный код замены) Пружина, Дроссель Винт - Spring, Throttle Screw

под заказ350 руб.
413268-96111-000

Пружина, Дроссель Винт - Spring, Throttle Screw (Spring, throttle screw ) (Spring, Throttle Screw)

под заказ350 руб.
513254-98100-000

Стопор поплавка - Pin, Float (Pin, float ) (Pin, Float)

под заказ280 руб.
613250-98110-000

Поплавок - Float (Float)

под заказ1800 руб.
713371-98100-000

иголка в сборе - Needle Assy (Needle Assy)

2 шт2300 руб.
813251-98100-000

Прокладка поплавковой камеры - Gasket, Float Cahmber (Gasket, float chamber ) (Gasket, Float Cahmber)

16 шт480 руб.
913267-93900-000

Винт - Screw (Screw, throttle # Screw, throttle stop; ) (Screw)

под заказ320 руб.
1013343-98100-000

Прокладка - Gasket (Gasket ) (Gasket)

под заказ220 руб.
1113613-98100-000

Болт - Bolt (Bolt ) (Bolt)

под заказ410 руб.
1209491-22011-000

Главная форсунка (112.5) - Jet, Main (1125) (Jet, main 112.5 # Jet, main, 112.5; ) (Jet, Main (112.5))

под заказ680 руб.
1315100-93900-000

Помпа Set, Fuel - Pump Set, Fuel (Pump Set, Fuel)

под заказ7880 руб.
1315100-93912-000

   (актуальный код замены) Помпа Set, Fuel - Pump Set, Fuel

под заказ7880 руб.
13SC-GS009

   (не оригинальный аналог) Ремкомплект топливного насоса Suzuki SC-GS009

2 шт950 руб.
1315100-93911-000

Помпа Set, Fuel - Pump Set, Fuel (Pump assy, set ) (Pump Set, Fuel)

под заказ7880 руб.
1315100-93912-000

   (актуальный код замены) Помпа Set, Fuel - Pump Set, Fuel

под заказ7880 руб.
13SC-GS009

   (не оригинальный аналог) Ремкомплект топливного насоса Suzuki SC-GS009

2 шт950 руб.
1415170-93900-000

Диафрагма Set, Топливный насос - Diaphragm Set, Fuel Pump (Diaphragm Set, Fuel Pump)

под заказ2810 руб.
1415170-93911-000

   (актуальный код замены) Диафрагма Set, Топливный насос - Diaphragm Set, Fuel Pump

4 шт3060 руб.
14SC-GS009

   (не оригинальный аналог) Ремкомплект топливного насоса Suzuki SC-GS009

2 шт950 руб.
1415170-93911-000

Диафрагма Set, Топливный насос - Diaphragm Set, Fuel Pump (Diaphragm set ) (Diaphragm Set, Fuel Pump)

4 шт3060 руб.
14SK15170-93911

   (не оригинальный аналог) Диафрагма топливного насоса в сборе Skipper для Suzuki DT9.9-15, DT9.9A-15A

0 шт486 руб.
1509491-23013-000

Главная форсунка - Jet, Main (Opt) (Jet, Main)

под заказ890 руб.
1509491-23019-000

   (актуальный код замены) Главная форсунка - Jet, Main

под заказ890 руб.
1509491-23019-000

Главная форсунка - Jet, Main (Jet, main (117.5) ) (Jet, Main)

под заказ890 руб.
1509491-21011-000

Главная форсунка (107.5) - Jet, Main (1075) (Opt) (Jet, Main (107.5))

под заказ0 руб.
1509491-21020-000

   (актуальный код замены) Sвышеply Moved From Suzuki To Overseas Factory - Supply Moved From Suzuki To Overseas Factory

под заказ0 руб.
1509491-21019-000

Главная форсунка (107.5) - Jet, Main (1075) (Jet, main (#107.5) ) (Jet, Main (107.5))

под заказ1040 руб.
1509491-20011-000

Главная форсунка (102.5) - Jet, Main (1025) (Jet, main, 102.5; Opt) (Jet, Main (102.5))

под заказ1110 руб.
1509491-20025-000

   (актуальный код замены) Главная форсунка (102.5) - Jet, Main (102.5)

под заказ1110 руб.
1509491-20025-000

Главная форсунка (102.5) - Jet, Main (1025) (Jet, main (#102.5) ) (Jet, Main (102.5))

под заказ1110 руб.
1613631-93900-000

Рычаг регулировки дросселя - Knob, Choke Lever (Knob, Choke Lever)

под заказ570 руб.
1613631-93910-000

   (актуальный код замены) Рычаг регулировки дросселя - Knob, Choke Lever

2 шт720 руб.
1613631-93910-000

Рычаг регулировки дросселя - Knob, Choke Lever (Knob, choke lever ) (Knob, Choke Lever)

2 шт720 руб.


Время выполнения запроса 1.5814530849457 сек.

 
 

данный сайт носит информационный характер и не является публичной офертой

склад запчастей для водомоторной техники