Найти запчасти на лодочный мотор Suzuki модель 1988 года - Carburetor / Карбюратор
вконтакте

Контактный телефон: +7 (981) 121-46-93, +7 (800) 200-90-76 , Email: parts-katalog@yandex.ru, где купить

 
 

  Логин:

Пароль:

Регистрация

www.partskatalog.ru Все каталоги Запчасти Mercury Запчасти Suzuki Запчасти Tohatsu Запчасти Honda Контакты



УВАЖАЕМЫЕ КЛИЕНТЫ!
C 19 ДЕКАБРЯ 2025 ПО 02 МАРТА 2026 ГОДА ОТДЕЛ ЗАПЧАСТЕЙ И СЕРВИС РАБОТАТЬ НЕ БУДУТ
ПРОДАЖА ЛОДОЧНЫХ МОТОРОВ В ШТАТНОМ РЕЖИМЕ
ОБ ИЗМЕНЕНИЯХ В ГРАФИКЕ РАБОТЫ ЧИТАЙТЕ НА САЙТА



назад Раздел:   вперёд

Вернуться к выбору узлов мотора


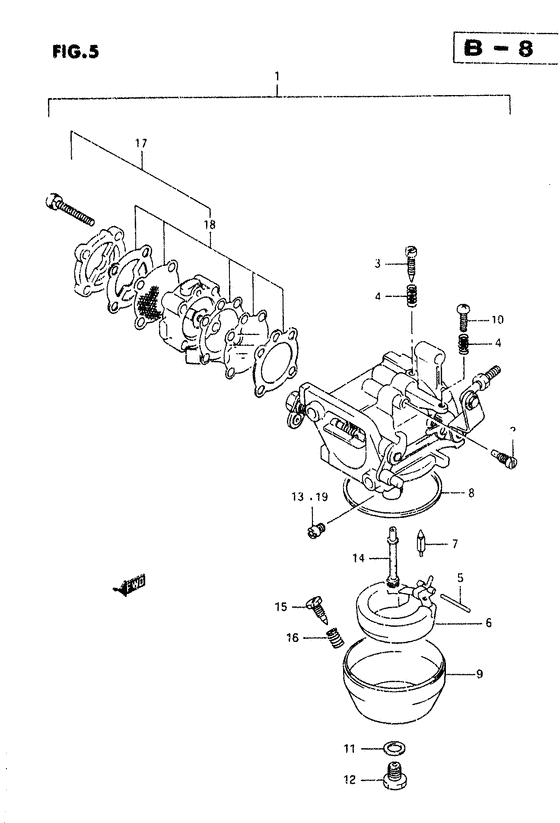
ДЕТАЛИРОВКА ДЛЯ МОДЕЛИ: SUZUKI DT9.9CEVJ(88-97) J

Карбюратор


Год выпуска двигателя: 1988

Номер на
рисунке
АртикулНаименованиеQTYКол-во
на складе
Цена
113200-92D42-000

Запчасть снята с производства - The Spare Part Is Laid Off (The Spare Part Is Laid Off)

под заказ0 руб.
113200-92D60-000

Запчасть снята с производства - The Spare Part Is Laid Off (Type:sail) (The Spare Part Is Laid Off)

под заказ0 руб.
209492-60011-000

Контрольная форсунка (60) - Jet, Pilot (60) (Jet, pilot (60) # Jet, pilot (#60); For 13200-92d10 ) (Jet, Pilot (60))

под заказ1260 руб.
209492-57003-000

Контрольная форсунка (57.5) - Jet, Pilot (575) (Jet, pilot (#57.5) # Jet, pilot (#57.5); For 13200-92d11 13200-92d12 ) (Jet, Pilot (57.5))

7 шт960 руб.
209492-70001-000

Контрольная форсунка (70) - Jet, Pilot (70) (Jet, pilot (70) # Jet, pilot (#70); For 13200-92d42 13200-92d60 ) (Jet, Pilot (70))

1 шт630 руб.
313661-93900-000

Винт - Screw (Model:88 ) (Screw)

под заказ620 руб.
313279-90000-000

Регулятор - Adjuster (Screw, pilot; Model:89~97 ) (Adjuster)

под заказ600 руб.
413268-96110-000

Пружина, Дроссель Винт - Spring, Throttle Screw (Spring, throttle; Model:88~90) (Spring, Throttle Screw)

под заказ350 руб.
413268-96111-000

   (актуальный код замены) Пружина, Дроссель Винт - Spring, Throttle Screw

под заказ350 руб.
413268-96111-000

Пружина, Дроссель Винт - Spring, Throttle Screw (Spring, throttle screw ) (Spring, Throttle Screw)

под заказ350 руб.
413268-96111-000

Пружина, Дроссель Винт - Spring, Throttle Screw (Spring, throttle screw # Spring, throttle; Model:91~97 ) (Spring, Throttle Screw)

под заказ350 руб.
513254-98100-000

Стопор поплавка - Pin, Float (Pin, float ) (Pin, Float)

под заказ280 руб.
613250-98110-000

Поплавок - Float (Float)

под заказ1800 руб.
713371-98100-000

иголка в сборе - Needle Assy (Needle Assy)

2 шт2300 руб.
813251-98100-000

Прокладка поплавковой камеры - Gasket, Float Cahmber (Gasket, float chamber ) (Gasket, Float Cahmber)

16 шт480 руб.
913245-98110-000

Поплавок, Chamber - Float, Chamber (Chamber, float ) (Float, Chamber)

под заказ5000 руб.
1013267-93900-000

Винт - Screw (Screw, throttle # Screw, throttle stop; ) (Screw)

под заказ320 руб.
1113343-98100-000

Прокладка - Gasket (Gasket ) (Gasket)

под заказ220 руб.
1213613-98100-000

Болт - Bolt (Bolt ) (Bolt)

под заказ410 руб.
1309491-26009-000

Главная форсунка (130) - Jet, Main (130) (Jet, main (#130); For 13200-92d10 model:88) (Jet, Main (130))

под заказ1220 руб.
1309491-26016-000

   (актуальный код замены) Главная форсунка (130) - Jet, Main (130)

5 шт1220 руб.
1309491-26016-000

Главная форсунка (130) - Jet, Main (130) (Jet, main (#130) ) (Jet, Main (130))

5 шт1220 руб.
1309491-27014-000

Главная форсунка (137.5) - Jet, Main (1375) (Main jet (137.5) # Jet, main (#137.5); Model:89~96 ) (Jet, Main (137.5))

под заказ890 руб.
1413235-92D00-000

Главная форсунка - Nozzle, Main (~model:92) (Nozzle, Main)

под заказ2160 руб.
1413235-91D00-000

   (актуальный код замены) Главная форсунка - Nozzle, Main

5 шт2560 руб.
1413235-91D00-000

Главная форсунка - Nozzle, Main (Nozzle, Main)

5 шт2560 руб.
1413235-91D00-000

Главная форсунка - Nozzle, Main (Model:93~97 ) (Nozzle, Main)

5 шт2560 руб.
1513616-93900-000

Регулятор - Adjuster (Adjuster)

под заказ1180 руб.
1613268-96111-000

Пружина, Дроссель Винт - Spring, Throttle Screw (Spring, throttle screw ) (Spring, Throttle Screw)

под заказ350 руб.
1715100-92D11-000

Топливный насос, в сборе - Pump Assy, Fuel (Pump set ) (Pump Assy, Fuel)

1 шт0 руб.
1715100-92D12-000

   (актуальный код замены) Запчасть снята с производства - The Spare Part Is Laid Off

под заказ0 руб.
1715100-92D20-000

Запчасть снята с производства - The Spare Part Is Laid Off (Type:sail, model:93~97) (The Spare Part Is Laid Off)

под заказ0 руб.
1815170-93911-000

Диафрагма Set, Топливный насос - Diaphragm Set, Fuel Pump (Diaphragm set ) (Diaphragm Set, Fuel Pump)

4 шт3060 руб.
18SK15170-93911

   (не оригинальный аналог) Диафрагма топливного насоса в сборе Skipper для Suzuki DT9.9-15, DT9.9A-15A

0 шт486 руб.
18SC-GS009

   (не оригинальный аналог) Ремкомплект топливного насоса Suzuki SC-GS009

2 шт950 руб.
1909491-27008-000

Главная форсунка (135) - Jet, Main (135) (Main jet (135) # Jet, main (#135); Opt ) (Jet, Main (135))

под заказ970 руб.
1909491-25014-000

Главная форсунка (125) - Jet, Main (125) (Jet, main 125 # Jet, main (#125); Opt ) (Jet, Main (125))

2 шт1110 руб.
1909491-24012-000

Главная форсунка (120) - Jet, Main (120) (Opt) (Jet, Main (120))

под заказ1460 руб.
1909491-24026-000

   (актуальный код замены) Главная форсунка (120) - Jet, Main (120)

под заказ1460 руб.
1909491-24026-000

Главная форсунка (120) - Jet, Main (120) (Jet, Main (120))

под заказ1460 руб.


Время выполнения запроса 1.6103370189667 сек.

 
 

данный сайт носит информационный характер и не является публичной офертой

склад запчастей для водомоторной техники