Комплектующие на лодочный мотор Suzuki - Cylinder
вконтакте

Контактный телефон: +7 (981) 121-46-93, +7 (800) 200-90-76 , Email: parts-katalog@yandex.ru, где купить

 
 

  Логин:

Пароль:

Регистрация

www.partskatalog.ru Все каталоги Запчасти Mercury Запчасти Suzuki Запчасти Tohatsu Запчасти Honda Контакты

назад Раздел:   вперёд

Вернуться к выбору узлов мотора


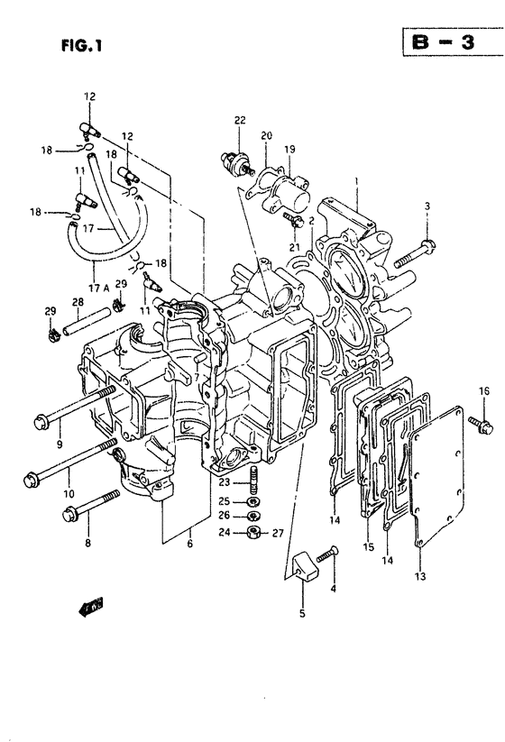
ДЕТАЛИРОВКА ДЛЯ МОДЕЛИ: SUZUKI DT9.9CNVP(88-97) P

Цилиндр


Год выпуска двигателя: 1993

Регион: General Export No.1 ,Код региона: P01

Цвет: California Gray Metallic

Номер на
рисунке
АртикулНаименованиеQTYКол-во
на складе
Цена
111110-92D00-0ED

Головка цилиндра (gray) - Head, Cylinder (gray) (Cylinder head ) (Head, Cylinder (gray))

под заказ0 руб.
211141-92D20-000

Прокладка головки блока цилиндра - Gasket, Cylinder Head (Gasket, cylinder head ) (Gasket, Cylinder Head)

3 шт3200 руб.
301560-08357-000

Болт - Bolt (Bolt)

7 шт260 руб.
409126-06005-000

Винт (6x30) - Screw (6x30) (Screw (6x30))

под заказ160 руб.
511281-94400-000

Защитный анод - Protection, Anode (Protection, anode # Protection, anode; ) (Protection, Anode)

под заказ390 руб.
611301-92D14-0ED

Запчасть снята с производства - The Spare Part Is Laid Off (Model:88~94) (The Spare Part Is Laid Off)

под заказ0 руб.
611301-92D18-0ED

   (актуальный код замены) Запчасть снята с производства - The Spare Part Is Laid Off

под заказ0 руб.
611301-92D17-0ED

(Dt8c:461527~ dt9.9c:461782~)

под заказнет сведений
617685-92D11-000

Прокладка крышки термостата - Gasket, Thermostat Cover (Gasket, Thermostat Cover)

под заказ390 руб.
611301-92D20-0ED

Запчасть снята с производства - The Spare Part Is Laid Off (Model:93, 94, type:sail) (The Spare Part Is Laid Off)

под заказ0 руб.
611301-92D24-0ED

   (актуальный код замены) Запчасть снята с производства - The Spare Part Is Laid Off

под заказ0 руб.
611301-92D23-0ED

(Dt9.9cn:461782~ type:sail)

под заказнет сведений
617685-92D11-000

Прокладка крышки термостата - Gasket, Thermostat Cover (Gasket, Thermostat Cover)

под заказ390 руб.
704221-06129-000

Штифт - Pin (Pin)

под заказ130 руб.
801550-08507-000

Болт - Bolt (Bolt)

под заказ260 руб.
901550-08857-000

Болт - Bolt (Bolt)

9 шт290 руб.
1009103-08258-000

Запчасть снята с производства - The Spare Part Is Laid Off (Bolt (8x95);) (The Spare Part Is Laid Off)

под заказ0 руб.
1116710-98600-000

Контрольный клапан - Valve, Check (Valve, Check)

под заказ2330 руб.
1116710-95D10-000

   (актуальный код замены) Контрольный клапан - Valve, Check

под заказ2330 руб.
1116710-95D10-000

Контрольный клапан - Valve, Check (Valve, Check)

под заказ2330 руб.
1116710-95D10-000

Контрольный клапан - Valve, Check (Model:97 ) (Valve, Check)

под заказ2330 руб.
1216721-92D10-000

Запчасть снята с производства - The Spare Part Is Laid Off (Model:88) (The Spare Part Is Laid Off)

под заказ0 руб.
1216721-89E00-000

Nozzle, Oil - Nozzle, Oil (Model:89 ) (Nozzle, Oil)

под заказ0 руб.
1216725-89E02-000

Запчасть снята с производства - The Spare Part Is Laid Off (Nozzle, oil; Model:90~97) (The Spare Part Is Laid Off)

под заказ0 руб.
1314141-92D01-0ED

Запчасть снята с производства - The Spare Part Is Laid Off (The Spare Part Is Laid Off)

под заказ0 руб.
1414151-92D10-000

Прокладка кожуха выхлопной трубы - Gasket, Exhaust Cover (Gasket, exhaust cover ) (Gasket, Exhaust Cover)

7 шт0 руб.
1514131-92D00-000

Пластина, Выхлоп - Plate, Exhaust (Plate, exhaust cover ) (Plate, Exhaust)

под заказ3240 руб.
1602162-06257-000

Винт - Screw (Bolt ) (Screw)

7 шт150 руб.
1709355-25705-600

Шланг (2.5x7x600) - Hose (25x7x600) (Hose, out no.4 (2.5x7x300) # Hose, lubrication; L:600->150 ) (Hose (2.5x7x600))

под заказ680 руб.
1709355-25001-600

   (актуальный код замены) Шланг - Hose

под заказ680 руб.
1809401-06101-000

Зажим - Clip (Clip)

под заказ160 руб.
1917681-92D00-0ED

Крышка термостата - Cover, Thermostat (Cover, thermostat ) (Cover, Thermostat)

под заказ0 руб.
2017685-92D10-000

Прокладка крышки термостата - Gasket, Thermostat Cover (Gasket, thermostat cover ) (Gasket, Thermostat Cover)

под заказ0 руб.
2102162-06257-000

Винт - Screw (Bolt ) (Screw)

7 шт150 руб.
2217670-92D10-000

Термостат - Thermostat (Thermostat)

под заказ6000 руб.
2217670-92D11-000

   (актуальный код замены) Термостат - Thermostat

1 шт6000 руб.
2309108-08219-000

Болт под шпильку - Bolt, Stud (Stud bolt (8x25); ) (Bolt, Stud)

под заказ650 руб.
2409140-08016-000

Гайка - Nut (~model:94) (Nut)

под заказ190 руб.
2409140-08023-XC0

Гайка - Nut (Nut)

14 шт190 руб.
2509160-08082-000

Шайба (8.5x16x1.2) - Washer (85x16x12) (~model:94 ) (Washer (8.5x16x1.2))

13 шт120 руб.
2609162-08007-000

Шайба с блокировкой - Washer, Lock (Lock washer # ~model:94 ) (Washer, Lock)

под заказ160 руб.
2709159-08104-000

Гайка - Nut (Model:95~97 ) (Nut)

под заказ440 руб.
2809354-53103-600

Шланг (5.3x10.5x600) - Hose (53x105x600) (Hose (conn to filter) # Hose, pulse pick up; Type:sail l:600->75 ) (Hose (5.3x10.5x600))

под заказ1160 руб.
2809355-53001-600

   (актуальный код замены) Шланг (5.3x10.5x600) - Hose (5.3x10.5x600)

под заказ1160 руб.
2909401-10411-000

Зажим - Clip (Clip, cap # Type:sail ) (Clip)

под заказ170 руб.


Время выполнения запроса 0.91099691390991 сек.

 
 

данный сайт носит информационный характер и не является публичной офертой

склад запчастей для водомоторной техники