| |
 |
|
 |
Вернуться к выбору узлов мотора
ДЕТАЛИРОВКА ДЛЯ МОДЕЛИ: SUZUKI DT9.9C VP/DT9.9CE VP
Сцепление
Год выпуска двигателя: 1993
Цвет: California Gray Metallic
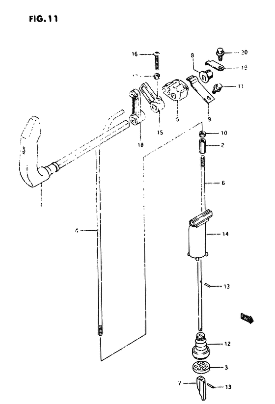
Номер на рисунке | Артикул | Наименование | QTY | Кол-во на складе | Цена |
| 1 | 21110-93912-000 | Рычаг сцепления - Lever, Clutch (Lever, Clutch) | | под заказ | 2260 руб. |
| 1 | 21110-90L01-000 | (актуальный код замены) Рычаг сцепления - Lever, Clutch | | 4 шт | 2560 руб. |
| 1 | 21110-90L01-000 | Рычаг сцепления - Lever, Clutch (Lever, Clutch) | | 4 шт | 2560 руб. |
| 1 | 21110-90L01-000 | Рычаг сцепления - Lever, Clutch (Lever, Clutch) | | 4 шт | 2560 руб. |
| 2 | 23311-94300-000 | Buckle, Тяга сцепления Turn - Buckle, Clutch Rod Turn (Buckle, Clutch Rod Turn) | | 10 шт | 900 руб. |
| 3 | 25211-92D00-000 | Запчасть снята с производства - The Spare Part Is Laid Off (The Spare Part Is Laid Off) | | под заказ | 0 руб. |
| 4 | 23111-92D00-000 | Запчасть снята с производства - The Spare Part Is Laid Off (The Spare Part Is Laid Off) | | под заказ | 0 руб. |
| 5 | 23211-93900-000 | Рукоятка тяги сцепления - Arm, Clutch Rod (Arm, Clutch Rod) | | под заказ | 620 руб. |
| 6 | 25111-92D00-000 | Переключающая тяга (l) - Rod, Shift (l) (L:336 ) (Rod, Shift (l)) | | под заказ | 0 руб. |
| 6 | 25111-92D10-000 | Переключающая тяга (s) - Rod, Shift (s) (L:222 ) (Rod, Shift (s)) | | под заказ | 0 руб. |
| 6 | 25111-92D20-000 | Переключающая тяга (ul) - Rod, Shift (ul) (L:463, TYPE:SAIL ) (Rod, Shift (ul)) | | под заказ | 0 руб. |
| 7 | 25311-93910-000 | Кулачок переключателя - Cam, Shift (<-25311-93900 ) (Cam, Shift) | | под заказ | 3000 руб. |
| 8 | 21220-93900-000 | Втулка рычага сцепления - Bush, Clutch Lever (Bush, Clutch Lever) | | под заказ | 370 руб. |
| 8 | 21221-95L00-000 | (актуальный код замены) Втулка рычага сцепления - Bush, Clutch Lever | | под заказ | 370 руб. |
| 8 | 21221-95L00-000 | Втулка рычага сцепления - Bush, Clutch Lever (Bush, Clutch Lever) | | под заказ | 370 руб. |
| 9 | 23213-93900-000 | Пружина пластины с пазом - Spring, Notch Plate (Spring, notch plate ) (Spring, Notch Plate) | | под заказ | 280 руб. |
| 10 | 09140-06020-000 | Гайка - Nut (Nut) | | 9 шт | 150 руб. |
| 11 | 09103-06120-000 | Болт (6x25) - Bolt (6x25) (Bolt (6x12) ) (Bolt (6x25)) | | под заказ | 160 руб. |
| 12 | 25222-92D00-000 | Башмак переключающей тяги - Boot, Shift Rod (Boot, Shift Rod) | | под заказ | 0 руб. |
| 13 | 09205-02006-000 | Стопор пружины (2x12) - Pin, Spring (2x12) (Pin, spring ) (Pin, Spring (2x12)) | | 8 шт | 140 руб. |
| 14 | 25205-92D00-000 | Запчасть снята с производства - The Spare Part Is Laid Off (The Spare Part Is Laid Off) | | под заказ | 0 руб. |
| 15 | 21313-93900-000 | Рычаг электрики NSI - Arm, Electric Nsi (Arm, electrical ns1 ) (Arm, Electric Nsi) | | под заказ | 460 руб. |
| 16 | 02112-05167-000 | Винт - Screw (Screw) | | под заказ | 150 руб. |
| 17 | 08310-00057-000 | Гайка - Nut (Nut) | | под заказ | 140 руб. |
| 18 | 19851-92D00-000 | Запчасть снята с производства - The Spare Part Is Laid Off (The Spare Part Is Laid Off) | | под заказ | 0 руб. |
| 19 | 21126-92D00-000 | Держатель вала сцепления - Holder, Clutch Shaft (Holder, clutch shaft ) (Holder, Clutch Shaft) | | под заказ | 260 руб. |
| 19 | 21126-95L10-000 | (актуальный код замены) Держатель вала сцепления - Holder, Clutch Shaft | | под заказ | 260 руб. |
| 20 | 09103-06120-000 | Болт (6x25) - Bolt (6x25) (Bolt (6x12) ) (Bolt (6x25)) | | под заказ | 160 руб. |
Время выполнения запроса 0.78034806251526 сек. |
|