| |
 |
|
 |
Вернуться к выбору узлов мотора
ДЕТАЛИРОВКА ДЛЯ МОДЕЛИ: SUZUKI DT9.9C VS/DT9.9CE VS
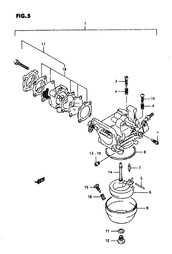
Карбюратор
Год выпуска двигателя: 1995
Цвет: California Gray Metallic
Номер на рисунке | Артикул | Наименование | QTY | Кол-во на складе | Цена |
| 1 | 13200-92D42-000 | (<-13200-92D12) | | под заказ | 0 руб. |
| 1 | 13200-92D60-000 | (TYPE:SAIL) | | под заказ | 0 руб. |
| 2 | 09492-57003-000 | Контрольная форсунка (57.5) - Jet, Pilot (575) (Jet, pilot (#57.5) # FOR 13200-92D11 13200-92D12 ) (Jet, Pilot (57.5)) | | 7 шт | 960 руб. |
| 2 | 09492-60011-000 | Контрольная форсунка (60) - Jet, Pilot (60) (Jet, pilot (60) # FOR 13200-92D10 ) (Jet, Pilot (60)) | | под заказ | 1260 руб. |
| 2 | 09492-70001-000 | Контрольная форсунка (70) - Jet, Pilot (70) (Jet, pilot (70) # FOR 13200-92D42 13200-92D60 ) (Jet, Pilot (70)) | | 1 шт | 630 руб. |
| 3 | 13279-90000-000 | Регулятор - Adjuster (MODEL:89~97 ) (Adjuster) | | под заказ | 600 руб. |
| 3 | 13661-93900-000 | Винт - Screw (MODEL:88 ) (Screw) | | под заказ | 620 руб. |
| 4 | 13268-96110-000 | Пружина, Дроссель Винт - Spring, Throttle Screw (MODEL:88~90) (Spring, Throttle Screw) | | под заказ | 350 руб. |
| 4 | 13268-96111-000 | (актуальный код замены) Пружина, Дроссель Винт - Spring, Throttle Screw | | под заказ | 350 руб. |
| 4 | 13268-96111-000 | Пружина, Дроссель Винт - Spring, Throttle Screw (Spring, throttle screw ) (Spring, Throttle Screw) | | под заказ | 350 руб. |
| 4 | 13268-96111-000 | Пружина, Дроссель Винт - Spring, Throttle Screw (Spring, throttle screw # MODEL:91~97 ) (Spring, Throttle Screw) | | под заказ | 350 руб. |
| 5 | 13254-98100-000 | Стопор поплавка - Pin, Float (Pin, float ) (Pin, Float) | | под заказ | 280 руб. |
| 6 | 13250-98110-000 | Поплавок - Float (Float) | | под заказ | 1800 руб. |
| 7 | 13371-98100-000 | иголка в сборе - Needle Assy (Needle Assy) | | 2 шт | 2300 руб. |
| 8 | 13251-98100-000 | Прокладка поплавковой камеры - Gasket, Float Cahmber (Gasket, float chamber ) (Gasket, Float Cahmber) | | 16 шт | 480 руб. |
| 9 | 13245-98110-000 | Поплавок, Chamber - Float, Chamber (Chamber, float ) (Float, Chamber) | | под заказ | 5000 руб. |
| 10 | 13267-93900-000 | Винт - Screw (Screw, throttle ) (Screw) | | под заказ | 320 руб. |
| 11 | 13343-98100-000 | Прокладка - Gasket (Gasket ) (Gasket) | | под заказ | 220 руб. |
| 12 | 13613-98100-000 | Болт - Bolt (Bolt ) (Bolt) | | под заказ | 410 руб. |
| 13 | 09491-26009-000 | Главная форсунка (130) - Jet, Main (130) (FOR 13200-92D10 MODEL:88) (Jet, Main (130)) | | под заказ | 1220 руб. |
| 13 | 09491-26016-000 | (актуальный код замены) Главная форсунка (130) - Jet, Main (130) | | 5 шт | 1220 руб. |
| 13 | 09491-26016-000 | Главная форсунка (130) - Jet, Main (130) (Jet, main (#130) ) (Jet, Main (130)) | | 5 шт | 1220 руб. |
| 13 | 09491-27014-000 | Главная форсунка (137.5) - Jet, Main (1375) (Main jet (137.5) # MODEL:89~96 ) (Jet, Main (137.5)) | | под заказ | 890 руб. |
| 14 | 13235-91D00-000 | Главная форсунка - Nozzle, Main (MODEL:93~97 ) (Nozzle, Main) | | 5 шт | 2560 руб. |
| 14 | 13235-92D00-000 | Главная форсунка - Nozzle, Main (~MODEL:92) (Nozzle, Main) | | под заказ | 2160 руб. |
| 14 | 13235-91D00-000 | (актуальный код замены) Главная форсунка - Nozzle, Main | | 5 шт | 2560 руб. |
| 14 | 13235-91D00-000 | Главная форсунка - Nozzle, Main (Nozzle, Main) | | 5 шт | 2560 руб. |
| 15 | 13616-93900-000 | Регулятор - Adjuster (Adjuster) | | под заказ | 1180 руб. |
| 16 | 13268-96111-000 | Пружина, Дроссель Винт - Spring, Throttle Screw (Spring, throttle screw ) (Spring, Throttle Screw) | | под заказ | 350 руб. |
| 17 | 15100-92D11-000 | Топливный насос, в сборе - Pump Assy, Fuel (Pump set # <-15100-92D10 ) (Pump Assy, Fuel) | | 1 шт | 0 руб. |
| 17 | 15100-92D12-000 | (актуальный код замены) Запчасть снята с производства - The Spare Part Is Laid Off | | под заказ | 0 руб. |
| 17 | 15100-92D20-000 | (TYPE:SAIL MODEL:93~97) | | под заказ | 0 руб. |
| 18 | 15170-93911-000 | Диафрагма Set, Топливный насос - Diaphragm Set, Fuel Pump (Diaphragm set # <-15170-93920 ) (Diaphragm Set, Fuel Pump) | | 4 шт | 3060 руб. |
| 18 | SK15170-93911 | (не оригинальный аналог) Диафрагма топливного насоса в сборе Skipper для Suzuki DT9.9-15, DT9.9A-15A | | 0 шт | 486 руб. |
| 18 | SC-GS009 | (не оригинальный аналог) Ремкомплект топливного насоса Suzuki SC-GS009 | | 2 шт | 950 руб. |
| 19 | 09491-27008-000 | Главная форсунка (135) - Jet, Main (135) (Main jet (135) # OPT ) (Jet, Main (135)) | | под заказ | 970 руб. |
| 19 | 09491-24012-000 | Главная форсунка (120) - Jet, Main (120) (OPT) (Jet, Main (120)) | | под заказ | 1460 руб. |
| 19 | 09491-24026-000 | (актуальный код замены) Главная форсунка (120) - Jet, Main (120) | | под заказ | 1460 руб. |
| 19 | 09491-24026-000 | Главная форсунка (120) - Jet, Main (120) (Jet, Main (120)) | | под заказ | 1460 руб. |
| 19 | 09491-25014-000 | Главная форсунка (125) - Jet, Main (125) (Jet, main 125 # OPT ) (Jet, Main (125)) | | 2 шт | 1110 руб. |
Время выполнения запроса 2.0944888591766 сек. |
|