| |
 |
|
 |
Вернуться к выбору узлов мотора
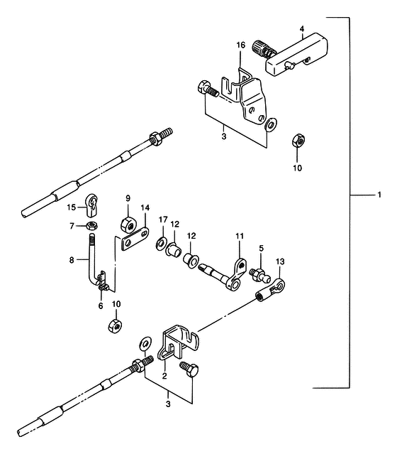
ДЕТАЛИРОВКА ДЛЯ МОДЕЛИ: SUZUKI DT9.9S T
Опции : Запчасти для дистанционного управления
Год выпуска двигателя: 1996
Номер на рисунке | Артикул | Наименование | QTY | Кол-во на складе | Цена |
| 1 | 67130-93810-000 | Комплект для установки дистанционного управления - Parts Set, Remocon (Remote control parts assy # <-7130-93901-01T ) (Parts Set, Remocon) | | под заказ | 0 руб. |
| 2 | 67340-93900-000 | Держатель троссика дистанционного управления (газ) - Holder, Remocon Cable (throttle) (Holder, remo-con cable ) (Holder, Remocon Cable (throttle)) | | 1 шт | 2980 руб. |
| 3 | 09116-06094-000 | Болт (6x15) - Bolt (6x15) (Bolt (6x15)) | | 20 шт | 270 руб. |
| 4 | 67440-93900-000 | Направляющая тросика сцепления - Guide, Clutch Cable (Guide, clutch calbe ) (Guide, Clutch Cable) | | под заказ | 3170 руб. |
| 5 | 09119-06047-000 | Стержень - Pivot (Pivot, ball ) (Pivot) | | 21 шт | 520 руб. |
| 6 | 09209-05017-000 | Штифт - Pin (Connector ) (Pin) | | 10 шт | 200 руб. |
| 7 | 09140-05005-000 | Гайка - Nut (<-9140-05001 ) (Nut) | | 10 шт | 270 руб. |
| 8 | 67413-93900-000 | Тяга, Дистанционное управление Дроссель - Rod, Remote Control Throttle (Rod, remo-con throttle ) (Rod, Remote Control Throttle) | | под заказ | 1260 руб. |
| 9 | 09159-08059-000 | Гайка - Nut (Nut, clutch lever ) (Nut) | | 13 шт | 390 руб. |
| 10 | 09140-06020-000 | Гайка - Nut (Nut) | | 9 шт | 150 руб. |
| 11 | 67410-93501-000 | Рычаг дистанционного управления дросселем - Lever, Remocon Throttle (<-7410-93500-02M <-7410-93500-01T <-7410-93500-0ED) (Lever, Remocon Throttle) | | под заказ | 8790 руб. |
| 11 | 67410-90L00-000 | (актуальный код замены) Рычаг дистанционного управления дросселем - Lever, Remocon Throttle | | под заказ | 8790 руб. |
| 11 | 67410-90L00-000 | Рычаг дистанционного управления дросселем - Lever, Remocon Throttle (Lever, Remocon Throttle) | | под заказ | 8790 руб. |
| 12 | 09306-08003-000 | Втулка - Bush (Bush) | | под заказ | 190 руб. |
| 12 | 09306-08016-000 | (актуальный код замены) Втулка - Bush | | 10 шт | 190 руб. |
| 12 | 09306-08016-000 | Втулка - Bush (Bush) | | 10 шт | 190 руб. |
| 13 | 67466-95200-000 | Коннектор - Connector (Connector, throttle cable ) (Connector) | | 18 шт | 560 руб. |
| 14 | 67417-93900-000 | Рычаг, Remocon Дроссель - Arm, Remocon Throttle (Arm, remo-con throttle ) (Arm, Remocon Throttle) | | под заказ | 960 руб. |
| 15 | 19131-95502-000 | Коннектор - Connector (Connector, oil pump no.2 ) (Connector) | | 21 шт | 530 руб. |
| 16 | 67270-93910-000 | Запчасть снята с производства - The Spare Part Is Laid Off (The Spare Part Is Laid Off) | | под заказ | 0 руб. |
| 17 | 09164-08017-000 | Шайба - Washer (Washer) | | под заказ | 160 руб. |
Время выполнения запроса 0.78824400901794 сек. |
|