Купить оригинальные запчасти на лодочный мотор Suzuki модель 1997 года - Корпус вала передачи
вконтакте

Контактный телефон: +7 (981) 121-46-93, +7 (800) 200-90-76 , Email: parts-katalog@yandex.ru, где купить

 
 

  Логин:

Пароль:

Регистрация

www.partskatalog.ru Все каталоги Запчасти Mercury Запчасти Suzuki Запчасти Tohatsu Запчасти Honda Контакты



УВАЖАЕМЫЕ КЛИЕНТЫ!
C 19 ДЕКАБРЯ 2025 ПО 02 МАРТА 2026 ГОДА ОТДЕЛ ЗАПЧАСТЕЙ И СЕРВИС РАБОТАТЬ НЕ БУДУТ
ПРОДАЖА ЛОДОЧНЫХ МОТОРОВ В ШТАТНОМ РЕЖИМЕ
ОБ ИЗМЕНЕНИЯХ В ГРАФИКЕ РАБОТЫ ЧИТАЙТЕ НА САЙТА



назад Раздел:   вперёд

Вернуться к выбору узлов мотора


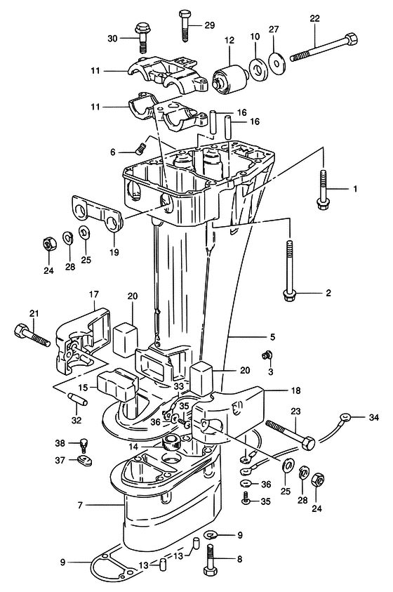
ДЕТАЛИРОВКА ДЛЯ МОДЕЛИ: SUZUKI DT9.9S V

Корпус вала передачи


Год выпуска двигателя: 1997

Цвет: California Gray Metallic

Номер на
рисунке
АртикулНаименованиеQTYКол-во
на складе
Цена
109118-08106-000

Болт (8x50) - Bolt (8x50) (Bolt (8x50) ) (Bolt (8x50))

под заказ390 руб.
209118-08098-000

Болт (8x85) - Bolt (8x85) (Bolt (8x85))

под заказ570 руб.
209118-08172-000

   (актуальный код замены) Болт (8x85) - Bolt (8x85)

под заказ570 руб.
209118-08172-000

Болт (8x85) - Bolt (8x85) (Bolt (8x85))

под заказ570 руб.
352124-93901-000

Запчасть снята с производства - The Spare Part Is Laid Off (ID:8) (The Spare Part Is Laid Off)

под заказ0 руб.
552111-93920-01T

(MODEL:87, 88 ->2111-93943-0ED USED WITH 52124-93901, 52125-93900, 52126-93900, 41811-98500, 09117-06052)

под заказнет сведений
509117-06052-000

Запчасть снята с производства - The Spare Part Is Laid Off (The Spare Part Is Laid Off)

под заказ0 руб.
552111-93944-0ED

Корпус вала передачи (l / ul) - Housing, Drive Shaft (l/ul) (Housing, Drive Shaft (l/ul))

под заказ0 руб.
555321-90L00-000

Zinc, Protection - Zinc, Protection (Zinc, Protection)

под заказ540 руб.
552111-93920-02M

(MODEL:87, 88 ->2111-93943-0ED USED WITH 52124-93901, 52125-93900, 52126-93900)

под заказнет сведений
552111-93944-0ED

Корпус вала передачи (l / ul) - Housing, Drive Shaft (l/ul) (Housing, Drive Shaft (l/ul))

под заказ0 руб.
552111-93930-01T

(MODEL:87, 88 ->2111-93951-0ED USED WITH 52124-93901, 52125-93900, 52126-93900, 09117-06052, 41811-98500)

под заказнет сведений
509117-06052-000

Запчасть снята с производства - The Spare Part Is Laid Off (The Spare Part Is Laid Off)

под заказ0 руб.
552111-93952-0ED

Запчасть снята с производства - The Spare Part Is Laid Off (The Spare Part Is Laid Off)

под заказ0 руб.
555321-90L00-000

Zinc, Protection - Zinc, Protection (Zinc, Protection)

под заказ540 руб.
552111-93930-02M

(MODEL:87, 88 ->2111-93951-0ED USED WITH 52124-93901, 52125-93900, 52126-93900, 09117-06052, 41811-98500)

под заказнет сведений
509117-06052-000

Запчасть снята с производства - The Spare Part Is Laid Off (The Spare Part Is Laid Off)

под заказ0 руб.
552111-93952-0ED

Запчасть снята с производства - The Spare Part Is Laid Off (The Spare Part Is Laid Off)

под заказ0 руб.
555321-90L00-000

Zinc, Protection - Zinc, Protection (Zinc, Protection)

под заказ540 руб.
552111-93943-0ED

Корпус вала передачи (l / ul) - Housing, Drive Shaft (l/ul) (MODEL:87~00 <-2111-93942-0ED) (Housing, Drive Shaft (l/ul))

под заказ0 руб.
552111-93944-0ED

   (актуальный код замены) Запчасть снята с производства - The Spare Part Is Laid Off

под заказ0 руб.
552111-93944-0ED

Корпус вала передачи (l / ul) - Housing, Drive Shaft (l/ul) (Housing, Drive Shaft (l/ul))

под заказ0 руб.
552111-93951-0ED

Запчасть снята с производства - The Spare Part Is Laid Off (MODEL:87~00 <-2111-93932-0ED) (The Spare Part Is Laid Off)

под заказ0 руб.
552111-93952-0ED

   (актуальный код замены) Запчасть снята с производства - The Spare Part Is Laid Off

под заказ0 руб.
552111-93952-0ED

Запчасть снята с производства - The Spare Part Is Laid Off (The Spare Part Is Laid Off)

под заказ0 руб.
652117-94400-000

Трубка контрольной струи - Tube, Water Inspection (Tube, Water Inspection)

под заказ330 руб.
752131-93902-0ED

Удлинитель копуса - Case, Extension (TYPE:UL <-2131-93901-02M) (Case, Extension)

под заказ0 руб.
752131-93903-0ED

   (актуальный код замены) Запчасть снята с производства - The Spare Part Is Laid Off

под заказ0 руб.
752131-93903-0ED

Удлинитель копуса - Case, Extension (Case, Extension)

под заказ0 руб.
809117-08047-000

Болт (8x30) - Bolt (8x30) (TYPE:UL ) (Bolt (8x30))

10 шт520 руб.
955113-93E00-000

Прокладка, Картер коробки передач - Gasket, Gear Case (Gasket, Gear Case)

13 шт1410 руб.
1054121-92D00-000

Стопор, вышеr Thrust - Stopper, Upr Thrust (Cushion, upper mount # <-4121-93900 ) (Stopper, Upr Thrust)

под заказ420 руб.
1154137-93902-000

Крышка, вышеr Крепление - Cover, Upr Mount (<-4137-93901) (Cover, Upr Mount)

под заказ2000 руб.
1154137-90L00-000

   (актуальный код замены) Крышка, вышеr Крепление - Cover, Upr Mount

под заказ2000 руб.
1154137-90L00-000

Крышка, вышеr Крепление - Cover, Upr Mount (Cover, Upr Mount)

под заказ2000 руб.
1254130-93901-000

Крепление, вышеr - Mount, Upr (Mount, Upr)

под заказ3340 руб.
1254130-93910-000

Запчасть снята с производства - The Spare Part Is Laid Off (E28) (The Spare Part Is Laid Off)

под заказ0 руб.
1309202-06023-000

Штифт (6x10) - Pin (6x10) (TYPE:UL ) (Pin (6x10))

6 шт290 руб.
1409320-13022-000

Втулка - Bush (TYPE:UL, <-9307-13001 ) (Bush)

под заказ710 руб.
1554151-93900-000

Крепление нижнего упора - Mount, Lwr Thrust (Mount, lower thrust ) (Mount, Lwr Thrust)

2 шт980 руб.
1609202-06019-000

Штифт (6x35) - Pin (6x35) (Shear pin (6x35) (sus) ) (Pin (6x35))

под заказ170 руб.
1754211-93910-0ED

Крышка, Lwr Крепление Stbd - Cover, Lwr Mount Stbd (<-4210-93910-02M) (Cover, Lwr Mount Stbd)

под заказ0 руб.
1754211-93911-0ED

   (актуальный код замены) Запчасть снята с производства - The Spare Part Is Laid Off

под заказ0 руб.
1754211-93911-0ED

Крышка, Lwr Крепление Stbd - Cover, Lwr Mount Stbd (Cover, Lwr Mount Stbd)

под заказ0 руб.
1854221-93910-0ED

Крышка, Lwr Крепление Port - Cover, Lwr Mount Port (<-4221-93910-02M) (Cover, Lwr Mount Port)

под заказ6050 руб.
1854221-93911-0ED

   (актуальный код замены) Крышка, Lwr Крепление Port - Cover, Lwr Mount Port

под заказ6050 руб.
1854221-93911-0ED

Крышка, Lwr Крепление Port - Cover, Lwr Mount Port (Cover, Lwr Mount Port)

под заказ6050 руб.
1954125-93901-000

Крепление верхнего упора Reverse - Mount, Upr Thrust Reverse (Mount, upper thrust reverse ) (Mount, Upr Thrust Reverse)

под заказ810 руб.
2054167-93900-000

Крепление, Lwr Side - Mount, Lwr Side (Mount, lower side ) (Mount, Lwr Side)

под заказ960 руб.
2109117-08056-000

Болт (8x40) - Bolt (8x40) (<-9100-08248) (Bolt (8x40))

под заказ2010 руб.
2109117-08056-XC0

   (актуальный код замены) Болт (8x40) - Bolt (8x40)

под заказ2010 руб.
2109117-08056-XC0

Болт (8x40) - Bolt (8x40) (Bolt (8x40))

под заказ2010 руб.
2209100-08209-000

Болт (8x90) - Bolt (8x90) (Bolt (8x90) ) (Bolt (8x90))

под заказ590 руб.
2309118-08137-000

Болт (8x70) - Bolt (8x70) (Bolt (8x70))

под заказ540 руб.
2309118-08170-000

   (актуальный код замены) Болт (8x70) - Bolt (8x70)

под заказ540 руб.
2309118-08170-000

Болт (8x70) - Bolt (8x70) (Bolt (8x70))

под заказ540 руб.
2409140-08016-000

Гайка - Nut (Nut)

под заказ190 руб.
2409140-08023-XC0

Гайка - Nut (Nut)

14 шт190 руб.
2509160-08082-000

Шайба (8.5x16x1.2) - Washer (85x16x12) (Washer (8.5x16x1.2))

13 шт120 руб.
2709160-08084-000

Шайба (8x30x2.5) - Washer (8x30x25) (Stopper ) (Washer (8x30x2.5))

под заказ240 руб.
2809162-08007-000

Шайба с блокировкой - Washer, Lock (Lock washer ) (Washer, Lock)

под заказ160 руб.
2909117-06035-000

Болт (6x45) - Bolt (6x45) (Bolt (6x45) # <-9100-06112 ) (Bolt (6x45))

под заказ370 руб.
3009103-08111-000

Болт - Bolt (Bolt)

под заказ370 руб.
3029103-93J20-000

   (актуальный код замены) Болт - Bolt

под заказ370 руб.
3029103-93J20-000

Болт - Bolt (Bolt, hook lever (8x45) (stbd / port) ) (Bolt)

под заказ370 руб.
3254213-93900-000

Штифт, Lwr Крепление Крышка Knock - Pin, Lwr Mount Cover Knock (Pin, Lwr Mount Cover Knock)

под заказ760 руб.
3254213-93901-000

   (актуальный код замены) Штифт, Lwr Крепление Крышка Knock - Pin, Lwr Mount Cover Knock

1 шт760 руб.
3254213-93901-000

Штифт, Lwr Крепление Крышка Knock - Pin, Lwr Mount Cover Knock (Pin, Lwr Mount Cover Knock)

1 шт760 руб.
3336894-95201-000

Lead (l: 165) - Lead (l:165) (<-6894-95200 ) (Lead (l:165))

под заказ1170 руб.
3436895-87D01-000

Lead (l: 210) - Lead (l:210) (DT9.9:~726659 DT15:~720365 ) (Lead (l:210))

1 шт1420 руб.
3436894-87D00-000

Lead (l: 165) - Lead (l:165) (MODEL:96~00 ) (Lead (l:165))

2 шт1350 руб.
3436894-94401-000

Lead (l: 195) - Lead (l:195) (Lead (l, ll) # DT9.9:726660~ DT15:720366~ MODEL:88~95 ) (Lead (l:195))

под заказ1170 руб.
3509125-05050-000

Винт (5x8) - Screw (5x8) (Screw (5x8))

под заказ150 руб.
3609161-05114-000

Шайба (5.2x11x1) - Washer (52x11x1) (Washer (5.2x11.0x1.0) ) (Washer (5.2x11x1))

под заказ290 руб.
3741811-98500-000

Zinc, Protection - Zinc, Protection (Zinc, Protection)

3 шт540 руб.
3755321-90L00-000

   (актуальный код замены) Zinc, Protection

под заказ540 руб.
3755321-90L00-000

Zinc, Protection - Zinc, Protection (Zinc, Protection)

под заказ540 руб.
3809116-06105-000

Болт (6x15) - Bolt (6x15) (Bolt (6x15))

под заказ230 руб.
3809116-06094-000

   (актуальный код замены) Болт (6x15) - Bolt (6x15)

20 шт270 руб.
3809116-06094-000

Болт (6x15) - Bolt (6x15) (Bolt (6x15))

20 шт270 руб.


Время выполнения запроса 3.6201200485229 сек.

 
 

данный сайт носит информационный характер и не является публичной офертой

склад запчастей для водомоторной техники