Купить запчасти Suzuki модель 2000 года - Водяной насос
вконтакте

Контактный телефон: +7 (981) 121-46-93, +7 (800) 200-90-76 , Email: parts-katalog@yandex.ru, где купить

 
 

  Логин:

Пароль:

Регистрация

www.partskatalog.ru Все каталоги Запчасти Mercury Запчасти Suzuki Запчасти Tohatsu Запчасти Honda Контакты



УВАЖАЕМЫЕ КЛИЕНТЫ!
C 19 ДЕКАБРЯ 2025 ПО 02 МАРТА 2026 ГОДА ОТДЕЛ ЗАПЧАСТЕЙ И СЕРВИС РАБОТАТЬ НЕ БУДУТ
ПРОДАЖА ЛОДОЧНЫХ МОТОРОВ В ШТАТНОМ РЕЖИМЕ
ОБ ИЗМЕНЕНИЯХ В ГРАФИКЕ РАБОТЫ ЧИТАЙТЕ НА САЙТА



назад Раздел:   вперёд

Вернуться к выбору узлов мотора


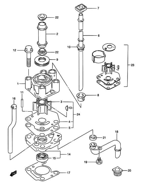
ДЕТАЛИРОВКА ДЛЯ МОДЕЛИ: SUZUKI DT9.9S Y

Водяной насос


Год выпуска двигателя: 2000

Номер на
рисунке
АртикулНаименованиеQTYКол-во
на складе
Цена
117410-93910-000

Корпус водяного насоса - Case, Water Pump (E40 ) (Case, Water Pump)

под заказ8020 руб.
1SK17410-93910

   (не оригинальный аналог) Корпус помпы охлаждения Skipper для Suzuki DT9.9-15

0 шт3953 руб.
117410-93910

   (не оригинальный аналог) Корпус помпы охлаждения Suzuki 17410-93910

под заказ6510 руб.
117411-93901-000

Корпус водяного насоса - Case, Water Pump (Case, Water Pump)

3 шт8360 руб.
1SK17411-93901

   (не оригинальный аналог) Корпус помпы охлаждения Skipper для Suzuki DT9.9-15, DF9.9-15

0 шт3497 руб.
217431-93921-000

Трубка сальника водяного насоса (x) - Tube, Water Pump Seal (x) (Tube, water pump seal (ul) # <-7431-93920 ) (Tube, Water Pump Seal (x))

под заказ1380 руб.
317461-93902-000

Крыльчатка водяного насоса - Impeller, Water Pump (<-7461-93901) (Impeller, Water Pump)

под заказ2520 руб.
317461-939M0-000

   (актуальный код замены) Крыльчатка водяного насоса - Impeller, Water Pump

38 шт2600 руб.
3SC-WT114

   (не оригинальный аналог) Крыльчатка помпы охлаждения двигателя Suzuki SC-WT114

под заказ950 руб.
3SC-WT114

   (не оригинальный аналог) Крыльчатка помпы охлаждения двигателя Suzuki SC-WT114

под заказ950 руб.
317461-939M0-000

Крыльчатка водяного насоса - Impeller, Water Pump (Impeller, Water Pump)

38 шт2600 руб.
417471-93902-000

Панель в нижней части корпуса помпы - Panel, Pump Case Under (Panel, pump case under ) (Panel, Pump Case Under)

10 шт720 руб.
417471-93912-000

Панель в нижней части корпуса помпы - Panel, Pump Case Under (E40 ) (Panel, Pump Case Under)

под заказ1740 руб.
517472-93910-000

Прокладка панели корпуса помпы - Gasket, Pump Case Panel (<-7472-93901) (Gasket, Pump Case Panel)

под заказ420 руб.
5SM-17472-93911-000

   (не оригинальный аналог) Прокладка SM-17472-93911-000 панели корпуса помпы

1 шт130 руб.
517472-93911-000

   (актуальный код замены) Прокладка панели корпуса помпы - Gasket, Pump Case Panel

10 шт480 руб.
517472-93911-000

Прокладка панели корпуса помпы - Gasket, Pump Case Panel (Gasket, pump case panel ) (Gasket, Pump Case Panel)

10 шт480 руб.
617561-93901-000

Водяная трубка (l) - Tube, Water (l) (<-7561-93900) (Tube, Water (l))

под заказ2020 руб.
617561-90L00-000

   (актуальный код замены) Водяная трубка (l) - Tube, Water (l)

под заказ2020 руб.
617561-90L00-000

Водяная трубка (l) - Tube, Water (l) (Tube, Water (l))

под заказ2020 руб.
617561-93911-000

Водяная трубка (s) - Tube, Water (s) (<-7561-93910) (Tube, Water (s))

под заказ1490 руб.
617561-90L10-000

   (актуальный код замены) Водяная трубка (s) - Tube, Water (s)

1 шт1490 руб.
617561-90L10-000

Водяная трубка (s) - Tube, Water (s) (Tube, Water (s))

1 шт1490 руб.
617561-93921-000

Водяная трубка (x) - Tube, Water (x) (<-7561-93920) (Tube, Water (x))

под заказ3440 руб.
617561-93922-000

   (актуальный код замены) Водяная трубка (x) - Tube, Water (x)

под заказ3440 руб.
617561-93922-000

Водяная трубка (x) - Tube, Water (x) (Tube, Water (x))

под заказ3440 руб.
717563-93900-000

Верхний пыльник водяной трубки - Grommet, Water Tube Upr (Rubber, water tube, upper ) (Grommet, Water Tube Upr)

5 шт290 руб.
717563-93901-000

   (актуальный код замены) Верхний пыльник водяной трубки - Grommet, Water Tube Upr

7 шт290 руб.
817564-93900-000

Втулка корпуса водяной помпы - Bush, Water Pump Case (Bush, water pump case ) (Bush, Water Pump Case)

под заказ290 руб.
817564-93901-000

   (актуальный код замены) Втулка корпуса водяной помпы - Bush, Water Pump Case

3 шт370 руб.
917417-93910-000

Пыльник корпуса помпы - Grommet, Pump Case (<-7417-93900 ) (Grommet, Pump Case)

под заказ350 руб.
917417-93911-000

   (актуальный код замены) Пыльник корпуса помпы - Grommet, Pump Case

29 шт350 руб.
1017562-93900-000

Пыльник водяной трубки - Grommet, Water Tube (Grommet, Water Tube)

под заказ130 руб.
1017563-94J00-000

   (актуальный код замены) Пыльник водяной трубки - Grommet, Water Tube

7 шт140 руб.
1017563-94J00-000

Пыльник водяной трубки - Grommet, Water Tube (Grommet, Water Tube)

7 шт140 руб.
1109202-04014-000

Штифт (4x19) - Pin (4x19) (Pin (4x19) ) (Pin (4x19))

10 шт150 руб.
1209116-08089-000

Болт (8x55) - Bolt (8x55) (Bolt (8x55))

под заказ330 руб.
1209116-08159-000

   (актуальный код замены) Болт (8x55) - Bolt (8x55)

под заказ330 руб.
1209116-08159-000

Болт (8x55) - Bolt (8x55) (Bolt (8x55))

под заказ330 руб.
1317462-93990-000

Ключ - Key (Key)

под заказ400 руб.
1309420-03009-000

   (актуальный код замены) Ключ - Key

14 шт400 руб.
13SC-WT224

   (не оригинальный аналог) Шпонка крыльчатки Suzuki SC-WT224

под заказ470 руб.
1309420-03009-000

Ключ - Key (Key)

14 шт400 руб.
1309420-03009-000

Ключ - Key (Key)

14 шт400 руб.
1417450-93921-000

Корпус водозаборника - Housing, Water Inlet (Housing, water inlet # E08, E13, E36, E38, E40 <-7450-93920 ) (Housing, Water Inlet)

под заказ7640 руб.
1417450-93940-000

Корпус водозаборника - Housing, Water Inlet (<-7450-93930) (Housing, Water Inlet)

под заказ2740 руб.
1417450-93960-000

   (актуальный код замены) Корпус водозаборника - Housing, Water Inlet

1 шт2980 руб.
14SC-FT230

   (не оригинальный аналог) Основание помпы охлаждения Suzuki SC-FT230

под заказ2370 руб.
14SC-FT230

   (не оригинальный аналог) Основание помпы охлаждения Suzuki SC-FT230

под заказ2370 руб.
1417450-93960-000

Корпус водозаборника - Housing, Water Inlet (Housing, Water Inlet)

1 шт2980 руб.
1509289-12003-000

Сальник (12x26x10) - Seal, Oil (12x26x10) (Seal, oil ) (Seal, Oil (12x26x10))

51 шт890 руб.
15SK09289-12003

   (не оригинальный аналог) Сальник ведущего вала Skipper для Suzuki Модели техники: DT9.9-15, DF9.9-15

1 шт133 руб.
15SC-OL300

   (не оригинальный аналог) Сальник редуктора Suzuki SC-OL300

под заказ240 руб.
1617453-93901-000

Дренаж ввода воды - Drain, Water Inlet (<-7453-93900 ) (Drain, Water Inlet)

5 шт550 руб.
1717452-93910-000

Прокладка корпуса водозаборника - Gasket, Water Inlet Housing (<-7452-93901 ) (Gasket, Water Inlet Housing)

17 шт600 руб.
17SM-17452-93910-000

   (не оригинальный аналог) Прокладка SM-17452-93910-000 под основание помпы

под заказ130 руб.
17SK17452-93910

   (не оригинальный аналог) Прокладка водяного насоса Skipper для Suzuki DT9.9-15, DF9.9-15

0 шт122 руб.
1817520-93902-000

Водяная трубка вход - Tube, Water Inlet (<-7520-93901) (Tube, Water Inlet)

под заказ760 руб.
1817520-94J01-000

   (актуальный код замены) Водяная трубка вход - Tube, Water Inlet

7 шт990 руб.
1817520-94J01-000

Водяная трубка вход - Tube, Water Inlet (Tube, Water Inlet)

7 шт990 руб.
1909100-06106-000

Болт (6x9) - Bolt (6x9) (Bolt (6x9) ) (Bolt (6x9))

под заказ160 руб.
2009308-10010-000

Пыльник нижней трубки водозаборника - Grommet, Water Inlet Tube Lwr (Grommet, Water Inlet Tube Lwr)

под заказ240 руб.
2059317-94J00-000

   (актуальный код замены) Пыльник нижней трубки водозаборника - Grommet, Water Inlet Tube Lwr

7 шт270 руб.
2059317-94J00-000

Пыльник нижней трубки водозаборника - Grommet, Water Inlet Tube Lwr (Grommet, Water Inlet Tube Lwr)

7 шт270 руб.
2109308-10011-000

Пыльник - Grommet (<-9320-10046 ) (Grommet)

под заказ430 руб.
2109308-10019-000

   (актуальный код замены) Пыльник - Grommet

4 шт510 руб.
2217432-93900-000

Пыльник, Водяной насос - Grommet, Water Pump (Grommet (ul) # E13, E36, E40 ) (Grommet, Water Pump)

9 шт430 руб.
2317400-93911-000

Ремкомплект водяного насоса - Kit, Water Pump Repair (E40) (Kit, Water Pump Repair)

1 шт9700 руб.
2317400-93913-000

   (актуальный код замены) Ремкомплект водяного насоса - Kit, Water Pump Repair

9 шт9700 руб.
23SK17400-93911-2

   (не оригинальный аналог) Пластина помпы Skipper для Suzuki DT9,9-DT15

0 шт142 руб.
23SK17400-93911

   (не оригинальный аналог) Ремкомплект помпы охлаждения Skipper

0 шт1368 руб.
2317400-93912-000

Ремкомплект водяного насоса - Kit, Water Pump Repair (Kit, Water Pump Repair)

под заказ7780 руб.
2317400-93913-000

   (актуальный код замены) Ремкомплект водяного насоса - Kit, Water Pump Repair

9 шт9700 руб.
2417400-93950-000

Ремкомплект водяного насоса - Kit, Water Pump Repair (OPT) (Kit, Water Pump Repair)

под заказ3080 руб.
2417400-93951-000

   (актуальный код замены) Ремкомплект водяного насоса - Kit, Water Pump Repair

11 шт3100 руб.
2417400-93951-000

Ремкомплект водяного насоса - Kit, Water Pump Repair (Kit, Water Pump Repair)

11 шт3100 руб.
24SK17400-93951P

   (не оригинальный аналог) Ремкомплект помпы Performance Skipper для Suzuki DT9.9-15, DF9.9-15

0 шт1825 руб.


Время выполнения запроса 1.6573629379272 сек.

 
 

данный сайт носит информационный характер и не является публичной офертой

склад запчастей для водомоторной техники