Комплектующие на лодочный подвесной мотор Сузуки модель 2003 года - Запчасти для дистанционного управления
вконтакте

Контактный телефон: +7 (981) 121-46-93, +7 (800) 200-90-76 , Email: parts-katalog@yandex.ru, где купить

 
 

  Логин:

Пароль:

Регистрация

www.partskatalog.ru Все каталоги Запчасти Mercury Запчасти Suzuki Запчасти Tohatsu Запчасти Honda Контакты



УВАЖАЕМЫЕ КЛИЕНТЫ!
C 19 ДЕКАБРЯ 2025 ПО 02 МАРТА 2026 ГОДА ОТДЕЛ ЗАПЧАСТЕЙ И СЕРВИС РАБОТАТЬ НЕ БУДУТ
ПРОДАЖА ЛОДОЧНЫХ МОТОРОВ В ШТАТНОМ РЕЖИМЕ
ОБ ИЗМЕНЕНИЯХ В ГРАФИКЕ РАБОТЫ ЧИТАЙТЕ НА САЙТА



назад Раздел:   вперёд

Вернуться к выбору узлов мотора


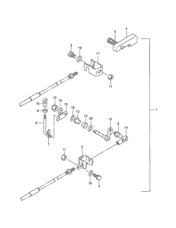
ДЕТАЛИРОВКА ДЛЯ МОДЕЛИ: SUZUKI DT9.9SK3(E1) K3

Запчасти для дистанционного управления


Год выпуска двигателя: 2003

Номер на
рисунке
АртикулНаименованиеQTYКол-во
на складе
Цена
167130-93820-000

Комплект для установки дистанционного управления - Parts Set, Remocon (Parts Set, Remocon)

6 шт18480 руб.
1KDU_S9.9-15

   (не оригинальный аналог) Комплект KDU_S9.9-15 подключения ДУ на моторы Suzuki DT9.9 / DT15

2 шт7800 руб.
1KDU_S9.9-15

  (аналог) Комплект KDU_S9.9-15 подключения ДУ на моторы Suzuki DT9.9 / DT15 - код 67130-93820-000

 2 шт шт7800 руб.
267340-93900-000

Держатель троссика дистанционного управления (газ) - Holder, Remocon Cable (throttle) (Holder, remo-con cable ) (Holder, Remocon Cable (throttle))

1 шт2980 руб.
329117-93J20-000

Болт - Bolt (Bolt (6x15) # Bolt (6x15); ) (Bolt)

под заказ340 руб.
467440-93900-000

Направляющая тросика сцепления - Guide, Clutch Cable (Guide, clutch calbe ) (Guide, Clutch Cable)

под заказ3170 руб.
509440-09042-000

Пружина - Spring (Spring, steering adjuster ) (Spring)

10 шт190 руб.
609119-06047-000

Стержень - Pivot (Pivot, ball # Pawl pivot; ) (Pivot)

21 шт520 руб.
709209-05017-000

Штифт - Pin (Connector ) (Pin)

10 шт200 руб.
809140-05005-000

Гайка - Nut (Nut)

10 шт270 руб.
967413-93900-000

Тяга, Дистанционное управление Дроссель - Rod, Remote Control Throttle (Rod, remo-con throttle ) (Rod, Remote Control Throttle)

под заказ1260 руб.
1009159-08059-000

Гайка - Nut (Nut, clutch lever ) (Nut)

13 шт390 руб.
1129141-93J00-000

Гайка - Nut (Nut)

18 шт480 руб.
1267410-93501-000

Рычаг дистанционного управления дросселем - Lever, Remocon Throttle (Lever, Remocon Throttle)

под заказ8790 руб.
1267410-90L00-000

   (актуальный код замены) Рычаг дистанционного управления дросселем - Lever, Remocon Throttle

под заказ8790 руб.
1267410-90L00-000

Рычаг дистанционного управления дросселем - Lever, Remocon Throttle (Lever, Remocon Throttle)

под заказ8790 руб.
1309306-08016-000

Втулка - Bush (Bush)

10 шт190 руб.
1467466-95200-000

Коннектор - Connector (Connector, throttle cable # Connector, remo-con throttle; ) (Connector)

18 шт560 руб.
1567417-93900-000

Рычаг, Remocon Дроссель - Arm, Remocon Throttle (Arm, remo-con throttle ) (Arm, Remocon Throttle)

под заказ960 руб.
1619131-95502-000

Коннектор - Connector (Connector, oil pump no.2 # Connector, throttle lever; ) (Connector)

21 шт530 руб.
1767341-94302-000

Держатель кабеля дистанционного управления - Holder, Remocon Cable (Holder, remo-con cable # Holder, remo-con cable; ) (Holder, Remocon Cable)

6 шт1660 руб.
1809164-08017-000

Шайба - Washer (Washer)

под заказ160 руб.
1909160-06082-000

Шайба (6.5x13x1.0) - Washer (65x13x10) (Washer (6.5x13x1.0))

7 шт150 руб.
2009160-08059-000

Шайба (8.5x18x1.6) - Washer (85x18x16) (Washer (8.5x18x1.6) # Washer; ) (Washer (8.5x18x1.6))

9 шт120 руб.


Время выполнения запроса 4.4564530849457 сек.

 
 

данный сайт носит информационный характер и не является публичной офертой

склад запчастей для водомоторной техники