Подобрать оригинальные запчасти Suzuki модель 2006 года - Корпус вала передачи
вконтакте

Контактный телефон: +7 (981) 121-46-93, +7 (800) 200-90-76 , Email: parts-katalog@yandex.ru, где купить

 
 

  Логин:

Пароль:

Регистрация

www.partskatalog.ru Все каталоги Запчасти Mercury Запчасти Suzuki Запчасти Tohatsu Запчасти Honda Контакты

назад Раздел:   вперёд

Вернуться к выбору узлов мотора


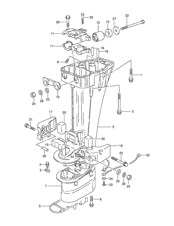
ДЕТАЛИРОВКА ДЛЯ МОДЕЛИ: SUZUKI DT9.9SK6(E1) K6

Корпус вала передачи


Год выпуска двигателя: 2006

Номер на
рисунке
АртикулНаименованиеQTYКол-во
на складе
Цена
129118-93J00-000

Болт (8x50) - Bolt (8x50) (Bolt (8x50);) (Bolt (8x50))

под заказ440 руб.
109118-08168-000

   (актуальный код замены) Болт (8x50) - Bolt (8x50)

под заказ440 руб.
109118-08168-000

Болт (8x50) - Bolt (8x50) (Bolt (8x50))

под заказ440 руб.
209118-08098-000

Болт (8x85) - Bolt (8x85) (Bolt (8x85);) (Bolt (8x85))

под заказ570 руб.
209118-08172-000

   (актуальный код замены) Болт (8x85) - Bolt (8x85)

под заказ570 руб.
209118-08172-000

Болт (8x85) - Bolt (8x85) (Bolt (8x85))

под заказ570 руб.
341811-98500-000

Zinc, Protection - Zinc, Protection (Zinc, protection; Type:s/l) (Zinc, Protection)

3 шт540 руб.
355321-90L00-000

   (актуальный код замены) Zinc, Protection

под заказ540 руб.
355321-90L00-000

Zinc, Protection - Zinc, Protection (Zinc, Protection)

под заказ540 руб.
409116-06094-000

Болт (6x15) - Bolt (6x15) (Bolt (6x15); Type:s/l ) (Bolt (6x15))

20 шт270 руб.
552111-93951-0ED

Запчасть снята с производства - The Spare Part Is Laid Off (Type:s) (The Spare Part Is Laid Off)

под заказ0 руб.
552111-93952-0ED

   (актуальный код замены) Запчасть снята с производства - The Spare Part Is Laid Off

под заказ0 руб.
552111-93952-0ED

Запчасть снята с производства - The Spare Part Is Laid Off (The Spare Part Is Laid Off)

под заказ0 руб.
552111-93952-0EP

Корпус вала передачи (s) - Housing, Drive Shaft (s) (Type:s, model:02~) (Housing, Drive Shaft (s))

под заказ19010 руб.
552111-90L00-0EP

   (актуальный код замены) Корпус вала передачи (s) - Housing, Drive Shaft (s)

1 шт38450 руб.
552111-90L00-0EP

Корпус вала передачи (s) - Housing, Drive Shaft (s) (Housing, Drive Shaft (s))

1 шт38450 руб.
552111-93943-0ED

Корпус вала передачи (l / ul) - Housing, Drive Shaft (l/ul) (Type:l/x) (Housing, Drive Shaft (l/ul))

под заказ0 руб.
552111-93944-0ED

   (актуальный код замены) Запчасть снята с производства - The Spare Part Is Laid Off

под заказ0 руб.
552111-93944-0ED

Корпус вала передачи (l / ul) - Housing, Drive Shaft (l/ul) (Housing, Drive Shaft (l/ul))

под заказ0 руб.
552111-93943-0EP

Корпус вала передачи (l / ul) - Housing, Drive Shaft (l/ul) (Type:l/x, model:02~05) (Housing, Drive Shaft (l/ul))

под заказ27840 руб.
552111-90L10-0EP

   (актуальный код замены) Корпус вала передачи (l / ul) - Housing, Drive Shaft (l/ul)

под заказ27840 руб.
552111-90L10-0EP

Корпус вала передачи (l / ul) - Housing, Drive Shaft (l/ul) (Housing, Drive Shaft (l/ul))

под заказ27840 руб.
552111-90L10-0EP

Корпус вала передачи (l / ul) - Housing, Drive Shaft (l/ul) (Housing, Drive Shaft (l/ul))

под заказ27840 руб.
552111-93944-0EP

Корпус вала передачи (l / ul) - Housing, Drive Shaft (l/ul) (Type:l/x, dt9.9:510681~, dt9.9k:511328~, dt15:512723~, dt15k:510031~) (Housing, Drive Shaft (l/ul))

1 шт27840 руб.
552111-90L10-0EP

   (актуальный код замены) Корпус вала передачи (l / ul) - Housing, Drive Shaft (l/ul)

под заказ27840 руб.
552111-90L10-0EP

Корпус вала передачи (l / ul) - Housing, Drive Shaft (l/ul) (Housing, Drive Shaft (l/ul))

под заказ27840 руб.
652117-94400-000

Трубка контрольной струи - Tube, Water Inspection (Tube, water insp; ) (Tube, Water Inspection)

под заказ330 руб.
752131-93902-0ED

Удлинитель копуса - Case, Extension (Type:x) (Case, Extension)

под заказ0 руб.
752131-93903-0ED

   (актуальный код замены) Запчасть снята с производства - The Spare Part Is Laid Off

под заказ0 руб.
752131-93903-0ED

Удлинитель копуса - Case, Extension (Case, Extension)

под заказ0 руб.
752131-93903-0EP

Удлинитель копуса - Case, Extension (Type:x, model:02~ ) (Case, Extension)

под заказ21270 руб.
809117-08047-000

Болт (8x30) - Bolt (8x30) (Bolt (8x30); Type:x ) (Bolt (8x30))

14 шт520 руб.
955113-93E00-000

Прокладка, Картер коробки передач - Gasket, Gear Case (Dt9.9:~781784, dt9.9k:~781406, dt15:~788694, dt15k:~780070 ) (Gasket, Gear Case)

13 шт1410 руб.
1054121-92D00-000

Стопор, вышеr Thrust - Stopper, Upr Thrust (Cushion, upper mount # Cushion, upper mount; ) (Stopper, Upr Thrust)

под заказ420 руб.
1154137-93903-000

Крышка, вышеr Крепление - Cover, Upr Mount (Cover, Upr Mount)

под заказ2000 руб.
1154137-90L00-000

   (актуальный код замены) Крышка, вышеr Крепление - Cover, Upr Mount

под заказ2000 руб.
1154137-90L00-000

Крышка, вышеr Крепление - Cover, Upr Mount (Cover, Upr Mount)

под заказ2000 руб.
1254130-93901-000

Крепление, вышеr - Mount, Upr (Mount, Upr)

под заказ3340 руб.
1309202-06023-000

Штифт (6x10) - Pin (6x10) (Type:x ) (Pin (6x10))

6 шт290 руб.
1409320-13022-000

Втулка - Bush (Type:x ) (Bush)

под заказ710 руб.
1554151-93900-000

Крепление нижнего упора - Mount, Lwr Thrust (Mount, lower thrust ) (Mount, Lwr Thrust)

2 шт980 руб.
1609202-06019-000

Штифт (6x35) - Pin (6x35) (Shear pin (6x35) (sus) ) (Pin (6x35))

под заказ170 руб.
1754211-93910-0ED

Крышка, Lwr Крепление Stbd - Cover, Lwr Mount Stbd (Cover, Lwr Mount Stbd)

под заказ0 руб.
1754211-93911-0ED

   (актуальный код замены) Запчасть снята с производства - The Spare Part Is Laid Off

под заказ0 руб.
1754211-93911-0ED

Крышка, Lwr Крепление Stbd - Cover, Lwr Mount Stbd (Cover, Lwr Mount Stbd)

под заказ0 руб.
1754211-93911-0EP

Крышка, Lwr Крепление Stbd - Cover, Lwr Mount Stbd (Model:02~) (Cover, Lwr Mount Stbd)

под заказ7300 руб.
1754211-90L10-0EP

   (актуальный код замены) Крышка нижней опоры Stbd - Cover, Lower Mount Stbd

под заказ7300 руб.
1754211-90L00-0EP

Крышка, Lwr Крепление Stbd - Cover, Lwr Mount Stbd (Cover, Lwr Mount Stbd)

под заказ7300 руб.
1754211-90L10-0EP

   (актуальный код замены) Крышка нижней опоры Stbd - Cover, Lower Mount Stbd

под заказ7300 руб.
1854221-93910-0ED

Крышка, Lwr Крепление Port - Cover, Lwr Mount Port (Cover, Lwr Mount Port)

под заказ6050 руб.
1854221-93911-0ED

   (актуальный код замены) Крышка, Lwr Крепление Port - Cover, Lwr Mount Port

под заказ6050 руб.
1854221-93911-0ED

Крышка, Lwr Крепление Port - Cover, Lwr Mount Port (Cover, Lwr Mount Port)

под заказ6050 руб.
1854221-93911-0EP

Крышка, Lwr Крепление Port - Cover, Lwr Mount Port (Model:02~) (Cover, Lwr Mount Port)

под заказ7780 руб.
1854221-90L10-0EP

   (актуальный код замены) Крышка нижней опоры - Cover, Lower Mount

под заказ7780 руб.
1854221-90L00-0EP

Крышка, Lwr Крепление Port - Cover, Lwr Mount Port (Cover, Lwr Mount Port)

под заказ7780 руб.
1854221-90L10-0EP

   (актуальный код замены) Крышка нижней опоры - Cover, Lower Mount

под заказ7780 руб.
1954125-93901-000

Крепление верхнего упора Reverse - Mount, Upr Thrust Reverse (Mount, upper thrust reverse ) (Mount, Upr Thrust Reverse)

под заказ810 руб.
2054167-93900-000

Крепление, Lwr Side - Mount, Lwr Side (Mount, lower side ) (Mount, Lwr Side)

под заказ960 руб.
2109100-08220-000

Болт (8x40) - Bolt (8x40) (Bolt (8x40);) (Bolt (8x40))

под заказ390 руб.
2109116-08128-000

   (актуальный код замены) Болт (8x40) - Bolt (8x40)

под заказ390 руб.
2109116-08128-000

Болт (8x40) - Bolt (8x40) (Bolt (8x40))

под заказ390 руб.
2109116-08128-000

Болт (8x40) - Bolt (8x40) (Bolt (8x40); Model:03~ ) (Bolt (8x40))

под заказ390 руб.
2209100-08209-000

Болт (8x90) - Bolt (8x90) (Bolt (8x90) # Bolt (8x90); ) (Bolt (8x90))

под заказ590 руб.
2309118-08137-000

Болт (8x70) - Bolt (8x70) (Bolt (8x70);) (Bolt (8x70))

под заказ540 руб.
2309118-08170-000

   (актуальный код замены) Болт (8x70) - Bolt (8x70)

под заказ540 руб.
2309118-08170-000

Болт (8x70) - Bolt (8x70) (Bolt (8x70))

под заказ540 руб.
2409140-08023-XC0

Гайка - Nut (Nut)

14 шт190 руб.
2509160-08082-000

Шайба (8.5x16x1.2) - Washer (85x16x12) (Washer (8.5x16x1.2); ) (Washer (8.5x16x1.2))

13 шт120 руб.
2629103-93J20-000

Болт - Bolt (Bolt, hook lever (8x45) (stbd / port) # Bolt (8x45); ) (Bolt)

под заказ370 руб.
2709160-08084-000

Шайба (8x30x2.5) - Washer (8x30x25) (Stopper # Stopper (8x30x2.5); ) (Washer (8x30x2.5))

под заказ240 руб.
2829162-93J10-000

Шайба (8.2x21.5x3) - Washer (82x215x3) (Lock washer (8.2x15.4x2.0) ) (Washer (8.2x21.5x3))

4 шт130 руб.
2929117-93J00-000

Болт - Bolt (Bolt (6x45); ) (Bolt)

под заказ320 руб.
3054213-93901-000

Штифт, Lwr Крепление Крышка Knock - Pin, Lwr Mount Cover Knock (Pin, Lwr Mount Cover Knock)

1 шт760 руб.
3136894-95201-000

Lead (l: 165) - Lead (l:165) (Lead, mount to housing (l:165); ) (Lead (l:165))

под заказ1170 руб.
3236894-87D00-000

Lead (l: 165) - Lead (l:165) (Lead, swivel to mount (l:165); ) (Lead (l:165))

2 шт1350 руб.
3329125-93J10-000

Винт - Screw (Screw (5x8) # Screw, lead; ) (Screw)

под заказ150 руб.
3309125-05050-000

   (актуальный код замены) Винт (5x8) - Screw (5x8)

под заказ150 руб.
3409161-05114-000

Шайба (5.2x11x1) - Washer (52x11x1) (Washer (5.2x11.0x1.0) # Washer, lead; ~model:01 ) (Washer (5.2x11x1))

под заказ290 руб.


Время выполнения запроса 3.3707599639893 сек.

 
 

данный сайт носит информационный характер и не является публичной офертой

склад запчастей для водомоторной техники